京东物流2024年营收1828亿元:净利润同比大增186.8% 今日,京东物流发布2024年年度业绩报告,全年营收达1828亿元,同比增长9.7%,第四季度营收达521亿元,同比增长10.4%。2024年来自外部客户的收入为1278亿元,同比增长9.6%, 京东物流 2025年03月08日 220 点赞 3 评论 333 浏览
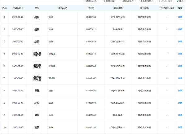
京东物流申请注册多枚商标:战狼、保姆狼、独狼来了 天眼查知识产权信息显示,日前,京东物流关联公司北京京邦达贸易有限公司申请注册战狼”保姆狼”狼族”独狼”商标。商标国际分类为网站服务、运输工具、机械设备等,当前商 京东物流 2025年03月07日 271 点赞 4 评论 410 浏览
投入超7亿福利超法定标准!京东物流春节补贴一线在岗员工:可领3500元补贴 今日,京东黑板报”宣布,今年京东物流持续升级我在京东过大年”福利保障,总投入超7亿元,提供一系列超国家法定标准的福利补贴,让坚守岗位、原地过年的一线员工能够安心工 京东物流 2025年02月11日 182 点赞 2 评论 275 浏览
蛇年天:京东国补3C、家电首批订单已送达 靠谱客2月11日消息,今天是大年初一,蛇年的第一天,京东物流已经在送货上门,将首批蛇年国补订单送达。依托3C、家电行业国补”以旧换新物流服务方案和覆盖中国所有区县市的 京东物流 2025年02月11日 140 点赞 2 评论 212 浏览
京东快递深圳口岸自提点开业:香港用户下单后 口岸自提 据京东物流介绍,为方便香港市民购物,京东近期在港澳下调了运费门槛,香港消费者满188元即可享受免运费送货上门。近期京东快递还在深圳莲塘、罗湖、福田3个口岸开设快递自 京东物流 2025年02月11日 246 点赞 3 评论 372 浏览
京东物流发布JDX20“京鹊”物流无人机:最大载重10公斤 速度98km/h 靠谱客2月9日消息,京东物流最新发布了全新一代JDX20京鹊”多旋翼智慧物流无人机,进一步完善低空物流领域的布局。JDX20京鹊”空机重量小于15公斤,最大载重量达到10公斤, 京东物流 2025年02月09日 271 点赞 4 评论 410 浏览
世纪大互通!京东物流接入天猫后 菜鸟全面接入京东平台 继京东物流接入淘宝天猫之后,近日,菜鸟也全面接入京东平台,为商家和消费者提供全球快递和全球供应链服务,双方系统已基本完成对接。菜鸟的自营快递菜鸟速递、菜鸟大件家 京东物流 2024年11月03日 86 点赞 1 评论 130 浏览
京东物流与菜鸟网络宣布达成合作 菜鸟全面接入京东平台 近日,京东物流与菜鸟网络宣布达成合作,菜鸟网络将全面接入京东平台,为京东的商家和消费者提供全球快递和全球供应链服务。双方的系统已基本完成对接,这标志着菜鸟网络的 京东物流 2024年11月03日 107 点赞 1 评论 162 浏览
京东物流与淘宝天猫达成合作:系统整合已接近尾声 京东物流最近宣布与淘天集团建立合作伙伴关系,将整合其物流服务至淘宝和天猫,为这两个电子商务平台的商家提供全面的物流支持。目前,双方的系统整合已接近尾声,众多商家 京东物流 2024年10月23日 120 点赞 1 评论 181 浏览
京东物流:再度成为快手电商618大促特邀合作伙伴 京东物流宣布再成快手电商618大促特邀合作伙伴。参与本次大促的快手电商商家将享受到京东快递的优先服务。京东物流已经多次与快手电商携手合作,在多个大促节点提供了物流履 京东物流 2024年06月26日 172 点赞 2 评论 260 浏览
京东物流与东方甄选合作 东方甄选上线小时达服务 京东物流与东方甄选近日携手合作,共同打造小时达服务,保障东方甄选商品的快速配送。这一合作的核心在于,东方甄选的商品已入驻京东物流在北京的前置仓,通过达达快送的配 京东物流 2024年05月08日 189 点赞 2 评论 286 浏览
净利润大增218.8%!京东物流全年营收、净利润均创历史新高 靠谱客4月22日消息,今天,京东物流股份有限公司发布2023年第四季度和年度业绩报告,全年净利润达27.6亿元再创历史新高,同比增加了218.8%。财报显示,2023年Q4京东物流营收 京东物流 2024年04月22日 163 点赞 2 评论 246 浏览
京东物流推出“云仓达”服务 实现同城半日达 为了填补市场空白,京东物流推出了“云仓达”服务,通过开放末端站点的配送能力,为经销商提供半日达履约方案,帮助他们打造同城“线上超市”、实现业务增长。经销商可以利 京东物流 2024年04月11日 172 点赞 2 评论 260 浏览