靠谱客3月7日消息,天眼查知识产权信息显示,日前,京东物流关联公司北京京邦达贸易有限公司申请注册战狼”保姆狼”狼族”独狼”商标。
据悉,商标国际分类为网站服务、运输工具、机械设备等,当前商标状态均为等待实质审查。
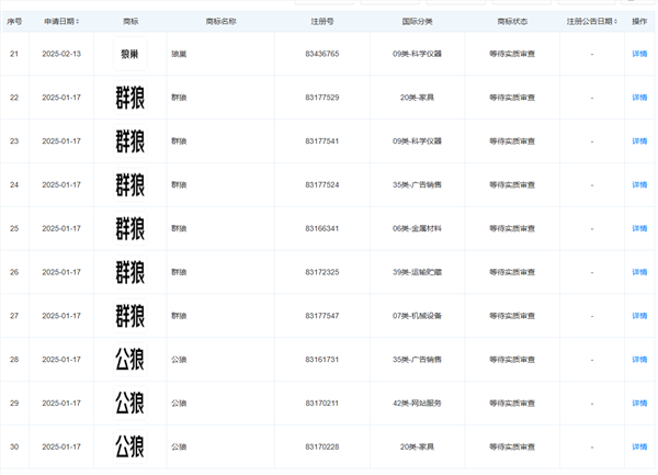
信息显示,今年年初,北京京邦达贸易有限公司还申请了公狼”母狼”群狼”狼蛋”等商标,目前上述商标都处于等待实质审查阶段。



资料显示,北京京邦达贸易有限公司成立于2012年8月,法定代表人为陈岩磊,注册资本10亿人民币。
经营范围含电子产品销售、保健食品销售、食品销售、汽车销售、国际货物运输代理、包装服务、计算机及办公设备维修等,该公司由西安京东信成信息技术有限公司全资持股。
(举报)
发表评论取消回复