靠谱客3月15日消息,昨日,在阿里拍卖平台上,一场引人注目的竞拍活动拉开帷幕,一辆小米SU7 Ultra成为众人瞩目的焦点,吸引了近3万名吃瓜群众围观。
这辆小米SU7 Ultra的竞拍门槛设定为15000元保证金,起始价仅为99元,每次加价幅度为100元。
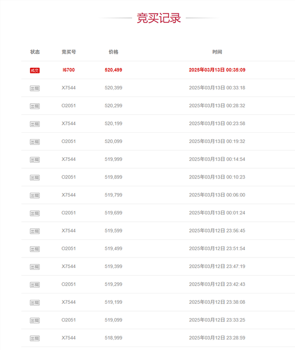
随着竞拍的进行,共有57名竞拍者加入了这场激烈的争夺战。价格从99元一路飙升至40万元,此时,只剩下两人仍在奋勇出价。

从晚上19点直至深夜24点,这场拉锯战持续了整整5个小时。最终,两人均未拍得。
另一位竞拍者以520499元的高价成功拍下这辆小米SU7 Ultra,与原价52.99万元相比,仅相差了9500元。
值得注意的是,本次竞价活动特别设置了延时出价功能。这意味着,在竞价活动即将结束的前5分钟内,只要有新的出价出现,竞拍时间就会自动延长5分钟。这一机制正是导致竞拍迟迟未能落下帷幕的重要原因。

(举报)
发表评论取消回复