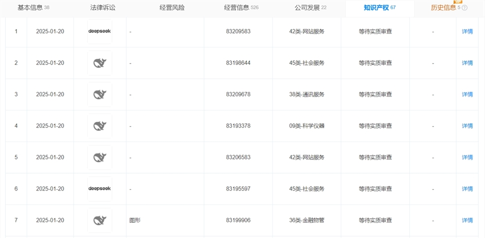
近日,天眼查知识产权信息平台披露了一则关于杭州深度求索人工智能基础技术研究有限公司(以下简称“杭州深度求索”)的重要动态。据悉,该公司近期提交了多枚品牌标识图形商标的注册申请,这些商标的国际分类涵盖了科学仪器、通讯服务以及网站服务等多个领域。目前,这些商标均处于等待实质审查的阶段。

值得一提的是,杭州深度求索在商标布局方面已颇具成效。此前,该公司已成功注册了包括“DEEPSEEK”及“深度求索”在内的多枚商标,为其品牌建设和知识产权保护奠定了坚实基础。
公开资料显示,杭州深度求索成立于2023年7月,法定代表人为裴湉,注册资本为1000万人民币。公司的经营范围广泛,涵盖了工程和技术研究与试验发展、软件开发、计算机系统服务、信息系统集成服务、人工智能应用软件开发以及数据处理服务等多个高科技领域。
(举报)
发表评论取消回复