靠谱客12月31日消息,据媒体报道,近日,小米科技有限公司申请注册了多枚其第二款新车小米YU7的商标。
据天眼查知识产权信息显示,小米科技有限责任公司申请注册多枚了XIAOMI YU7”XIAOMI YU”商标,国际分类包含运输贮藏、运输工具、科学仪器等,当前商标状态均为等待实质审查。

自12月9日小米官方突然官宣首款SUV,定名为小米YU7”以来,新车的消息就一直被大家所关注。据悉,小米YU7”已在工信部官网公示, 这次申请注册小米YU7的多款商标,是在为2025年6、7月正式量产上市做准备。
值得关注的是,不久前,小米YU7”这个商标已经被抢先注册了。
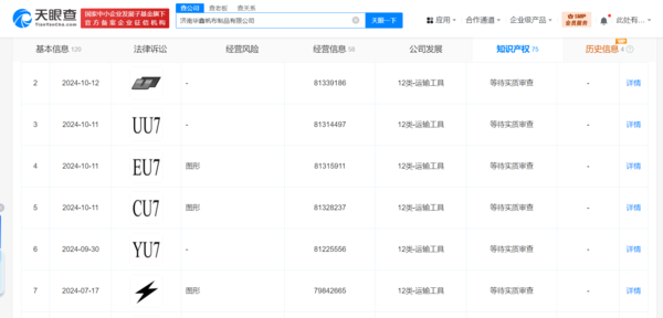
据天眼查知识产权信息显示,今年9月,一家位于济南的公司申请注册了YU7”商标,国际分类为运输工具,目前该商标正处于等待实质审查的状态。
此前,自然人侯某某也曾尝试注册YU7”商标,但被驳回。
另外,这家济南公司似乎对汽车行业有着浓厚的兴趣,它还申请注册了一系列与汽车相关的商标,如UU7”、EU7”、CU7”、ULTRA”、SU ULTRA”、SU7PLUS”、SU7PRO”、SU7MAX”以及带有中文名称的苏九”。

值得注意的是,并非所有的商标申请都获得了批准,部分已被驳回。
(举报)
发表评论取消回复