ICDREAM期望能给您带来更多有价值、有深度的信息!
ICDREAM力图打造成为集成电路圈提供生活、学习、工作、合作等信息的专业平台,敬请关注!

该技术文档由ICDREAM独家整理发布。
整理不易,欢迎转发。
标准单元基本概念
集成电路设计单元库是集成电路设计所需单元符号库、单元电路结构库、版图库、电路性能参数库、功能描述库、设计规则和器件模型参数库的总称。从系统行为描述、逻辑综合、逻辑功能模拟,到时序分析、验证,直至版图设计中的自动布局、布线,都必须有一个内容丰富、功能完整的单元库的支持。另一方面,在自底向上的设计流程中,则是从单元库中一个个具体单元开始,逐步构成各级功能模块,直至整个系统。
随着集成电路工艺技术的迅速发展,制造工艺向超深亚微米和纳米迈进。系统级芯片(SOC)的规模越来越大,系统级芯片的设计越来越复杂。采用全定制设计提高了设计的性能和密度,但是成本太高。尽可能使用已验证的可重复使用的IP库,是缩短设计周期,保证设计一次成功,降低系统级芯片成本的关键。标准单元库是IP库中最基本的一种。基于单元的设计的优点是对于一个给定的工艺,单元只需要设计和验证一次,而后就可以重复利用许多次,因此分摊了设计成本。为了缩短设计过程并使设计自动化,基于单元的设计愈来愈受青睐。标准单元库在基于单元的设计中地位十分重要,是设计的基础,它为基于单元的设计流程的各个阶段提供支持,对设计的性能、功耗、面积和成品率至关重要。
标准单元基本类型
通常标准单元库中的标准单元按功能分类一般分为如下几种:
1.逻辑门:如与门、或门、与非门、或非门、与或非门、或与非门、异或门及混合逻辑门等。每种单元又包括多种驱动形式。
2.驱动单元:驱动单元有正向驱动和反向驱动两种形式,每种驱动单元可以有四种不同的输出负载能力。
3.时序单元:如触发器、锁存器、移位寄存器等。其中触发器又包括D触发器,RS触发器,JK触发器和T触发器,每种触发器还可以设有清零/置位端等。
4.运算单元:包括半加器、全加器、减法器和二位比较器等。这些单元级联可构成更多位的运算单元如乘法器、除法器等。
5.综合单元:如多路选择器、计数器、编码器、译码器、奇偶发生器等。
6.I /O单元:用于连接输入输出的金属压焊块。
7.缓冲单元:包括驱动电平转换电路、保护电路。缓冲单元可以有使能输入端。
8.其它单元:如连线单元、电源、地单元等。
有的库中还设计了存储单元如ROM、RAM、SRAM等,功能比较复杂的宏单元,为满足用户的特殊要求而加入的扩展单元。
标准单元设计
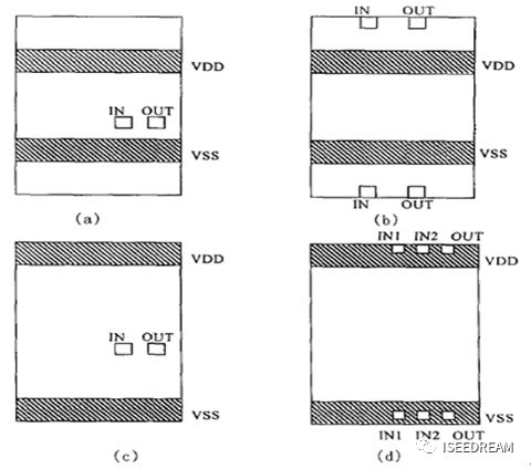
标准单元法是库单元设计方法的一种。标准单元法的特点是各个单元高度相同,宽度不等,随单元功能的复杂程度而变。所有的单元电源线和地线位置相同,从单元的左右边进出,可以处在单元的最上端和最下端。如下图

标准单元布局
用标准单元构成电路版图时,每行单元的电源线、地线自然连接,单元上下两侧有平直的布线通道。如下图所示。

标准单元的连接
标准单元库是用全定制方法精心设计好各种单元电路的版图,然后把这些经过优化设计并验证通过的单元版图存入数据库。设计时将所需单元从单元库中调出,将其排列成若干行,行间留有布线通道。然后根据电路要求将各单元用连线联接起来,同时把相应的输入/输出单元和压焊块联接起来,得到所要求的芯片版图。
由于单元库中各个单元的高度相等,宽度不限,单元中的电源、地线及输入输出端口位置都有特殊的规定,使得单元与单元连接时变得简单、有条理,布局也有规律,为以后的高层次的系统设计带来的很大的方便,使得本来很复杂、工作量很大的系统设计变得相对简单、容易,并且带有很强的规律性。
早期的标准单元由于布线资源有限,需要专门留有布线通道,如下图

现在由于工艺越来越先进,器件尺寸不断缩小的同时布线资源的金属层数也更多了,单元与单元之间的连接可以直接通过不同层的金属连接,所以一般情况下已经不再需要布线通道的存在了。如下图

标准单元库至少要包括如下几种类型的单元,这几类单元可以实现大部分的基本逻辑功能。NAND、NOR、 NOT、 DFF。
除了这几类最基本的单元,对于芯片的实现还需要tie-high、tie-low、I/Opad、filler等物理实现所需的非逻辑功能的其他单元。填充单元在标准单元布局以后用来把所有标准单元的电源和地以及阱都连起来的物理辅助单元。
格点的设置
什么是格点?
布线格点是根据标准单元PIN脚金属层的间距来定义的。标准单元的PIN脚应该在垂直与水平布线通道的交界处即格点处,布局布线工具可以对没有在格点的PIN脚进行连线,但是这样会增加布线的难度同时降低布线的效率,作为最基本的同时使用率最高的基础单元应该尽量符合高效布线策略的要求。
格点间距可以根据3种形式来设置,线与线距离、线与通孔距离、通孔与通孔距离。

三种格点间距定义依据
格点位置根据PIN脚金属层的间距设置同时应该满足最小布线金属与相邻布线金属上通孔的距离,一般布线策略是定义满足相邻布线金属上通孔与通孔之间的最小距离为格点距离。
垂直水平布线格点
除了电源地,标准单元的pin脚应该位于垂直水平布线通道相交格点上,垂直水平布线格点应该位于偏移垂直和水平布线通道间距的一半的地方,这样能够在标准单元拼接后得到更好的布局结构有效利用布线资源。单元高度应该是垂直方向上格点间距的整数倍,单元宽度应该是水平方向上格点间距的整数倍。
垂直方向上格点间距形式(无偏移与偏移半个间距)

水平方向上格点间距形式(无偏移与偏移半个间距)

水平与垂直合并后的间距形式(无偏移与偏移半个间距)

标准单元设计模板
标准单元有效的端口位置应该位于格点的交界点上。为了提高可连接性,端口应该水平错开放置,这样可以提高垂直布线通道利用率。也可以在端口的垂直方向上设置多个通过由通孔1连接的金属1层端口,如下图所示。

标准单元在版图实现上应该遵循的指导方针
单元在做版图设计的时候,单元的方向定义为左下角为原点。
单元应该在水平方向上可以直接拼接并且没有DRC违反。
衬底接触与阱接触应该尽量的多放置,并且都在电源和地线的下方。
标准单元的晶体管放置应该有一定的方向,应该从单元一边往中间画。
标准单元PIN脚示例
下图为布局布线工具如何对标准单元进行连线的示例,VDD与GND金属线与上下两个方位的单元进行无缝拼接;金属1和3层水平走线、金属2层垂直走线,通过单元端口的错开放置有效提高了布线通道利用率。

下面是一个具体标准单元PIN脚在格点上的例子。

如上图中的标准单元,输入输出PIN脚A、B、Y都处在垂直和水平布线通道的格点上。GND和VDD不需要在格点上,因为在单元拼接时由于单元背靠背或者相邻连接自动拼接在一起了。
标准单元最终提供物理设置信息如下图所示:

Drawn gate length是说明该标准单元的栅长度,一般就是工艺大小,如0.13um、0.25um。
Layers of metal是说明标准单元使用的工艺下能使用的金属层层数。
Layout grid 是说明版图编辑的最小单元间距,比如0.005
Vertical pin grid 是说明垂直方向上PIN脚的格点间距是多少。
Horizontal pin grid是说明水平方向上PIN脚的格点间距是多少。
Cell power and ground rail width是说明标准单元电源地线的宽度。
Cell height 是说明标准单元的高度为多少,主要说明该高度能包含多少水平方向上的布线通道数。
对于标准单元设计,所有PIN脚应该位于垂直和水平格点上。大多数的布局布线工具能够对位于格点上的PIN脚进行高效的端口连接。

关于 ICDREAM

www.icdream.com诞生于2010年,通过8年的沉淀已经成为业内首屈一指的专业论坛,成为行业内数万资深工程师信息交互、分享的首选平台。
2018年论坛正式升级成为中国半导体行业数据信息服务中心。为行业内50万从业工程师,1500家业内企业,提供更全面,更专业,更精准,更深度的数据信息服务。

最后
以上就是俊逸月饼最近收集整理的关于用labview设计jk触发器_干货,欧美禁止出口技术!芯片高级技术中标准单元库设计基本技术解密,芯片高性能设计必备!...的全部内容,更多相关用labview设计jk触发器_干货,欧美禁止出口技术!芯片高级技术中标准单元库设计基本技术解密,芯片高性能设计必备!内容请搜索靠谱客的其他文章。
发表评论 取消回复