一.概述
首先我们要区分同步复位信号和异步复位。
1.异步复位:复位信号和clk无关,是作为敏感参数放在参数列表中的,即作为触发条件使用。
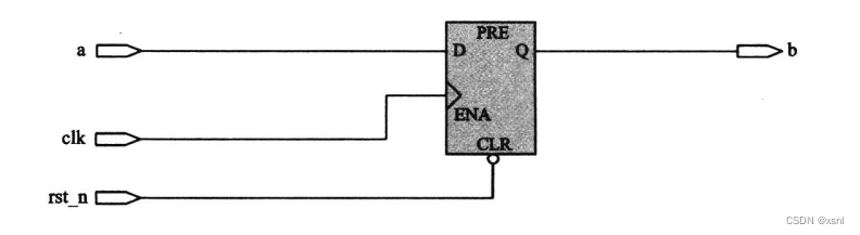
下图为异步复位的RTL图,复位和时钟无关,寄存器使能了CLR端。但是异步复位在释放时,如果释放时间正好在建立时间和保持时间之内,就会产生亚稳态。

异步复位使用的代码形式:
2.同步复位:复位信号和clk有关,只在clk的边沿检测是否复位。
下图为同步复位的RTL图,CLR端没用,而是将复位信号作为逻辑资源使用,b信号的变化是在clk的边沿触发,这样会多消耗一些逻辑资源(xilinx 不会存在这个问题)。

同步复位使用的代码形式:
Note:
大家很多时候都使用异步复位,同步释放的复位形式,注意异步复位,同步释放和概述中所说的同步复位是不一样的,概述中所说的同步复位可以理解为同步复位,同步释放。
异步复位,同步释放的方式即减少了逻辑资源的消耗,又减小了亚稳态产生的概率。
二.异步复位,同步释放
话不多说,代码如下:

两个复位信号都是在同一时刻变为0,rst_nr1是用来把rst_n同步到clk时钟的,而rst_nr2是用来减小亚稳态产生的概率,rst_nr2其实就是把复位多延长了一拍。
最后
以上就是留胡子电脑最近收集整理的关于终于理清 异步复位,同步释放一.概述二.异步复位,同步释放的全部内容,更多相关终于理清内容请搜索靠谱客的其他文章。
本图文内容来源于网友提供,作为学习参考使用,或来自网络收集整理,版权属于原作者所有。
发表评论 取消回复