靠谱客2月24日消息,此前华为、上汽合作推出第五届”的传闻,如今尘埃落定。
今日,上汽集团与华为终端在上海签署深度合作协议。据悉,双方将在产品定义、生产制造、供应链管理、销售服务等领域展开战略合作,打造全新新能源智能汽车”。
上汽集团董事长王晓秋,华为常务董事、终端BG董事长、智能汽车解决方案BU董事长余承东见证签约。上汽集团总裁贾健旭,华为终端智选车业务部总裁汪严旻分别代表上汽和华为签约。
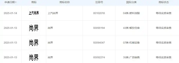
这里全新新能源智能汽车”的命名咱未公布,但不出意外,就是此前曝光的尚界”了。
据早先报道,行业人士透露,华为与上汽的合作模式已确定将使用智选车模式,从上汽注册的商标来看,该品牌名初步为尚界”。

据悉,尚界所有车型将进入鸿蒙智行渠道销售。尚界项目上汽方面负责人是上汽乘用车副总经理祝勇。
车型方面,尚界第一款车将以上汽荣威旗下内部代号为ES39”的车型作为雏形,搭载华为座舱和智驾,提供两个纯电续航版本,预计在今年四季度上市,覆盖15万~25万元售价区间市场,将成为最便宜的鸿蒙智行车型。
对于尚界第二款车型,上汽集团和华为还在谈,预计将全新开发。
根据上汽集团此前公布的信息,代号ES39”的车型定位于一款纯电动豪华SUV,新车基于上汽全新纯电平台星云打造。
在研发方面,华为已经有工程团队入驻上汽安研路研发中心,负责开发智驾和座舱。
从定位来看,尚界填补了鸿蒙智行在20万元以下更主流市场产品线布局的空白。再加上智界、问界、享界、尊界,鸿蒙智行今年产品线将覆盖十几万到上百万的售价区间市场。
(举报)
发表评论取消回复