据 industryinsider 报道,苹果预计将于 2026 年推出其首款紧凑折叠屏 iPhone,该消息引起了广泛关注。
与之前的传言不同,苹果的折叠屏 iPhone 将采用类似于三星 Galaxy Z Flip 的翻盖设计,三星也将为这款设备提供主要的屏幕组件。
消息人士透露,苹果正在与三星合作,利用其柔性 OLED 屏幕技术,以确保折叠屏 iPhone 具有出色的显示效果和耐久性。

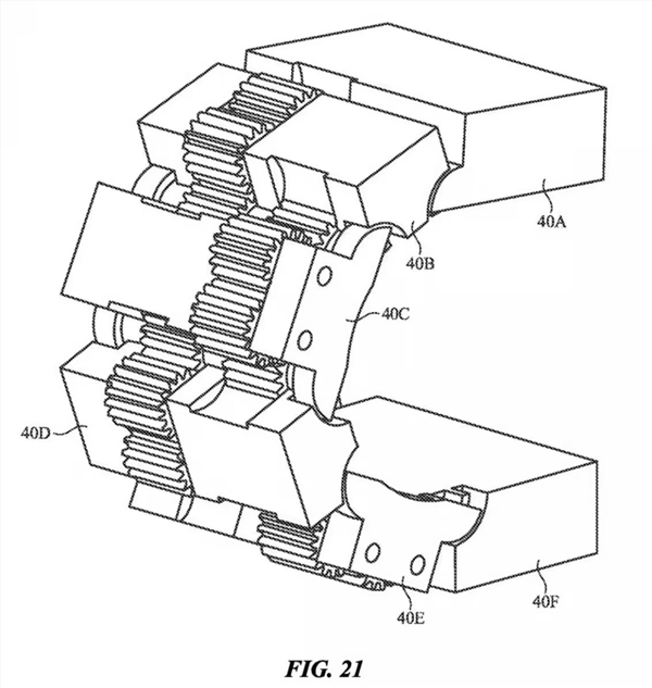
此外,苹果可能会在其铰链设计中采用创新的专利技术,以解决当前折叠屏手机普遍存在的折痕问题,从而提升用户体验。
这款折叠屏 iPhone 预计将搭载苹果的最新 A 系列芯片,并配备专为折叠屏进行优化的 iOS 系统,为用户提供无缝的交互体验。
分析师预测,这款紧凑折叠屏 iPhone 将定位于高端市场,目标受众是那些追求时尚设计和前沿科技的消费者。
(举报)
发表评论取消回复