目录标题
- 写在前面
- 一,项目介绍
- 1.1项目背景
- 1.2项目目的
- 1.3项目涉及技术点
- 1.4需求分析
- 二,搭建项目前准备
- 2.1编写MVC框架
- 2.1.1编写web.xml:
- 2.1.2定义两个注解
- 2.1.3 编写映射器 HandlerMapping
- 2.1.4 定义分发Servlet
- 2.2layui介绍
- 2.2.1布局部分
- 2.2.2 弹出层
- 2.3工具类介绍
- 2.3.1DruidUtil
- 2.3.2DateFormatUtil
- 2.3.3随机数工具类
- 2.3.4Json操作类
- 2.3.5用户的工具类
- 2.3.6前后端用于通信的消息类
- 2.3.7包装分页数据的类
- 2.3.8自定义的异常类
- 2.4数据库设计+实体类编写
- 2.4.1数据库分析
- 2.4.2实体类
- 三,流程编写
- 3.1整体流程框图
- 3.2配置文件(properties,过滤器)
- 3.3结构代码编写(controller,service,dao)
- 四,具体功能和详细代码
- 4.1管理员的登录退出功能。
- 4.1.1管理员的登录功能。
- 4.1.2显示管理员用户名功能
- 4.1.3管理员的退出功能
- 4.2快递的CRUD及对应控制台的显示
- 4.2.1API编写流程
- 4.2.2sql语句编写
- 4.2.3快递相关的dao
- 4.2.4service
- 4.2.5控制台显示
- 4.2.6分页列表
- 4.2.7CRUD方法
写在前面
这个部分对于我而言是一个重要的学习分水岭,学习了JavaWeb知识的之后,自己动手写一个demo的话可以更好的有助于之后阶段的学习。(应该)框架固然可以简化我们的开发流程,但如基本的JavaWeb都不熟练,又怎么会体验到框架的快捷性呢?
(快递e站本来是有微信端和后台两部分组成的,我微信端忘了好多,就不写了。)
本demo实现了以下功能:

项目成功运行视频如下
后台视频
一,项目介绍
1.1项目背景
真实的:开课吧课程学习需要,培训进度到了。
虚假的:
随着互联网和通信技术的高速发展,使电子商务迅速普及,网购成为人们购物的重要手段之一。据统计2019年双十一,11月11日~16日,受电商平台集中促销影响,业务量达全年高峰,6天内共处理邮(快)件23.09亿件。
疫情期间配送快递成了一件难事。疫情防控已经趋于常态化,很多小区出台了新的治安管理条例,开始禁止快递人员进入。这给民众收发快件造成了极大的不便,因进不去小区,快递人员只能在小区门口周边摆摊设点,也影响了小区周边环境。
除了快递,外卖也一样面临相同的问题。除了小区,写字楼、校园也面临着相同的问题。正是基于对疫情期间配送最后一公里深刻的认识,我们探索出一条解决之道,那就是社区快递e栈(类似快递柜)。
1.2项目目的
1、锻炼编码能力
2、融会贯通JavaWeb技术
3、体验项目开发流程
4、做出上线级别的微信端+JavaWeb后端项目(我微信端做的有点水)
5、为框架阶段打下前后端交互的基础
1.3项目涉及技术点
html、css、js、Jquery、bootstrap、layui、ajax、mysql、tomcat、servlet、filter、jsp,Javaweb相关知识点。
1.4需求分析
该快递项目按照用户分为三层,管理员,普通用户和快递员,管理员可以对用户和快递员的数据进行增删改查操作,以及对快递的增删改查。管理员可以对快递进行增删改查,用户可以取件,也可以查看自己的快递情况。
按照功能模块分为登录模块,用户模块,快递员模块,快递模块,控制台模块,本系统主要是面向管理员端的后台关联系统。
二,搭建项目前准备
2.1编写MVC框架
服务器启动时,会加载application.properties配置文件,配置文件中有多个类,配置文件是由HandlerMapping来加载。
HandlerMapping根据配置文件中的每个类,获取到每个类的方法,获取到方法之后再循环遍历这些方法,再找每个带有ResponseBody或ResponseView的方法,再把这些方法都存放在HandlerMapping中,之后用于处理给用户响应,所以服务器启动之后HandlerMapping中会存一堆方法。
当用户去请求DispatcherServlet时,首先去HandlerMapping中找有没有处理这个请求的方法,没有的话抛404异常。请求servlet的路径是:*.do
2.1.1编写web.xml:
<?xml version="1.0" encoding="UTF-8"?>
<web-app xmlns="http://xmlns.jcp.org/xml/ns/javaee"
xmlns:xsi="http://www.w3.org/2001/XMLSchema-instance"
xsi:schemaLocation="http://xmlns.jcp.org/xml/ns/javaee http://xmlns.jcp.org/xml/ns/javaee/web-app_4_0.xsd"
version="4.0">
<servlet>
<servlet-name>DispatherServlet</servlet-name>
<servlet-class>com.kaikeba.mvc.DispatherServlet</servlet-class>
<!--初始化配置文件-->
<init-param>
<param-name>contentConfigLocation</param-name>
<param-value>application.properties</param-value>
</init-param>
<!--服务器启动的时候就加载这个servlet-->
<load-on-startup>0</load-on-startup>
</servlet>
<servlet-mapping>
<servlet-name>DispatherServlet</servlet-name>
<url-pattern>*.do</url-pattern>
</servlet-mapping>
</web-app>
2.1.2定义两个注解
package com.kaikeba.mvc;
import java.lang.annotation.*;
@Target(ElementType.METHOD)
@Retention(RetentionPolicy.RUNTIME)
@Documented
/**
* 注解的作用:
* 被此注解添加的方法, 会被用于处理请求。
* 方法返回的内容,会以文字形式返回到客户端
*/
public @interface ResponseBody {
String value();
}
package com.kaikeba.mvc;
import java.lang.annotation.*;
@Target(ElementType.METHOD)
@Retention(RetentionPolicy.RUNTIME)
@Documented
/**
* 注解的作用:
* 被此注解添加的方法, 会被用于处理请求。
* 方法返回的内容,会直接重定向
*/
public @interface ResponseView {
String value();
}
再定义枚举类对应上面的两个注解:
package com.kaikeba.mvc;
/**
* 枚举:用于描述响应的类型:文字;ResponseBody,视图;ResponseView
*/
public enum ResponseType {
TEXT,VIEW;
}
2.1.3 编写映射器 HandlerMapping
package com.kaikeba.mvc;
import java.io.IOException;
import java.io.InputStream;
import java.lang.annotation.Annotation;
import java.lang.reflect.Method;
import java.util.Collection;
import java.util.HashMap;
import java.util.Map;
import java.util.Properties;
/**
* 映射器 包含了大量的网址与方法的对应关系)
*/
public class HandlerMapping {
// 静态的map集合,字符串加上mvc映射对象
private static Map<String,MVCMapping> data = new HashMap<>();
// 获取map集合中的对应方法
public static MVCMapping get(String uri){
return data.get(uri);
}
public static void load(InputStream is ){
// 常规方法加载配置文件
Properties ppt = new Properties();
try {
ppt.load(is);
} catch (IOException e) {
e.printStackTrace();
}
//获取配置文件中描述的一个个的类
Collection<Object> values = ppt.values();
for (Object cla:values) { // 遍历配置文件中的所有类
String className = (String) cla;
try {
//加载配置文件中描述的每一个类
Class c = Class.forName(className);
//创建这个类的对象
Object obj = c.getConstructor().newInstance();
//获取这个类的所有方法
Method[] methods = c.getMethods();
for (Method m:methods) { // 遍历一个类中的所有方法
Annotation[] as = m.getAnnotations(); // 获取方法里的所有注解
if(as != null){
for(Annotation annotation:as){ // 遍历一个方法中的所有注解
if(annotation instanceof ResponseBody){ // 如果注解的类型是ResponseBody
//说明此方法,用于返回字符串给客户端
MVCMapping mapping = new MVCMapping(obj,m,ResponseType.TEXT);
Object o = data.put(((ResponseBody) annotation).value(),mapping);
if(o != null){
//存在了重复的请求地址
throw new RuntimeException("请求地址重复:"+((ResponseBody) annotation).value());
}
}else if(annotation instanceof ResponseView){ // 如果注解的类型是ResponseView
//说明此方法,用于返回界面给客户端
MVCMapping mapping = new MVCMapping(obj,m,ResponseType.VIEW);
Object o = data.put(((ResponseView) annotation).value(),mapping);
if(o != null){
//存在了重复的请求地址
throw new RuntimeException("请求地址重复:"+((ResponseView) annotation).value());
}
}
}
}
}
} catch (Exception e) {
e.printStackTrace();
}
}
}
/**
* 映射对象,每一个对象封装了一个方法,用于处理请求
*/
public static class MVCMapping{
private Object obj; // 对象
private Method method; // 方法
private ResponseType type; // 泛型
public MVCMapping() {
}
public MVCMapping(Object obj, Method method, ResponseType type) {
this.obj = obj;
this.method = method;
this.type = type;
}
public Object getObj() {
return obj;
}
public void setObj(Object obj) {
this.obj = obj;
}
public Method getMethod() {
return method;
}
public void setMethod(Method method) {
this.method = method;
}
public ResponseType getType() {
return type;
}
public void setType(ResponseType type) {
this.type = type;
}
}
}
2.1.4 定义分发Servlet
package com.kaikeba.mvc;
import javax.servlet.ServletConfig;
import javax.servlet.ServletException;
import javax.servlet.http.HttpServletRequest;
import javax.servlet.http.HttpServletResponse;
import java.io.IOException;
import java.io.InputStream;
import java.lang.reflect.InvocationTargetException;
import java.lang.reflect.Method;
import java.util.Properties;
public class DispatherServlet extends javax.servlet.http.HttpServlet {
@Override
public void init(ServletConfig config) throws ServletException {
// 读取配置文件的文件名称
String path = config.getInitParameter("contentConfigLocation");
// 加载配置文件
InputStream is = DispatherServlet.class.getClassLoader().getResourceAsStream(path);
// 常规方法加载
/* //Properties可以用来保存属性集,主要用于读取Java的配置文件
Properties ppt = new Properties();
try {
ppt.load(is);
} catch (IOException e) {
e.printStackTrace();
}*/
// 使用映射器加载
HandlerMapping.load(is);
}
@Override
protected void service(HttpServletRequest req, HttpServletResponse resp) throws ServletException, IOException {
//1. 获取用户请求的uri /xx.do
String uri = req.getRequestURI();
// 根据url得到MVCMapping映射对象
HandlerMapping.MVCMapping mapping = HandlerMapping.get(uri);
if( mapping == null){
resp.sendError(404,"MVC:映射地址不存在:"+uri);
return;
}
Object obj = mapping.getObj();
Method method = mapping.getMethod();
Object result = null;
try {
// 参数1.obj对象要执行method方法
// 参数2.调用方法时传递的参数 req, resp 请求,响应对象
result = method.invoke(obj, req, resp);
} catch (IllegalAccessException e) {
e.printStackTrace();
} catch (InvocationTargetException e) {
e.printStackTrace();
}
switch (mapping.getType()){
case TEXT:
resp.getWriter().write((String)result);
break;
case VIEW:
resp.sendRedirect((String)result);
break;
}
}
}
2.2layui介绍
layui官网地址
2.2.1布局部分
与BootStrap很像,就是展示一些界面效果。
2.2.2 弹出层
步骤:
1.下载layer , 并将解压后的layer文件夹 移动到项目中
2.引入jquery.js
3.引入layer.js
layer - msg函数
用于弹出信息提示框
格式1:
layer.msg("文本");
格式2 抖动显示:
layer.msg("文本",function(){
//弹窗结束后会执行
});
layer - load函数
格式1
弹出loading:
var index = layer.load(数字0-2);
// 参数表示 loading的图表
//loading窗口在弹出时, 不允许进行操作.
关闭loading:
layer.close(index);
格式2
超时自动关闭的loading
var index = layer.load(数字0-2,{time:毫秒数字})
//在指定的毫秒后 ,如果没有使用layer.close关闭, 则自动关闭
layer - msg函数(load效果)
格式:
弹出的格式:
var index = layer.msg("文本",{icon:16,shade:0.01})
//因为是msg函数, 所以此窗口会自动消失
关闭的格式:
layer.close(index);
layer - alert函数 信息提示窗
格式:
layer.alert("文本内容",{icon:图片编号});
//图片编号: 0-16之间
layer - tips函数 提示层
格式:
layer.tips("文本内容","选择器",{tipsMore:true,tips:数字});
参数:
参数: tipsMore : 是否允许同时存在多个弹出的tips
参数: tips : 取值为数字1-4 , 分别表示弹出在元素的 上/右/下/左 . 默认弹出在右边
layer 所有弹出层的关闭
layer.closeAll();
<!DOCTYPE html>
<html lang="en">
<head>
<meta charset="UTF-8">
<title>Title</title>
<script src="js/jquery2.1.4.js"></script>
<script src="layer/layer.js"></script>
<script>
function msgTest() {
// layer.msg("提示的文字");
layer.msg("提示的文字", function () {
// 窗口关系时执行,和上面的区别还有会添加一个抖动
});
}
function loadTest() {
// 返回弹出层的id
var windowId = layer.load(0); // 0 - 16的数字,每一个代表不同效果
// 通过窗口id关闭窗口
setTimeout(function () {
layer.close(windowId);
}, 2000);
}
function msg_loadTest() {
// icon不同的值对应不同的图标
layer.msg("提示的文字", {icon:16, shade:0.01});
}
function alertTest() {
layer.alert("文字内容", {icon : 10});
}
function tipsTest() {
// tipsMore表示
layer.tips("这里有秘密", "#s1", {tipsMore:true, tips:2});
}
</script>
</head>
<body>
<button onclick="msgTest()">msg函数(*)</button><br>
<button onclick="loadTest()">load函数(*)</button><br>
<button onclick="msg_loadTest()">load函数(load效果)</button><br>
<button onclick="alertTest()">alert函数</button><br>
<button onclick="tipsTest()">tips函数</button><br>
<p>
锄禾日<span id="s1">当午</span>,汗滴禾下土
</p>
</body>
</html>
2.3工具类介绍
2.3.1DruidUtil
进行数据库连接池的工具类
package com.kaikeba.util;
import com.alibaba.druid.pool.DruidDataSourceFactory;
import javax.sql.DataSource;
import java.sql.Connection;
import java.sql.ResultSet;
import java.sql.SQLException;
import java.sql.Statement;
import java.util.Properties;
public class DruidUtil {
private static DataSource ds;
static{
try {
Properties ppt = new Properties();
ppt.load(DruidUtil.class.getClassLoader().getResourceAsStream("druid.properties"));
ds = DruidDataSourceFactory.createDataSource(ppt);
} catch (Exception e) {
e.printStackTrace();
}
}
/**
* 从连接池中取出一个连接给用户
* @return
*/
public static Connection getConnection(){
try {
return ds.getConnection();
} catch (SQLException throwables) {
throwables.printStackTrace();
}
return null;
}
public static void close(Connection conn, Statement state, ResultSet rs){
try {
if(rs!=null)
rs.close();
} catch (Exception throwables) {
throwables.printStackTrace();
}
try {
if(state!=null)
state.close();
} catch (Exception throwables) {
throwables.printStackTrace();
}
try {
if(conn!=null)
conn.close();
} catch (Exception throwables) {
throwables.printStackTrace();
}
}
}
2.3.2DateFormatUtil
时间格式化工具类
package com.kaikeba.util;
import java.text.SimpleDateFormat;
import java.util.Date;
/**
* 时间日期格式化工具
*/
public class DataFormatUtil {
private static SimpleDateFormat format = new SimpleDateFormat("yyyy-MM-dd HH:mm:ss"); //字符串转日期类型
public static String format(Date date){ // 把传入的Date类型转换为我们定义的Date类型
return format.format(date);
}
}
2.3.3随机数工具类
package com.kaikeba.util;
import java.util.Random;
/**
* @Description : 生成随机取件码
* @Author : Administrator
* @Date : 2021/11/17 7:56
* @Version : 1.0
**/
public class RandomUtil {
private static Random r = new Random();
public static int getCode(){
return r.nextInt(900000)+100000;
};
}
2.3.4Json操作类
package com.kaikeba.util;
import com.google.gson.Gson;
/**
* @Description : 为了更好的把数据返回给用户,返回Gson类型的数据给用户
* @Author : Administrator
* @Date : 2021/11/15 10:24
* @Version : 1.0
**/
public class JSONUtil {
private static Gson g = new Gson();
public static String toJSON(Object obj){ // 把对象变为json字符串
return g.toJson(obj);
}
}
2.3.5用户的工具类
package com.kaikeba.util;
import com.kaikeba.bean.User;
import javax.servlet.http.HttpSession;
/**
* @Description : 用户的工具类,
* @Author : Administrator
* @Date : 2021/11/17 22:05
* @Version : 1.0
**/
public class UserUtil {
public static String getUserName(HttpSession session){// 根据session获取当前登录的用户名
return (String) session.getAttribute("adminUserName");
}
public static String getUserPhone(HttpSession session){// 根据session获取当前登录的用户手机号
// TODO : 还没有编写柜子端,未存储任何的录入人信息
return "18888888888";
}
}
2.3.6前后端用于通信的消息类
package com.kaikeba.bean;
/**
* @Description : 专门一个发消息的类
* @Author : Administrator
* @Date : 2021/11/15 10:13
* @Version : 1.0
**/
public class Message {
//状态码: 0成功,-1表示失败
private int status;
//消息内容
private String result;
//消息所携带的一组数据
private Object data;
public int getStatus() {
return status;
}
public void setStatus(int status) {
this.status = status;
}
public String getResult() {
return result;
}
public void setResult(String result) {
this.result = result;
}
public Object getData() {
return data;
}
public void setData(Object data) {
this.data = data;
}
public Message(int status, String result) {
this.status = status;
this.result = result;
}
public Message(String result) {
this.result = result;
}
public Message(int status) {
this.status = status;
}
public Message() {
}
public Message(int status, String result, Object data) {
this.status = status;
this.result = result;
this.data = data;
}
}
2.3.7包装分页数据的类
package com.kaikeba.bean;
import java.util.ArrayList;
import java.util.List;
/**
* @Description : 包装分页数据的一种格式
* @Author : Administrator
* @Date : 2021/11/17 16:20
* @Version : 1.0
**/
public class ResultData<T> {
//每次查询的数据集合(存储分页的数据)
private List<T> rows = new ArrayList<>();
//总数量(长度)
private int total;
public List<T> getRows() {
return rows;
}
public void setRows(List<T> rows) {
this.rows = rows;
}
public int getTotal() {
return total;
}
public void setTotal(int total) {
this.total = total;
}
}
2.3.8自定义的异常类
取件码重复异常:
package com.kaikeba.exception;
/**
* @Description : 异常类:取件码重复异常
* @Author : Administrator
* @Date : 2021/11/17 7:20
* @Version : 1.0
**/
public class DuplicateCodeException extends Exception{
/**
* Constructs a new exception with {@code null} as its detail message.
* The cause is not initialized, and may subsequently be initialized by a
* call to {@link #initCause}.
*/
public DuplicateCodeException() {
}
/**
* Constructs a new exception with the specified detail message. The
* cause is not initialized, and may subsequently be initialized by
* a call to {@link #initCause}.
*
* @param message the detail message. The detail message is saved for
* later retrieval by the {@link #getMessage()} method.
*/
public DuplicateCodeException(String message) {
super(message);
}
}
2.4数据库设计+实体类编写
2.4.1数据库分析
之前的需求分析中有说到。要实现登录模块,用户模块,快递员模块,快递模块,控制台模块。那么就要创建自少四张表。管理员表,用户表,快递员表,快递员表。
管理员表

用户表

快递员表

快递表

其实单看这几张表的话,也能感觉到这是一个很简单的练手项目。甚至还不如他的前置项目表复杂。基本都是单表操作。具体的表内容就大家自己创建了。
2.4.2实体类
根据所创建的sql创建对应的类
类名=表名,属性名=列名
1,管理员类不用创建对应的实体类。
2,再创建时间类型的属性时,把他定义为String类型的,方便用对应的工具类显示
User:
package com.kaikeba.bean;
import java.sql.Timestamp;
/**
* @Description : 同样也是用户实体类,不过这里用了字符类型来结束时间参数
* @Author : Administrator
* @Date : 2021/11/18 16:55
* @Version : 1.0
**/
public class BootStrapTableUser {
private int id;
private String username;
private String userphone;
private String idcard;
private String userpassword;
private String registeradtime;
private String login_time;
private int status;
public int getStatus() {
return status;
}
public void setStatus(int status) {
this.status = status;
}
public BootStrapTableUser() {
}
public BootStrapTableUser(int id, String username, String userphone, String idcard, String userpassword, String registeradtime, String login_time, int status) {
this.id = id;
this.username = username;
this.userphone = userphone;
this.idcard = idcard;
this.userpassword = userpassword;
this.registeradtime = registeradtime;
this.login_time = login_time;
this.status = status;
}
public BootStrapTableUser(String username, String userphone, String idcard, String userpassword, int operation) {
this.username = username;
this.userphone = userphone;
this.idcard = idcard;
this.userpassword = userpassword;
}
public BootStrapTableUser(int id, String username, String userphone, String idcard, String userpassword, String registeradtime, String login_time) {
}
@Override
public String toString() {
return "BootStrapTableUser{" +
"id=" + id +
", username='" + username + ''' +
", userphone='" + userphone + ''' +
", idcard='" + idcard + ''' +
", userpassword='" + userpassword + ''' +
", registeradtime='" + registeradtime + ''' +
", login_time='" + login_time + ''' +
", status=" + status +
'}';
}
public int getId() {
return id;
}
public void setId(int id) {
this.id = id;
}
public String getUsername() {
return username;
}
public void setUsername(String username) {
this.username = username;
}
public String getUserphone() {
return userphone;
}
public void setUserphone(String userphone) {
this.userphone = userphone;
}
public String getIdcard() {
return idcard;
}
public void setIdcard(String idcard) {
this.idcard = idcard;
}
public String getUserpassword() {
return userpassword;
}
public void setUserpassword(String userpassword) {
this.userpassword = userpassword;
}
public String getRegisteradtime() {
return registeradtime;
}
public void setRegisteradtime(String registeradtime) {
this.registeradtime = registeradtime;
}
public String getLogin_time() {
return login_time;
}
public void setLogin_time(String login_time) {
this.login_time = login_time;
}
}
Express:
package com.kaikeba.bean;
/**
* @Description : 同样也是快递实体类,不过这里用了字符类型来结束时间参数
* @Author : Administrator
* @Date : 2021/11/17 16:20
* @Version : 1.0
**/
public class BootStrapTableExpress {
private int id;
private String number;
private String username;
private String userPhone;
private String company;
private String code;
private String inTime;
private String outTime;
private String status;
private String sysPhone;
private Courier Courier;
public BootStrapTableExpress() {
}
public BootStrapTableExpress(int id, String number, String username, String userPhone, String company, String code, String inTime, String outTime, String status, String sysPhone) {
this.id = id;
this.number = number;
this.username = username;
this.userPhone = userPhone;
this.company = company;
this.code = code;
this.inTime = inTime;
this.outTime = outTime;
this.status = status;
this.sysPhone = sysPhone;
}
public BootStrapTableExpress(int id, String number, String username, String userPhone, String company, String code, String inTime, String outTime, String status, String sysPhone, com.kaikeba.bean.Courier courier) {
this.id = id;
this.number = number;
this.username = username;
this.userPhone = userPhone;
this.company = company;
this.code = code;
this.inTime = inTime;
this.outTime = outTime;
this.status = status;
this.sysPhone = sysPhone;
Courier = courier;
}
@Override
public String toString() {
return "BootStrapTableExpress{" +
"id=" + id +
", number='" + number + ''' +
", username='" + username + ''' +
", userPhone='" + userPhone + ''' +
", company='" + company + ''' +
", code='" + code + ''' +
", inTime='" + inTime + ''' +
", outTime='" + outTime + ''' +
", status='" + status + ''' +
", sysPhone='" + sysPhone + ''' +
", Courier=" + Courier +
'}';
}
public int getId() {
return id;
}
public void setId(int id) {
this.id = id;
}
public String getNumber() {
return number;
}
public void setNumber(String number) {
this.number = number;
}
public String getUsername() {
return username;
}
public void setUsername(String username) {
this.username = username;
}
public String getUserPhone() {
return userPhone;
}
public void setUserPhone(String userPhone) {
this.userPhone = userPhone;
}
public String getCompany() {
return company;
}
public void setCompany(String company) {
this.company = company;
}
public String getCode() {
return code;
}
public void setCode(String code) {
this.code = code;
}
public String getInTime() {
return inTime;
}
public void setInTime(String inTime) {
this.inTime = inTime;
}
public String getOutTime() {
return outTime;
}
public void setOutTime(String outTime) {
this.outTime = outTime;
}
public String getStatus() {
return status;
}
public void setStatus(String status) {
this.status = status;
}
public String getSysPhone() {
return sysPhone;
}
public void setSysPhone(String sysPhone) {
this.sysPhone = sysPhone;
}
public com.kaikeba.bean.Courier getCourier() {
return Courier;
}
public void setCourier(com.kaikeba.bean.Courier courier) {
Courier = courier;
}
}
Courier:
package com.kaikeba.bean;
import java.sql.Timestamp;
import java.util.List;
import java.util.Objects;
/**
* @Description : 同样也是快递员实体类,不过这里用了字符类型来结束时间参数
* @Author : Administrator
* @Date : 2021/11/23 22:37
* @Version : 1.0
**/
public class BootStrapTableCourier {
private int id;
private String username;
private String userphone;
private String idcard;
private String userpassword;
private int sendnumber;
private String registeradtime;
private String login_time;
private int status;
// 一个角色对应多个用户
private List<User> usersList;
public BootStrapTableCourier() {
}
public BootStrapTableCourier(String username, String userphone, String idcard, String userpassword) {
this.username = username;
this.userphone = userphone;
this.idcard = idcard;
this.userpassword = userpassword;
}
public BootStrapTableCourier(int id, String username, String userphone, String idcard, String userpassword, int sendnumber, String registeradtime, String login_time, int status) {
this.id = id;
this.username = username;
this.userphone = userphone;
this.idcard = idcard;
this.userpassword = userpassword;
this.sendnumber = sendnumber;
this.registeradtime = registeradtime;
this.login_time = login_time;
this.status = status;
}
public BootStrapTableCourier(int id, String username, String userphone, String idcard, String userpassword, int sendnumber, String registeradtime, String login_time, int status, List<User> usersList) {
this.id = id;
this.username = username;
this.userphone = userphone;
this.idcard = idcard;
this.userpassword = userpassword;
this.sendnumber = sendnumber;
this.registeradtime = registeradtime;
this.login_time = login_time;
this.status = status;
this.usersList = usersList;
}
@Override
public boolean equals(Object o) {
if (this == o) return true;
if (!(o instanceof BootStrapTableCourier)) return false;
BootStrapTableCourier that = (BootStrapTableCourier) o;
return getId() == that.getId() &&
getSendnumber() == that.getSendnumber() &&
getStatus() == that.getStatus() &&
Objects.equals(getUsername(), that.getUsername()) &&
Objects.equals(getUserphone(), that.getUserphone()) &&
Objects.equals(getIdcard(), that.getIdcard()) &&
Objects.equals(getUserpassword(), that.getUserpassword()) &&
Objects.equals(getRegisteradtime(), that.getRegisteradtime()) &&
Objects.equals(getLogin_time(), that.getLogin_time()) &&
Objects.equals(usersList, that.usersList);
}
@Override
public int hashCode() {
return Objects.hash(getId(), getUsername(), getUserphone(), getIdcard(), getUserpassword(), getSendnumber(), getRegisteradtime(), getLogin_time(), getStatus(), usersList);
}
@Override
public String toString() {
return "BootStrapTableCourier{" +
"id=" + id +
", username='" + username + ''' +
", userphone='" + userphone + ''' +
", idcard='" + idcard + ''' +
", userpassword='" + userpassword + ''' +
", sendnumber=" + sendnumber +
", registeradtime='" + registeradtime + ''' +
", login_time='" + login_time + ''' +
", status=" + status +
", usersList=" + usersList +
'}';
}
public int getId() {
return id;
}
public void setId(int id) {
this.id = id;
}
public String getUsername() {
return username;
}
public void setUsername(String username) {
this.username = username;
}
public String getUserphone() {
return userphone;
}
public void setUserphone(String userphone) {
this.userphone = userphone;
}
public String getIdcard() {
return idcard;
}
public void setIdcard(String idcard) {
this.idcard = idcard;
}
public String getUserpassword() {
return userpassword;
}
public void setUserpassword(String userpassword) {
this.userpassword = userpassword;
}
public int getSendnumber() {
return sendnumber;
}
public void setSendnumber(int sendnumber) {
this.sendnumber = sendnumber;
}
public String getRegisteradtime() {
return registeradtime;
}
public void setRegisteradtime(String registeradtime) {
this.registeradtime = registeradtime;
}
public String getLogin_time() {
return login_time;
}
public void setLogin_time(String login_time) {
this.login_time = login_time;
}
public int getStatus() {
return status;
}
public void setStatus(int status) {
this.status = status;
}
public List<User> getUsersList() {
return usersList;
}
public void setUsersList(List<User> usersList) {
this.usersList = usersList;
}
}
三,流程编写
3.1整体流程框图
大概流程如下:差了一个单词,猜猜看是哪个。

3.2配置文件(properties,过滤器)
数据库配置文件:druid.properties
url=jdbc:mysql://localhost:3306/javaweb_e?useUnicode=true&characterEncoding=utf-8
username=kaikeba
password=kaikeba
driverClassName=com.mysql.jdbc.Driver
初始化配置文件:application.properties
admin=com.kaikeba.controller.AdminController
express=com.kaikeba.controller.ExpressController
user=com.kaikeba.controller.UserController
Courier=com.kaikeba.controller.CourierController
再web.xml里,我们定义了*.do走DispatherServlet。
<servlet-mapping>
<servlet-name>DispatherServlet</servlet-name>
<url-pattern>*.do</url-pattern>
</servlet-mapping>
所以编写一个过滤器,让所有的*.do请求格式都为utf-8
package com.kaikeba.filter;
import javax.servlet.*;
import javax.servlet.annotation.WebFilter;
import java.io.IOException;
// 过滤器
@WebFilter("*.do")
public class CharSetFilter implements Filter {
public void destroy() {
}
public void doFilter(ServletRequest req, ServletResponse resp, FilterChain chain) throws ServletException, IOException {
req.setCharacterEncoding("utf-8");
resp.setContentType("text/json;charset=utf-8");
resp.setCharacterEncoding("utf-8");
chain.doFilter(req, resp);
}
public void init(FilterConfig config) throws ServletException {
}
}
3.3结构代码编写(controller,service,dao)
结构就是这么一个结构。

我以管理员的方法举例:
Controller:
public class AdminController {
}
Service:
public class AdminService {
}
Dao:
public interface BaseAdminDao {
}
public class AdminDaoMysql implements BaseAdminDao {
}
四,具体功能和详细代码
4.1管理员的登录退出功能。
service:
package com.kaikeba.service;
import com.kaikeba.dao.BaseAdminDao;
import com.kaikeba.dao.impl.AdminDaoMysql;
import java.util.Date;
/**
* @Description : 管理员操作的方法
* @Author : Administrator
* @Date : 2021/11/15 11:09
* @Version : 1.0
**/
public class AdminService {
private static BaseAdminDao dao = new AdminDaoMysql();
/**
* 更新登陆时间与ip
* @param username
* @param date
* @param ip
*/
public static void updateLoginTimeAndIP(String username, Date date, String ip){
dao.updateLoginTime(username,date,ip);
}
/**
* 登陆
* @param username
* @param password
* @return true表示成功,false表示登陆失败
*/
public static boolean login(String username,String password){
return dao.login(username,password);
}
}
dao:
package com.kaikeba.dao;
import java.util.Date;
/**
* 用于定义eadmin表格的操作规范
*/
public interface BaseAdminDao {
/**
* 根据用户名,更新登陆时间和登录ip
* @param username
*/
void updateLoginTime(String username, Date date, String ip);
/**
* 管理员根据账号密码登陆
* @param username 账号
* @param password 密码
* @return 登陆的结果, true表示登陆成功
*/
boolean login(String username, String password);
}
package com.kaikeba.dao.impl;
import com.kaikeba.dao.BaseAdminDao;
import com.kaikeba.util.DruidUtil;
import java.sql.Connection;
import java.sql.PreparedStatement;
import java.sql.ResultSet;
import java.sql.SQLException;
import java.util.Date;
public class AdminDaoMysql implements BaseAdminDao {
// 把预编译的语句设置为常量
private static final String SQL_UPDATE_LOGIN_TIME = "UPDATE EADMIN SET LOGINTIME=?,LOGINIP=? WHERE USERNAME=?";
private static final String SQL_LOGIN = "SELECT ID FROM EADMIN WHERE USERNAME=? AND PASSWORD=?";
/**
* 根据用户名,更新登陆时间和登录ip
* @param username
* @param date
* @param ip
*/
@Override
public void updateLoginTime(String username, Date date, String ip) {
//1. 获取连接
Connection conn = DruidUtil.getConnection();
PreparedStatement state = null;
//2. 预编译SQL语句
try {
state = conn.prepareStatement(SQL_UPDATE_LOGIN_TIME);
//3. 填充参数
state.setDate(1,new java.sql.Date(date.getTime()));
state.setString(2,ip);
state.setString(3,username);
//4. 执行
state.executeUpdate();
} catch (SQLException throwables) {
throwables.printStackTrace();
}finally {
//5. 释放资源
DruidUtil.close(conn,state,null);
}
}
/**
* 管理员根据账号密码登陆
* @param username 账号
* @param password 密码
* @return 登陆的结果, true表示登陆成功
*/
@Override
public boolean login(String username, String password) {
//1. 获取连接
Connection conn = DruidUtil.getConnection();
PreparedStatement state = null;
ResultSet rs = null;
//2. 预编译SQL语句
try {
state = conn.prepareStatement(SQL_LOGIN);
//3. 填充参数
state.setString(1,username);
state.setString(2,password);
//4. 执行并获取结果
rs = state.executeQuery();
//5. 根据查询结果,返回 有结果-true,无结果-false
return rs.next();
} catch (SQLException throwables) {
throwables.printStackTrace();
}finally {
//6. 释放资源
DruidUtil.close(conn,state,rs);
}
return false;
}
}
4.1.1管理员的登录功能。
(1)前端页面
<!DOCTYPE html>
<html lang="zh-CN">
<head>
<meta charset="UTF-8">
<meta http-equiv="X-UA-Compatible" content="IE=edge">
<meta name="viewport" content="width=device-width, initial-scale=1, maximum-scale=1">
<link rel="stylesheet" href="assets/css/layui.css">
<link rel="stylesheet" href="assets/css/login.css">
<link rel="icon" href="/favicon.ico">
<title>快递e栈管理后台</title>
</head>
<body class="login-wrap">
<div class="login-container">
<h3>快递e栈后台管理</h3>
<form class="login-form" action="index.html">
<div class="input-group">
<input type="text" id="username" class="input-field">
<label for="username" class="input-label">
<span class="label-title">用户名</span>
</label>
</div>
<div class="input-group">
<input type="password" id="password" class="input-field">
<label for="password" class="input-label">
<span class="label-title">密码</span>
</label>
</div>
<button type="button" class="login-button">登录<i class="ai ai-enter"></i></button>
</form>
</div>
</body>
<script src="assets/layui.js"></script>
<script src="js/index.js" data-main="login"></script>
<!--这个没加载到不影响-->
<script src="js/login.js" data-main="login"></script>
<!--这两个文件要后引入,因为会和前面的有冲突-->
<script src="../js/jquery2.1.4.js"></script>
<script src="../layer/layer.js"></script>
<!--<script src="../layer/layer.js"></script>-->
<script>
$(function(){
$(".login-button").click(function(){
// TODO 记得对于用户名和密码进行判断
var layer = layui.layer;
var username = $("#username").val();
var password = $("#password").val();
if(username == null || password == null || username == "" || password == ""){
alert("用户名或密码不能为空");
}else {
//1. 先使用layer,弹出load(提示加载中...)
var windowId = layer.load();
//2. ajax与服务器交互
$.post("login.do", {username: username, password: password}, function (data) {
//3. 关闭load窗口
layer.close(windowId);
//4. 将服务器回复的结果进行显示
layer.msg(data.result);
if (data.status == 0) {
//跳转到主页
location.assign("index.html");
}
//
}, "JSON");
}
});
});
</script>
</html>
(2)后端controller层方法
package com.kaikeba.controller;
import com.kaikeba.bean.Message;
import com.kaikeba.mvc.ResponseBody;
import com.kaikeba.service.AdminService;
import com.kaikeba.util.JSONUtil;
import javax.servlet.http.HttpServletRequest;
import javax.servlet.http.HttpServletResponse;
import java.util.Date;
/**
* @Description : TODO
* @Author : Administrator
* @Date : 2021/11/15 20:47
* @Version : 1.0
**/
public class AdminController {
@ResponseBody("/admin/login.do")
public String login(HttpServletRequest request, HttpServletResponse response){
//1. 接参数
String username = request.getParameter("username");
String password = request.getParameter("password");
//2. 调用Service传参数,并获取结果
boolean result = AdminService.login(username, password);
//3. 根据结果,准备不同的返回数据
Message msg = null;
if(result){
msg = new Message(0,"登录成功");//{status:0,result:"登录成功"}
//登录时间 和 ip的更新
Date date = new Date();
String ip = request.getRemoteAddr(); // getRemoteAddr:获取客户端的IP地址
AdminService.updateLoginTimeAndIP(username,date,ip);
request.getSession().setAttribute("adminUserName","username");
}else{
msg = new Message(-1,"登录失败");//{status:-1,result:"登录失败"}
}
//4. 将数据转换为JSON
String json = JSONUtil.toJSON(msg);
//5. 将JSON回复给ajax
return json;
}
}
4.1.2显示管理员用户名功能
AdminController中添加获取姓名方法:
@ResponseBody("/admin/getName.do")
public String getName(HttpServletRequest request, HttpServletResponse response){
String userName = UserUtil.getUserName(request.getSession());
Message msg = new Message();
msg.setStatus(0);
msg.setResult("查询成功");
msg.setData(userName);
String json = JSONUtil.toJSON(msg);
return json;
}
index.html部分:
$.post("/admin/getName.do",{},function (data) {
$("#adminName").text(data.data);
});
4.1.3管理员的退出功能
AdminController中添加退出登录方法:
@ResponseBody("/admin/logout.do")
public String logout(HttpServletRequest request, HttpServletResponse response){
HttpSession session = request.getSession();
session.removeAttribute("adminUserName");
Message msg = new Message();
msg.setStatus(0);
msg.setResult("退出成功");
String json = JSONUtil.toJSON(msg);
return json;
}
index.html完整代码:
<!DOCTYPE html>
<html lang="zh-CN">
<head>
<meta charset="UTF-8">
<meta http-equiv="X-UA-Compatible" content="IE=edge">
<meta name="viewport" content="width=device-width, initial-scale=1, maximum-scale=1">
<link rel="stylesheet" href="assets/css/layui.css">
<link rel="stylesheet" href="assets/css/admin.css">
<link rel="icon" href="/favicon.ico">
<title>快递e栈管理后台</title>
</head>
<body class="layui-layout-body">
<div class="layui-layout layui-layout-admin">
<div class="layui-header custom-header">
<ul class="layui-nav layui-layout-left">
<li class="layui-nav-item slide-sidebar" lay-unselect>
<a href="javascript:;" class="icon-font"><i class="ai ai-menufold"></i></a>
</li>
</ul>
<ul class="layui-nav layui-layout-right">
<li class="layui-nav-item">
<a><span id="adminName">aaaaaaa</span></a>
<dl class="layui-nav-child">
<dd><a href="#">帮助中心</a></dd>
<dd><a id="logout" href="login.html">退出</a></dd>
</dl>
</li>
</ul>
</div>
<div class="layui-side custom-admin">
<div class="layui-side-scroll">
<div class="custom-logo">
<img src="assets/images/logo.gif" alt=""/>
<h1>快递e栈</h1>
</div>
<ul id="Nav" class="layui-nav layui-nav-tree">
<li class="layui-nav-item">
<a href="javascript:;">
<i class="layui-icon"></i>
<em>主页</em>
</a>
<dl class="layui-nav-child">
<dd><a href="views/console.html"><i class="layui-icon"></i> 控制台</a></dd>
</dl>
</li>
<li class="layui-nav-item">
<a href="javascript:;">
<i class="layui-icon"></i>
<em>快递员管理</em>
</a>
<dl class="layui-nav-child">
<dd><a href="views/courier/list.html"><i class="layui-icon"></i> 快递员列表</a></dd>
<dd><a href="views/courier/add.html"><i class="layui-icon"></i> 快递员录入</a></dd>
<dd><a href="views/courier/update.html"><i class="layui-icon"></i> 快递员修改</a></dd>
<dd><a href="views/courier/delete.html"><i class="layui-icon"></i> 快递员删除</a></dd>
</dl>
</li>
<li class="layui-nav-item">
<a href="javascript:;">
<i class="layui-icon"></i>
<em>快件管理</em>
</a>
<dl class="layui-nav-child">
<dd><a href="views/express/list.html"><i class="layui-icon"></i> 快件列表</a></dd>
<dd><a href="views/express/add.html"><i class="layui-icon"></i> 快件录入</a></dd>
<dd><a href="views/express/update.html"><i class="layui-icon"></i> 快件修改</a></dd>
<dd><a href="views/express/delete.html"><i class="layui-icon"></i> 快件删除</a></dd>
</dl>
</li>
<li class="layui-nav-item">
<a href="javascript:;">
<i class="layui-icon"></i>
<em>用户管理</em>
</a>
<dl class="layui-nav-child">
<dd><a href="views/user/list.html"><i class="layui-icon"></i> 用户列表</a></dd>
<dd><a href="views/user/add.html"><i class="layui-icon"></i> 用户增加</a></dd>
<dd><a href="views/user/update.html"><i class="layui-icon"></i> 用户修改</a></dd>
<dd><a href="views/user/delete.html"><i class="layui-icon"></i> 用户删除</a></dd>
</dl>
</li>
</ul>
</div>
</div>
<div class="layui-body">
<div class="layui-tab app-container" lay-allowClose="true" lay-filter="tabs">
<ul id="appTabs" class="layui-tab-title custom-tab"></ul>
<div id="appTabPage" class="layui-tab-content"></div>
</div>
</div>
<div class="layui-footer">
<p>©2020 <a href="http://www.itdage.com/" target="_blank">李伟杰版权声明</a></p>
</div>
<div class="mobile-mask"></div>
</div>
<script src="assets/layui.js"></script>
<script src="js/index.js" data-main="home"></script>
<script>
$(function () {
$.post("/admin/getName.do",{},function (data) {
$("#adminName").text(data.data);
});
$("#logout").click(function () {
var windowId = layer.load();
$.post("/admin/logout.do",{},function (data) {
layer.msg(data.result);
layer.close(windowId);
location.href = "/admin/login.html";
})
});
});
</script>
</body>
</html>
4.2快递的CRUD及对应控制台的显示
因为感觉快递员的CRUD和用户的CRUD都与快递的CRUD没什么差别。所以哪两个就不写了。
这里涉及到了我们自定义的异常类。
本来想把控制台的显示拿出来的,但是仔细想想,没必要。
4.2.1API编写流程
#### 快递 部分
##### 1. 用于获取控制台所需的快递数据
请求地址:express/console.do
参数列表:无
返回的格式示例:
{
status:0,
reuslt:"获取成功",
data:[
{//全部的快递
size:1000,//快递总数
day:100//今日新增
},{//待取件快递
size:500,//待取件数
day:100//今日新增
}
]
}
##### 2. 快件列表(分页)
请求地址:express/findAll.do
参数列表:
1. limit:
值:0,表示开启分页(默认)
值:1,表示查询所有
2. offset:
值:数字,表示SQL语句起始索引
3. pageNumber:
值:数字,表示获取的快递数量
返回的格式示例:
##### 3.根据单号查询快递信息
请求地址:express/findByNumber.do
参数列表:
1. number:快递单号
返回的格式示例:
##### 4. 根据取件码查询快递信息
请求地址:express/findByCode.do
参数列表:
1. code:取件码
返回的格式示例:
##### 5. 根据用户的手机号,查询快递信息
请求地址:express/findByUserPhone.do
参数列表:
1. phoneNumber:手机号码
2. status:
值:0表示查询待取件的快递(默认)
值:1表示查询已取件的快递
值:2表示查询用户的所有快递
返回的格式示例:
##### 6.根据录入人的手机号,查询快递信息(快递员/柜子的历史记录)
请求地址:express/findBySysPhone.do
参数列表:
1. sysPhone:手机号码
返回的格式示例:
##### 7.进行快递数量的排序查询(用户表)
请求地址:express/lazyboard.do
参数列表:
1. type:
值:0,表示查询总排名
值:1,表示查询年排名
值:2,表示查询月排名
返回的格式示例:
##### 8.快件录入
请求地址:express/insert.do
参数列表:
1. number:快递单号
2. company:快递公司
3. username:收件人姓名
4. userPhone:收件人手机号码
录入成功返回的格式示例:
录入失败返回的格式示例:
##### 9. 修改快递信息
请求地址:express/update.do
参数列表:
1. id:要修改的快递id
2. number:新的快递单号
3. company:新的快递公司
4. username:新的收货人姓名
5. userPhone:新的收件人手机号码,(手机号码更新,重新生成取件码,并发送短信)
6. status:新的快递的状态
返回的格式示例:
##### 10. 根据id删除快递信息
请求地址:express/delete.do
参数列表:
1. id: 要删除的快递的id
返回的格式示例:
##### 11.确认取件
请求地址:express/updateStatus.do
参数列表:
number:要更改状态为已取件的快递单号
返回的格式示例:
4.2.2sql语句编写
//用于查询数据库中的全部快递(总数+新增),待取件快递(总数+新增)
public static final String SQL_CONSOLE = "SELECT " +
"COUNT(ID) data1_size," +
"COUNT(TO_DAYS(INTIME)=TO_DAYS(NOW()) OR NULL) data1_day," +
"COUNT(STATUS=0 OR NULL) data2_size," +
"COUNT(TO_DAYS(INTIME)=TO_DAYS(NOW()) AND STATUS=0 OR NULL) data2_day" +
" FROM EXPRESS";
//用于查询数据库中的所有快递信息
public static final String SQL_FIND_ALL = "SELECT * FROM EXPRESS";
//用于分页查询数据库中的快递信息
public static final String SQL_FIND_LIMIT = "SELECT * FROM EXPRESS LIMIT ?,?";
//通过取件码查询快递信息
public static final String SQL_FIND_BY_CODE = "SELECT * FROM EXPRESS WHERE CODE=?";
//通过快递单号查询快递信息
public static final String SQL_FIND_BY_NUMBER = "SELECT * FROM EXPRESS WHERE NUMBER=?";
//通过录入人手机号查询快递信息
public static final String SQL_FIND_BY_SYSPHONE = "SELECT * FROM EXPRESS WHERE SYSPHONE=?";
//通过用户手机号查询用户所有快递
public static final String SQL_FIND_BY_USERPHONE = "SELECT * FROM EXPRESS WHERE USERPHONE=?";
//录入快递
public static final String SQL_INSERT = "INSERT INTO EXPRESS (NUMBER,USERNAME,USERPHONE,COMPANY,CODE,INTIME,STATUS,SYSPHONE) VALUES(?,?,?,?,?,NOW(),0,?)";
//快递修改
public static final String SQL_UPDATE = "UPDATE EXPRESS SET NUMBER=?,USERNAME=?,COMPANY=?,STATUS=? WHERE ID=?";
//快递的状态码改变(取件)
public static final String SQL_UPDATE_STATUS = "UPDATE EXPRESS SET STATUS=1,OUTTIME=NOW(),CODE=NULL WHERE CODE=?";
//快递的删除
public static final String SQL_DELETE = "DELETE FROM EXPRESS WHERE ID=?";
4.2.3快递相关的dao
步骤:
1.获取数据库连接
2.预编译sql
3.填充参数(可选)
4.执行sql
5.获取执行结果
6.资源释放
dao
接口:
package com.kaikeba.dao;
import com.kaikeba.bean.Express;
import com.kaikeba.exception.DuplicateCodeException;
import java.util.List;
import java.util.Map;
/**
* 跟快递有关的dao层接口
*/
public interface BaseExpressDao {
/**
* 用于查询数据库中的全部快递(总数+新增),待取件快递(总数+新增)
* @return [{size:总数,day:新增},{size:总数,day:新增}]
*/
List<Map<String,Integer>> console();
/**
* 用于查询所有快递
* @param limit 是否分页的标记,true表示分页。false表示查询所有快递
* @param offset SQL语句的起始索引
* @param pageNumber 页查询的数量
* @return 快递的集合
*/
List<Express> findAll(boolean limit,int offset,int pageNumber);
/**
* 根据快递单号,查询快递信息
* @param number 单号
* @return 查询的快递信息,单号不存在时返回null
*/
Express findByNumber(String number);
/**
* 根据快递取件码,查询快递信息
* @param code 取件码
* @return 查询的快递信息,取件码不存在时返回null
*/
Express findByCode(String code);
/**
* 根据用户手机号码,查询他所有的快递信息
* @param userPhone 手机号码
* @return 查询的快递信息列表
*/
List<Express> findByUserPhone(String userPhone);
/**
* 根据录入人手机号码,查询录入的所有记录
* @param sysPhone 手机号码
* @return 查询的快递信息列表
*/
List<Express> findBySysPhone(String sysPhone);
/**
* 快递的录入
* @param e 要录入的快递对象
* @return 录入的结果,true表示成功,false表示失败
*/
boolean insert(Express e) throws DuplicateCodeException;
/**
* 快递的修改
* @param id 要修改的快递id
* @param newExpress 新的快递对象(number,company,username,userPhone)
* @return 修改的结果,true表示成功,false表示失败
*/
boolean update(int id,Express newExpress);
/**
* 更改快递的状态为1,表示取件完成
* @param code 要修改的快递取件码
* @return 修改的结果,true表示成功,false表示失败
*/
boolean updateStatus(String code);
/**
* 根据id,删除单个快递信息
* @param id 要删除的快递id
* @return 删除的结果,true表示成功,false表示失败
*/
boolean delete(int id);
}
完整实现:
package com.kaikeba.dao.impl;
import com.kaikeba.bean.Express;
import com.kaikeba.dao.BaseExpressDao;
import com.kaikeba.exception.DuplicateCodeException;
import com.kaikeba.util.DruidUtil;
import java.sql.*;
import java.util.ArrayList;
import java.util.HashMap;
import java.util.List;
import java.util.Map;
/**
* @Description : TODO
* @Author : Administrator
* @Date : 2021/11/16 15:31
* @Version : 1.0
**/
public class ExpressDaoMysql implements BaseExpressDao {
//用于查询数据库中的全部快递(总数+新增),待取件快递(总数+新增)
public static final String SQL_CONSOLE = "SELECT " +
"COUNT(ID) data1_size," +
"COUNT(TO_DAYS(INTIME)=TO_DAYS(NOW()) OR NULL) data1_day," +
"COUNT(STATUS=0 OR NULL) data2_size," +
"COUNT(TO_DAYS(INTIME)=TO_DAYS(NOW()) AND STATUS=0 OR NULL) data2_day" +
" FROM EXPRESS";
//用于查询数据库中的所有快递信息
public static final String SQL_FIND_ALL = "SELECT * FROM EXPRESS";
//用于分页查询数据库中的快递信息
public static final String SQL_FIND_LIMIT = "SELECT * FROM EXPRESS LIMIT ?,?";
//通过取件码查询快递信息
public static final String SQL_FIND_BY_CODE = "SELECT * FROM EXPRESS WHERE CODE=?";
//通过快递单号查询快递信息
public static final String SQL_FIND_BY_NUMBER = "SELECT * FROM EXPRESS WHERE NUMBER=?";
//通过录入人手机号查询快递信息
public static final String SQL_FIND_BY_SYSPHONE = "SELECT * FROM EXPRESS WHERE SYSPHONE=?";
//通过用户手机号查询用户所有快递
public static final String SQL_FIND_BY_USERPHONE = "SELECT * FROM EXPRESS WHERE USERPHONE=?";
//录入快递
public static final String SQL_INSERT = "INSERT INTO EXPRESS (NUMBER,USERNAME,USERPHONE,COMPANY,CODE,INTIME,STATUS,SYSPHONE) VALUES(?,?,?,?,?,NOW(),0,?)";
//快递修改
public static final String SQL_UPDATE = "UPDATE EXPRESS SET NUMBER=?,USERNAME=?,COMPANY=?,STATUS=? WHERE ID=?";
//快递的状态码改变(取件)
public static final String SQL_UPDATE_STATUS = "UPDATE EXPRESS SET STATUS=1,OUTTIME=NOW(),CODE=NULL WHERE CODE=?";
//快递的删除
public static final String SQL_DELETE = "DELETE FROM EXPRESS WHERE ID=?";
/**
* 用于查询数据库中的全部快递(总数+新增),待取件快递(总数+新增)
*
* @return [{size:总数,day:新增},{size:总数,day:新增}]
*/
@Override
public List<Map<String, Integer>> console() {
ArrayList<Map<String,Integer>> data = new ArrayList<>();
//1. 获取数据库的连接
Connection conn = DruidUtil.getConnection();
PreparedStatement state = null;
ResultSet result = null;
//2. 预编译SQL语句
try {
state = (PreparedStatement) conn.prepareStatement(SQL_CONSOLE);
//3. 填充参数(可选)
//4. 执行SQL语句
result = state.executeQuery();
//5. 获取执行的结果
if(result.next()){
int data1_size = result.getInt("data1_size");
int data1_day = result.getInt("data1_day");
int data2_size = result.getInt("data2_size");
int data2_day = result.getInt("data2_day");
Map data1 = new HashMap();
data1.put("data1_size",data1_size);
data1.put("data1_day",data1_day);
Map data2 = new HashMap();
data2.put("data2_size",data2_size);
data2.put("data2_day",data2_day);
data.add(data1);
data.add(data2);
}
//6. 资源的释放
} catch (SQLException throwables) {
throwables.printStackTrace();
}finally {
DruidUtil.close(conn,state,result);
}
return data;
}
/**
* 用于查询所有快递
*
* @param limit 是否分页的标记,true表示分页。false表示查询所有快递
* @param offset SQL语句的起始索引
* @param pageNumber 页查询的数量
* @return 快递的集合
*/
@Override
public List<Express> findAll(boolean limit, int offset, int pageNumber) {
ArrayList<Express> data = new ArrayList<>();
//1. 获取数据库的连接
Connection conn = DruidUtil.getConnection();
PreparedStatement state = null;
ResultSet result = null;
//2. 预编译SQL语句
try {
if(limit) {
state = (PreparedStatement) conn.prepareStatement(SQL_FIND_LIMIT);
//3. 填充参数(可选)
state.setInt(1,offset);
state.setInt(2,pageNumber);
}else {
state = (PreparedStatement) conn.prepareStatement(SQL_FIND_ALL);
}
//4. 执行SQL语句
result = state.executeQuery();
//5. 获取执行的结果
while(result.next()){
int id = result.getInt("id");
String number = result.getString("number");
String username = result.getString("username");
String userPhone = result.getString("userPhone");
String company = result.getString("company");
String code = result.getString("code");
Timestamp inTime = result.getTimestamp("inTime");
Timestamp outTime = result.getTimestamp("outTime");
int status = result.getInt("status");
String sysPhone = result.getString("sysPhone");
Express e = new Express(id,number,username,userPhone,company,code,inTime,outTime,status,sysPhone);
data.add(e);
}
//6. 资源的释放
} catch (SQLException throwables) {
throwables.printStackTrace();
}finally {
DruidUtil.close(conn,state,result);
}
return data;
}
/**
* 根据快递单号,查询快递信息
*
* @param number 单号
* @return 查询的快递信息,单号不存在时返回null
*/
@Override
public Express findByNumber(String number) {
//1. 获取数据库的连接
Connection conn = DruidUtil.getConnection();
PreparedStatement state = null;
ResultSet result = null;
//2. 预编译SQL语句
try {
state = (PreparedStatement) conn.prepareStatement(SQL_FIND_BY_NUMBER);
//3. 填充参数(可选)
state.setString(1,number);
//4. 执行SQL语句
result = state.executeQuery();
//5. 获取执行的结果
if(result.next()){
int id = result.getInt("id");
String username = result.getString("username");
String userPhone = result.getString("userPhone");
String company = result.getString("company");
String code = result.getString("code");
Timestamp inTime = result.getTimestamp("inTime");
Timestamp outTime = result.getTimestamp("outTime");
int status = result.getInt("status");
String sysPhone = result.getString("sysPhone");
Express e = new Express(id,number,username,userPhone,company,code,inTime,outTime,status,sysPhone);
return e;
}
//6. 资源的释放
} catch (SQLException throwables) {
throwables.printStackTrace();
}finally {
DruidUtil.close(conn,state,result);
}
return null;
}
/**
* 根据快递取件码,查询快递信息
*
* @param code 取件码
* @return 查询的快递信息,取件码不存在时返回null
*/
@Override
public Express findByCode(String code) {
//1. 获取数据库的连接
Connection conn = DruidUtil.getConnection();
PreparedStatement state = null;
ResultSet result = null;
//2. 预编译SQL语句
try {
state = conn.prepareStatement(SQL_FIND_BY_CODE);
//3. 填充参数(可选)
state.setString(1,code);
//4. 执行SQL语句
result = state.executeQuery();
//5. 获取执行的结果
if(result.next()){
int id = result.getInt("id");
String username = result.getString("username");
String number = result.getString("number");
String userPhone = result.getString("userPhone");
String company = result.getString("company");
Timestamp inTime = result.getTimestamp("inTime");
Timestamp outTime = result.getTimestamp("outTime");
int status = result.getInt("status");
String sysPhone = result.getString("sysPhone");
Express e = new Express(id,number,username,userPhone,company,code,inTime,outTime,status,sysPhone);
return e;
}
//6. 资源的释放
} catch (SQLException throwables) {
throwables.printStackTrace();
}finally {
DruidUtil.close(conn,state,result);
}
return null;
}
/**
* 根据用户手机号码,查询他所有的快递信息
*
* @param userPhone 手机号码
* @return 查询的快递信息列表
*/
@Override
public List<Express> findByUserPhone(String userPhone) {
ArrayList<Express> data = new ArrayList<>();
//1. 获取数据库的连接
Connection conn = DruidUtil.getConnection();
PreparedStatement state = null;
ResultSet result = null;
//2. 预编译SQL语句
try {
state = conn.prepareStatement(SQL_FIND_BY_USERPHONE);
//3. 填充参数(可选)
state.setString(1,userPhone);
//4. 执行SQL语句
result = state.executeQuery();
//5. 获取执行的结果
while(result.next()){
int id = result.getInt("id");
String number = result.getString("number");
String username = result.getString("username");
String company = result.getString("company");
String code = result.getString("code");
Timestamp inTime = result.getTimestamp("inTime");
Timestamp outTime = result.getTimestamp("outTime");
int status = result.getInt("status");
String sysPhone = result.getString("sysPhone");
Express e = new Express(id,number,username,userPhone,company,code,inTime,outTime,status,sysPhone);
data.add(e);
}
//6. 资源的释放
} catch (SQLException throwables) {
throwables.printStackTrace();
}finally {
DruidUtil.close(conn,state,result);
}
return data;
}
/**
* 根据录入人手机号码,查询录入的所有记录
*
* @param sysPhone 手机号码
* @return 查询的快递信息列表
*/
@Override
public List<Express> findBySysPhone(String sysPhone) {
ArrayList<Express> data = new ArrayList<>();
//1. 获取数据库的连接
Connection conn = DruidUtil.getConnection();
PreparedStatement state = null;
ResultSet result = null;
//2. 预编译SQL语句
try {
state = conn.prepareStatement(SQL_FIND_BY_SYSPHONE);
//3. 填充参数(可选)
state.setString(1,sysPhone);
//4. 执行SQL语句
result = state.executeQuery();
//5. 获取执行的结果
while(result.next()){
int id = result.getInt("id");
String number = result.getString("number");
String username = result.getString("username");
String company = result.getString("company");
String userPhone = result.getString("userPhone");
String code = result.getString("code");
Timestamp inTime = result.getTimestamp("inTime");
Timestamp outTime = result.getTimestamp("outTime");
int status = result.getInt("status");
Express e = new Express(id,number,username,userPhone,company,code,inTime,outTime,status,sysPhone);
data.add(e);
}
//6. 资源的释放
} catch (SQLException throwables) {
throwables.printStackTrace();
}finally {
DruidUtil.close(conn,state,result);
}
return data;
}
/**
* 快递的录入
* INSERT INTO EXPRESS (NUMBER,USERNAME,USERPHONE,COMPANY,CODE,INTIME,STATUS,SYSPHONE) VALUES(?,?,?,?,?,NOW(),0,?)
* @param e 要录入的快递对象
* @return 录入的结果,true表示成功,false表示失败
*/
@Override
public boolean insert(Express e) throws DuplicateCodeException {
//1. 连接的获取
Connection conn = DruidUtil.getConnection();
//2. 预编译SQL语句
PreparedStatement state = null;
try {
state = conn.prepareStatement(SQL_INSERT);
//3. 填充参数
state.setString(1,e.getNumber());
state.setString(2,e.getUsername());
state.setString(3,e.getUserPhone());
state.setString(4,e.getCompany());
state.setString(5,e.getCode());
state.setString(6,e.getSysPhone());
//4. 执行SQL语句,并获取执行结果
return state.executeUpdate()>0?true:false;
} catch (SQLException e1) {
/*throwables.printStackTrace();*/
if(e1.getMessage().endsWith("for key 'code'")){
//是因为取件码重复,而出现了异常
DuplicateCodeException e2 = new DuplicateCodeException(e1.getMessage());
throw e2;
}else{
e1.printStackTrace();
}
}finally {
//5. 释放资源
DruidUtil.close(conn,state,null);
}
return false;
}
/**
* 快递的修改
* UPDATE EXPRESS SET NUMBER=?,USERNAME=?,COMPANY=?,STATUS=? WHERE ID=?
* @param id 要修改的快递id
* @param newExpress 新的快递对象(number,company,username,userPhone)
* @return 修改的结果,true表示成功,false表示失败
*/
@Override
public boolean update(int id, Express newExpress) {
//1. 连接的获取
Connection conn = DruidUtil.getConnection();
PreparedStatement state = null;
//2. 预编译SQL语句
try {
state = conn.prepareStatement(SQL_UPDATE);
state.setString(1,newExpress.getNumber());
state.setString(2,newExpress.getUsername());
state.setString(3,newExpress.getCompany());
state.setInt(4,newExpress.getStatus());
state.setInt(5,id);
return state.executeUpdate()>0?true:false;
} catch (SQLException throwables) {
throwables.printStackTrace();
}finally {
DruidUtil.close(conn,state,null);
}
return false;
}
/**
* 更改快递的状态为1,表示取件完成
*
* @param code 要修改的快递单号
* @return 修改的结果,true表示成功,false表示失败
*/
@Override
public boolean updateStatus(String code) {
//1. 连接的获取
Connection conn = DruidUtil.getConnection();
PreparedStatement state = null;
//2. 预编译SQL语句
try {
state = conn.prepareStatement(SQL_UPDATE_STATUS);
state.setString(1,code);
return state.executeUpdate()>0?true:false;
} catch (SQLException throwables) {
throwables.printStackTrace();
}finally {
DruidUtil.close(conn,state,null);
}
return false;
}
/**
* 根据id,删除单个快递信息
*
* @param id 要删除的快递id
* @return 删除的结果,true表示成功,false表示失败
*/
@Override
public boolean delete(int id) {
//1. 连接的获取
Connection conn = DruidUtil.getConnection();
PreparedStatement state = null;
//2. 预编译SQL语句
try {
state = conn.prepareStatement(SQL_DELETE);
state.setInt(1,id);
return state.executeUpdate()>0?true:false;
} catch (SQLException throwables) {
throwables.printStackTrace();
}finally {
DruidUtil.close(conn,state,null);
}
return false;
}
}
4.2.4service
package com.kaikeba.service;
import com.kaikeba.bean.Express;
import com.kaikeba.dao.BaseExpressDao;
import com.kaikeba.dao.impl.ExpressDaoMysql;
import com.kaikeba.exception.DuplicateCodeException;
import com.kaikeba.util.RandomUtil;
import java.util.List;
import java.util.Map;
/**
* @Description : 快递相关服务层
* @Author : Administrator
* @Date : 2021/11/17 7:48
* @Version : 1.0
**/
public class ExpressService {
private static BaseExpressDao dao = new ExpressDaoMysql();
/**
* 用于查询数据库中的全部快递(总数+新增),待取件快递(总数+新增)
*
* @return [{size:总数,day:新增},{size:总数,day:新增}]
*/
public static List<Map<String, Integer>> console() {
return dao.console();
}
/**
* 用于查询所有快递
*
* @param limit 是否分页的标记,true表示分页。false表示查询所有快递
* @param offset SQL语句的起始索引
* @param pageNumber 页查询的数量
* @return 快递的集合
*/
public static List<Express> findAll(boolean limit, int offset, int pageNumber) {
return dao.findAll(limit,offset,pageNumber);
}
/**
* 根据快递单号,查询快递信息
*
* @param number 单号
* @return 查询的快递信息,单号不存在时返回null
*/
public static Express findByNumber(String number) {
return dao.findByNumber(number);
}
/**
* 根据快递取件码,查询快递信息
*
* @param code 取件码
* @return 查询的快递信息,取件码不存在时返回null
*/
public static Express findByCode(String code) {
return dao.findByCode(code);
}
/**
* 根据用户手机号码,查询他所有的快递信息
*
* @param userPhone 手机号码
* @return 查询的快递信息列表
*/
public static List<Express> findByUserPhone(String userPhone) {
return dao.findByUserPhone(userPhone);
}
/**
* 根据录入人手机号码,查询录入的所有记录
*
* @param sysPhone 手机号码
* @return 查询的快递信息列表
*/
public static List<Express> findBySysPhone(String sysPhone) {
return dao.findBySysPhone(sysPhone);
}
/**
* 快递的录入
*
* @param e 要录入的快递对象
* @return 录入的结果,true表示成功,false表示失败
*/
public static boolean insert(Express e){
//1. 生成了取件码
e.setCode(RandomUtil.getCode()+"");
try {
boolean flag = dao.insert(e);
return flag;
} catch (DuplicateCodeException duplicateCodeException) {
return insert(e);
}
}
/**
* 快递的修改
*
* @param id 要修改的快递id
* @param newExpress 新的快递对象(number,company,username,userPhone)
* @return 修改的结果,true表示成功,false表示失败
*
*
* 逻辑 BUG ,
*/
public static boolean update(int id, Express newExpress) {
if(newExpress.getUserPhone()!=null){// 如果用户的手机号不等于空,(修改的时候直接带手机号不好吗)
dao.delete(id);
return insert(newExpress);
}else{
boolean update = dao.update(id, newExpress);
Express e = dao.findByNumber(newExpress.getNumber());
if(newExpress.getStatus() == 1){
updateStatus(e.getCode());
}
return update;
}
}
/**
* 更改快递的状态为1,表示取件完成
*
* @param code 要修改的快递取件码
* @return 修改的结果,true表示成功,false表示失败
*/
public static boolean updateStatus(String code) {
return dao.updateStatus(code);
}
/**
* 根据id,删除单个快递信息
*
* @param id 要删除的快递id
* @return 删除的结果,true表示成功,false表示失败
*/
public static boolean delete(int id) {
return dao.delete(id);
}
}
4.2.5控制台显示
ExpressController :
package com.kaikeba.controller;
import com.kaikeba.bean.BootStrapTableExpress;
import com.kaikeba.bean.Express;
import com.kaikeba.bean.Message;
import com.kaikeba.bean.ResultData;
import com.kaikeba.mvc.ResponseBody;
import com.kaikeba.service.ExpressService;
import com.kaikeba.util.DataFormatUtil;
import com.kaikeba.util.JSONUtil;
import com.kaikeba.util.UserUtil;
import javax.servlet.http.HttpServletRequest;
import javax.servlet.http.HttpServletResponse;
import java.util.ArrayList;
import java.util.List;
import java.util.Map;
/**
* @Description : TODO
* @Author : Administrator
* @Date : 2021/11/17 11:17
* @Version : 1.0
**/
public class ExpressController {
@ResponseBody("/express/console.do")
public String console(HttpServletRequest request, HttpServletResponse response){
List<Map<String, Integer>> data = ExpressService.console();
Message msg = new Message();
if(data.size() == 0){
msg.setStatus(-1);
}else {
msg.setStatus(0);
}
msg.setData(data);
String json = JSONUtil.toJSON(msg);
return json;
}
}
前端页面:
<!DOCTYPE html>
<html>
<head>
<meta charset="UTF-8">
<meta http-equiv="X-UA-Compatible" content="IE=edge">
<link rel="stylesheet" href="../assets/css/layui.css">
<link rel="stylesheet" href="../assets/css/view.css"/>
<script src="../assets/echarts.min.js"></script>
<script src="../../js/jquery2.1.4.js"></script>
<title></title>
</head>
<body class="layui-view-body">
<div class="layui-content">
<div class="layui-row layui-col-space20">
<div class="layui-col-sm6 layui-col-md6">
<div class="layui-card">
<div class="layui-card-body chart-card">
<div class="chart-header">
<div class="metawrap">
<div class="meta">
<span>用户人数</span>
</div>
<div id="data_size" class="total">-</div>
</div>
</div>
<div class="chart-body">
<div class="contentwrap">
</div>
</div>
<div class="chart-footer">
<div class="field">
<span>日注册量</span>
<span id="data_day">-</span>
</div>
</div>
</div>
</div>
</div>
<div class="layui-col-sm6 layui-col-md6">
<div class="layui-card">
<div class="layui-card-body chart-card">
<div class="chart-header">
<div class="metawrap">
<div class="meta">
<span>快递员人数</span>
</div>
<div id="data_size3" class="total">-</div>
</div>
</div>
<div class="chart-body">
<div class="contentwrap">
</div>
</div>
<div class="chart-footer">
<div class="field">
<span>日注册量</span>
<span id="data_day3">-</span>
</div>
</div>
</div>
</div>
</div>
<div class="layui-col-sm6 layui-col-md6">
<div class="layui-card">
<div class="layui-card-body chart-card">
<div class="chart-header">
<div class="metawrap">
<div class="meta">
<span>总快件数</span>
</div>
<div id="data1_size" class="total">-</div>
</div>
</div>
<div class="chart-body">
<div class="contentwrap">
</div>
</div>
<div class="chart-footer">
<div class="field">
<span>日派单量</span>
<span id="data1_day">-</span>
</div>
</div>
</div>
</div>
</div>
<div class="layui-col-sm6 layui-col-md6">
<div class="layui-card">
<div class="layui-card-body chart-card">
<div class="chart-header">
<div class="metawrap">
<div class="meta">
<span>待取件数</span>
</div>
<div id="data2_size" class="total">-</div>
</div>
</div>
<div class="chart-body">
<div class="contentwrap">
</div>
</div>
<div class="chart-footer">
<div class="field">
<span>新增数量</span>
<span id="data2_day">-</span>
</div>
</div>
</div>
</div>
</div>
<div class="layui-col-sm12 layui-col-md12">
<div class="layui-card">
<div class="layui-tab layui-tab-brief">
<ul class="layui-tab-title">
<li class="layui-this">实时快件区域分布图</li>
</ul>
<div class="layui-tab-content">
<div class="layui-tab-item layui-show">
<iframe src="map.html" style="width:100%;height:600px;"></iframe>
</div>
</div>
</div>
</div>
</div>
</div>
</div>
<script src="../assets/layui.all.js"></script>
<script>
var element = layui.element;
</script>
<script>
$(function(){
//1. ajax与服务器交互
$.post("/express/console.do",null,function(data){
if(data.status == 0){
//[{size:总数,day:新增},{size:总数,day:新增}]
$("#data1_size").html(data.data[0].data1_size);
$("#data1_day").html(data.data[0].data1_day);
$("#data2_size").html(data.data[1].data2_size);
$("#data2_day").html(data.data[1].data2_day);
}
},"JSON");
$.post("/user/console.do",null,function(data){
if(data.status == 0){
//[{size:总数,day:新增},{size:总数,day:新增}]
$("#data_size").html(data.data[0].data_size);
$("#data_day").html(data.data[0].data_day);
}
},"JSON");
$.post("/courier/console.do",null,function(data){
if(data.status == 0){
//[{size:总数,day:新增},{size:总数,day:新增}]
$("#data_size3").html(data.data[0].data_size3);
$("#data_day3").html(data.data[0].data_day3);
}
},"JSON");
});
</script>
</body>
</html>
4.2.6分页列表
ExpressController :
@ResponseBody("/express/list.do")
public String list(HttpServletRequest request, HttpServletResponse response){
//1. 获取查询数据的起始索引值
int offset = Integer.parseInt(request.getParameter("offset"));
//2. 获取当前页要查询的数据量
int pageNumber = Integer.parseInt(request.getParameter("pageNumber"));
//3. 进行查询
List<Express> list = ExpressService.findAll(true, offset, pageNumber);
List<BootStrapTableExpress> list2 = new ArrayList<>();
for(Express e:list){
String inTime = DataFormatUtil.format(e.getInTime());
String outTime = e.getOutTime()==null?"未出库":DataFormatUtil.format(e.getOutTime());
String status = e.getStatus()==0?"待取件":"已取件";
String code = e.getCode()==null?"已取件":e.getCode();
BootStrapTableExpress e2 = new BootStrapTableExpress(e.getId(),e.getNumber(),e.getUsername(),e.getUserPhone(),e.getCompany(),code,inTime,outTime,status,e.getSysPhone());
list2.add(e2);
}
List<Map<String, Integer>> console = ExpressService.console();
Integer total = console.get(0).get("data1_size");
//4. 将集合封装为 bootstrap-table识别的格式
ResultData<BootStrapTableExpress> data = new ResultData<>();
data.setRows(list2);
data.setTotal(total);
String json = JSONUtil.toJSON(data);
return json;
}
前端页面
<!DOCTYPE html>
<html>
<head>
<meta charset="utf-8">
<title></title>
<link rel="stylesheet" type="text/css" href="../../css/reset.css"/>
<link rel="stylesheet" type="text/css" href="../../css/list.css"/>
<link href="https://cdn.bootcdn.net/ajax/libs/bootstrap-table/1.17.1/bootstrap-table.min.css" rel="stylesheet">
<link rel="stylesheet" href="https://cdn.jsdelivr.net/npm/bootstrap@3.3.7/dist/css/bootstrap.min.css" integrity="sha384-BVYiiSIFeK1dGmJRAkycuHAHRg32OmUcww7on3RYdg4Va+PmSTsz/K68vbdEjh4u" crossorigin="anonymous">
<script src="https://cdn.bootcdn.net/ajax/libs/jquery/3.5.1/jquery.min.js"></script>
<script src="https://cdn.jsdelivr.net/npm/bootstrap@3.3.7/dist/js/bootstrap.min.js" integrity="sha384-Tc5IQib027qvyjSMfHjOMaLkfuWVxZxUPnCJA7l2mCWNIpG9mGCD8wGNIcPD7Txa" crossorigin="anonymous"></script>
<script src="https://cdn.bootcdn.net/ajax/libs/bootstrap-table/1.17.1/bootstrap-table.min.js"></script>
<script src="https://cdn.bootcdn.net/ajax/libs/bootstrap-table/1.17.1/locale/bootstrap-table-zh-CN.min.js"></script>
</head>
<body>
<table id="express_list"></table>
<script>
$(function(){
$("#express_list").bootstrapTable({
url:"/express/list.do",//数据地址
striped:true,//是否显示行的间隔
pageNumber:1,//初始化加载第几页
pagination:true,//是否分页
sidePagination:'server',//服务器端分页
pageSize:5,// 每一页显示的数量
pageList:[5,10,20],//设置每页记录条数的列表
showRefresh:true,//显示刷新的按钮
queryParams:function(params){// 发送给服务器的数据
var temp = {
offset:params.offset,
pageNumber:params.limit
};
return temp;
},
columns:[
{
title:"编号",
field:"id",
sortable:false
},
{
title:"单号",
field:"number",
sortable:false
},
{
title:"姓名",
field:"username",
sortable:false
},
{
title:"电话",
field:"userPhone",
sortable:false
},
{
title:"快递公司",
field:"company",
sortable:false
},
{
title:"取件码",
field:"code",
sortable:false
},
{
title:"入库时间",
field:"inTime",
sortable:false
},
{
title:"出库时间",
field:"outTime",
sortable:false
},
{
title:"状态",
field:"status",
sortable:false
},
{
title:"录入人电话",
field:"sysPhone",
sortable:false
}
]
});
});
</script>
</body>
</html>
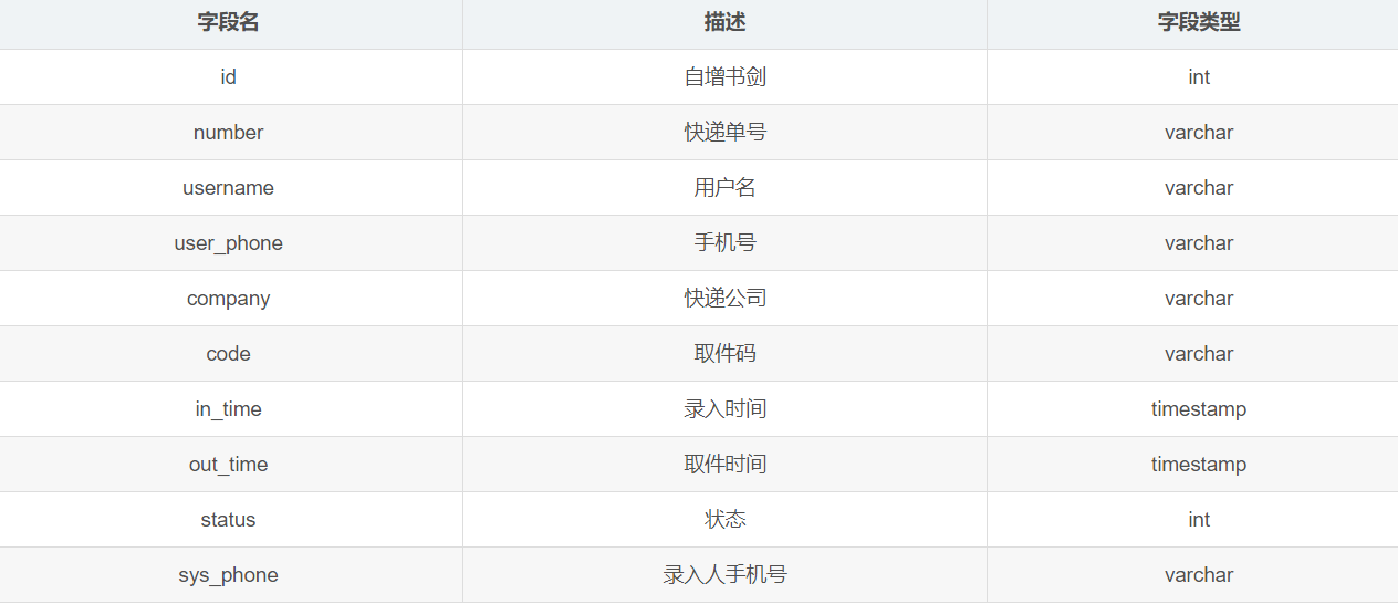
4.2.7CRUD方法
ExpressController :
@ResponseBody("/express/insert.do")
public String insert(HttpServletRequest request, HttpServletResponse response){
String number = request.getParameter("number");
String company = request.getParameter("company");
String username = request.getParameter("username");
String userPhone = request.getParameter("userPhone");
Express e = new Express(number,username,userPhone,company, UserUtil.getUserPhone(request.getSession()));
boolean flag = ExpressService.insert(e);
Message msg = new Message();
if(flag){
//录入成功
msg.setStatus(0);
msg.setResult("快递录入成功!");
}else{
//录入失败
msg.setStatus(-1);
msg.setResult("快递录入失败!");
}
String json = JSONUtil.toJSON(msg);
return json;
}
@ResponseBody("/express/find.do")
public String find(HttpServletRequest request,HttpServletResponse response){
String number = request.getParameter("number");
Express e = ExpressService.findByNumber(number);
Message msg = new Message();
if(e == null){
msg.setStatus(-1);
msg.setResult("单号不存在");
}else{
msg.setStatus(0);
msg.setResult("查询成功");
msg.setData(e);
}
String json = JSONUtil.toJSON(msg);
return json;
}
@ResponseBody("/express/update.do")
public String update(HttpServletRequest request,HttpServletResponse response){
int id = Integer.parseInt(request.getParameter("id"));
String number = request.getParameter("number");
String company = request.getParameter("company");
String username = request.getParameter("username");
String userPhone = request.getParameter("userPhone");
int status = Integer.parseInt(request.getParameter("status"));
Express newExpress = new Express();
newExpress.setNumber(number);
newExpress.setCompany(company);
newExpress.setUsername(username);
newExpress.setUserPhone(userPhone);
newExpress.setStatus(status);
boolean flag = ExpressService.update(id, newExpress);
Message msg = new Message();
if(flag){
msg.setStatus(0);
msg.setResult("修改成功");
}else{
msg.setStatus(-1);
msg.setResult("修改失败");
}
String json = JSONUtil.toJSON(msg);
return json;
}
@ResponseBody("/express/delete.do")
public String delete(HttpServletRequest request,HttpServletResponse response){
int id = Integer.parseInt(request.getParameter("id"));
boolean flag = ExpressService.delete(id);
Message msg = new Message();
if(flag){
msg.setStatus(0);
msg.setResult("删除成功");
}else{
msg.setStatus(-1);
msg.setResult("删除失败");
}
String json = JSONUtil.toJSON(msg);
return json;
}
前端页面:
新增页面
<!DOCTYPE html>
<html>
<head>
<meta charset="UTF-8">
<meta http-equiv="X-UA-Compatible" content="IE=edge">
<link rel="stylesheet" href="../../assets/css/layui.css">
<link rel="stylesheet" href="../../assets/css/view.css"/>
<title></title>
</head>
<body class="layui-view-body">
<div class="layui-content">
<div class="layui-row">
<div class="layui-card">
<div class="layui-card-header">录入快件</div>
<form id="form" class="layui-form layui-card-body" >
<div class="layui-form-item">
<label class="layui-form-label">单号</label>
<div class="layui-input-block">
<input type="text" name="code" required lay-verify="required" placeholder="请输入快递单号" autocomplete="off" class="layui-input">
</div>
</div>
<div class="layui-form-item">
<label class="layui-form-label">快递公司</label>
<div class="layui-input-block">
<select name="company" lay-verify="" lay-search>
<option >FedEx中国</option>
<option >FedEx国际</option>
<option >FedEx美国</option>
<option >飞豹快递</option>
<option >顺丰快递</option>
</select>
</div>
</div>
<div class="layui-form-item">
<label class="layui-form-label">收件人姓名</label>
<div class="layui-input-block">
<input type="text" name="username" required lay-verify="required" placeholder="请输入收货人姓名" autocomplete="off" class="layui-input">
</div>
</div>
<div class="layui-form-item">
<label class="layui-form-label">手机号码</label>
<div class="layui-input-block">
<input type="text" id="phone" name="phonenumber" required lay-verify="required" placeholder="请输入手机号码" autocomplete="off" class="layui-input" onblur="validatephone()">
<span id="phoneMsg"></span>
</div>
</div>
<div class="layui-form-item">
<div class="layui-input-block">
<button class="layui-btn layui-btn-blue" lay-submit lay-filter="formDemo">立即提交</button>
<button type="reset" class="layui-btn layui-btn-primary">重置</button>
</div>
</div>
</form>
</div>
</div>
</div>
<script src="../../assets/layui.all.js"></script>
<script src="/js/jquery2.1.4.js"></script>
<script src="/layer/layer.js"></script>
<script>
var form = layui.form
,layer = layui.layer;
</script>
<script>
$(function(){
$("#form").submit(function(){
var windowId = layer.load(); // 获取到窗口的id
var number = $("input:eq(0)").val();
var company = $("input:eq(1)").val();
var username = $("input:eq(2)").val();
var userPhone = $("input:eq(3)").val();
$.post("/express/insert.do",{
number:number,
company:company,
username:username,
userPhone:userPhone
},function(data){
layer.close(windowId); // 关闭窗口
layer.msg(data.result);
if(data.status == 0){
//录入成功 恢复默认输入的效果
$("input").val("");
$("input:eq(1)").val("顺丰速运");
}else{
//录入失败
}
});
return false;
});
});
/*校验手机号*/
function isPhoneNum(str) {
//如果你要精确验证手机号码,那个你可以使用第一个正则。这是根据电信,移动,联通目前发行的号码来的。验证比较精确。
var reg = /^1[3|4|5|7|8][0-9]{9}$/;
// 如果因为现有的号码不能满足市场需求,电信服务商会增大号码范围。所以一般情况下我们只要验证手机号码为11位,且以1开头。
var reg = /^^1[0-9]{10}$$/;
return reg.test(str);
}
function validatephone(){
var str=document.getElementById("phone").value;
var msg=document.getElementById("phoneMsg");
if(isPhoneNum(str)==false){
msg.innerHTML="phone格式不合法!";
msg.style.color="red";
return false;
}
msg.innerHTML="phone合法!";
msg.style.color="green";
return true;
}
</script>
</body>
</html>
修改页面
<!DOCTYPE html>
<html>
<head>
<meta charset="utf-8">
<title></title>
<link rel="stylesheet" type="text/css" href="../../css/reset.css"/>
<link rel="stylesheet" type="text/css" href="../../css/add.css"/>
</head>
<body>
<div id="app">
<div class="header">
<span>修改快递信息</span>
</div>
<div class="content">
<table>
<tr>
<td class="text-right">运单号</td><td class="content_right">
<input class="input inline-input" placeholder="请输入运单号码" id="number">
<span class="btn btn-info" id="find">立即查找</span></td>
</tr>
</table>
</div>
<div class="header">
<span>查找信息如下</span>
</div>
<div class="content">
<table>
<tr>
<td class="text-right">快递单号</td><td class="content_right"><input class="input" placeholder="请输入快递单号"></td>
</tr>
<tr>
<td class="text-right">快递公司</td><td class="content_right"><input class="input" placeholder="请输入快递公司"></td>
</tr>
<tr>
<td class="text-right">收货人姓名</td><td class="content_right"><input class="input" placeholder="请输入收货人姓名"></td>
</tr>
<tr>
<td class="text-right">手机号码</td><td class="content_right"><input id="phone" class="input" placeholder="请输入手机号码" onblur="validatephone()"><span id="phoneMsg"></span></td>
</tr>
<tr>
<td class="text-right">快递状态</td><td class="content_right">
<input type="radio" class="status" name="status" value="1">已签收
<input class="status" name="status" type="radio" value="0">未签收</td>
</tr>
<tr>
<td></td><td class="content_right"><span class="btn btn-info" id="update">立即修改</span> <span class="btn">重置</span> </td>
</tr>
</table>
</div>
</div>
</body>
<script src="/js/jquery2.1.4.js"></script>
<script src="/layer/layer.js"></script>
<script>
$(".header:eq(1),.content:eq(1)").hide();
var expressId = null;
var g_userPhone = null;
$(function(){
$("#find").click(function(){
var windowId = layer.load();
var number = $("#number").val();
$.getJSON("/express/find.do",{number:number},function(data){
layer.close(windowId);
//data:{"status":0,"result":"查询成功","data":{"id":2,"number":"124","username":"张三","userPhone":"13843838438","company":"京东快递","code":"213456","inTime":"Jul 21, 2020, 4:26:21 PM","status":0,"sysPhone":"18888888888"}}
layer.msg(data.result);
if(data.status == 0){
$(".header:eq(1),.content:eq(1)").fadeIn(1000);
expressId = data.data.id;
g_userPhone = data.data.userPhone;
$("input:eq(1)").val(data.data.number);
$("input:eq(2)").val(data.data.company);
$("input:eq(3)").val(data.data.username);
$("input:eq(4)").val(data.data.userPhone);
if(data.data.status == 0){
//未签收
$(".status:eq(1)").prop("checked",true);
}else{
//已签收
$(".status:eq(0)").prop("checked",true);
}
}
})
});
$("#update").click(function(){
var windowId = layer.load();
var number = $("input:eq(1)").val();
var company = $("input:eq(2)").val();
var username = $("input:eq(3)").val();
var userPhone = $("input:eq(4)").val();
var status = $(".status:checked").val();
var express = {
id:expressId,
number:number,
company:company,
username:username,
status:status
};
if(userPhone != g_userPhone){
express.userPhone = userPhone;
}
$.getJSON("/express/update.do",express,function(data){
layer.close(windowId);
layer.msg(data.result)
if(data.status == 0){
//修改成功的
$(".header:eq(1),.content:eq(1)").hide();
}
})
});
});
/*校验手机号*/
function isPhoneNum(str) {
//如果你要精确验证手机号码,那个你可以使用第一个正则。这是根据电信,移动,联通目前发行的号码来的。验证比较精确。
var reg = /^1[3|4|5|7|8][0-9]{9}$/;
// 如果因为现有的号码不能满足市场需求,电信服务商会增大号码范围。所以一般情况下我们只要验证手机号码为11位,且以1开头。
var reg = /^^1[0-9]{10}$$/;
return reg.test(str);
}
function validatephone(){
var str=document.getElementById("phone").value;
var msg=document.getElementById("phoneMsg");
if(isPhoneNum(str)==false){
msg.innerHTML="phone格式不合法!";
msg.style.color="red";
return false;
}
msg.innerHTML="phone合法!";
msg.style.color="green";
return true;
}
</script>
</html>
删除页面
<!DOCTYPE html>
<html>
<head>
<meta charset="utf-8">
<title></title>
<link rel="stylesheet" type="text/css" href="../../css/reset.css"/>
<link rel="stylesheet" type="text/css" href="../../css/add.css"/>
</head>
<body>
<div id="app">
<div class="header">
<span>删除快递信息</span>
</div>
<div class="content">
<table>
<tr>
<td class="text-right">运单号</td><td class="content_right">
<input id="number" class="input inline-input" placeholder="请输入运单号码">
<span id="find" class="btn btn-info">立即查找</span></td>
</tr>
</table>
</div>
<div class="header">
<span>查找信息如下</span>
</div>
<div class="content">
<table>
<tr>
<td class="text-right">快递单号</td><td class="content_right"><input class="input" placeholder="请输入姓名"></td>
</tr>
<tr>
<td class="text-right">快递公司</td><td class="content_right"><input class="input" placeholder="请输入姓名"></td>
</tr>
<tr>
<td class="text-right">收货人姓名</td><td class="content_right"><input class="input" placeholder="请输入姓名"></td>
</tr>
<tr>
<td class="text-right">手机号码</td><td class="content_right"><input class="input" placeholder="请输入姓名"></td>
</tr>
<tr>
<td class="text-right">快递状态</td><td class="content_right" id="status">已签收</td>
</tr>
<tr>
<td></td><td class="content_right"><span class="btn btn-info" id="delete">立即删除</span> </td>
</tr>
</table>
</div>
</div>
</body>
<script src="/js/jquery2.1.4.js"></script>
<script src="/layer/layer.js"></script>
<script>
$(".header:eq(1),.content:eq(1)").hide();
var expressId = null;
$(function(){
$("#find").click(function(){
var windowId = layer.load();
var number = $("#number").val();
$.getJSON("/express/find.do",{number:number},function(data){
layer.close(windowId);
//data:{"status":0,"result":"查询成功","data":{"id":2,"number":"124","username":"张三","userPhone":"13843838438","company":"京东快递","code":"213456","inTime":"Jul 21, 2020, 4:26:21 PM","status":0,"sysPhone":"18888888888"}}
layer.msg(data.result);
if(data.status == 0){
$(".header:eq(1),.content:eq(1)").fadeIn(1000);
expressId = data.data.id;
$("input:eq(1)").val(data.data.number);
$("input:eq(2)").val(data.data.company);
$("input:eq(3)").val(data.data.username);
$("input:eq(4)").val(data.data.userPhone);
$("input:eq(1),input:eq(2),input:eq(3),input:eq(4)").prop("disabled",true)
if(data.data.status == 0){
//未签收
$("#status").html("未签收");
}else{
//已签收
$("#status").html("已签收");
}
}
})
});
$("#delete").click(function(){
var windowId = layer.load();
$.getJSON("/express/delete.do",{id:expressId},function(data){
layer.close(windowId);
layer.msg(data.result);
if(data.status == 0){
$(".header:eq(1),.content:eq(1)").hide();
}
});
});
});
</script>
</html>
参考:
https://blog.csdn.net/weixin_44141495/article/details/108909850
https://blog.csdn.net/HNU_Csee_wjw/article/details/109035720
项目源码+各种参考资料:
链接:https://pan.baidu.com/s/1tmX2Q6ekH8FrnHx4Z-VMzw
提取码:1111
最后
以上就是满意短靴最近收集整理的关于JavaWeb项目—快递e栈(后台部分)写在前面一,项目介绍二,搭建项目前准备三,流程编写四,具体功能和详细代码的全部内容,更多相关JavaWeb项目—快递e栈(后台部分)写在前面一内容请搜索靠谱客的其他文章。
发表评论 取消回复