前言
先说个挺不好意思的事,小弟我脑子一热,考研报了浙大。更不好意思的是,自己竟然还报有着能进复试的想法。浙大复试需要上机考试,基本上考试内容和 PAT 考试差不多,所以现在就得开始刷题准备。也不管能不能进复试吧,就算没进复试,去找工作的话练练算法总是有好处的,大学前三年确实没有怎么太注重算法和编码的练习,现在也该补一补。
因为我前三年半没怎么刷过算法题,所以我的基础是很差的。也不怕大家笑话,我就从最简单的题开始一道一道练习。那么今天练习的就是甲级第一题。
原题
Calculate a+b and output the sum in standard format -- that is, the digits must be separated into groups of three by commas (unless there are less than four digits).
Input Specification:
Each input file contains one test case. Each case contains a pair of integers a and b where (−10^6≤a,b≤10^6) . The numbers are separated by a space.
Output Specification:
For each test case, you should output the sum of a and b in one line. The sum must be written in the standard format.
Sample Input:
-1000000 9
Sample Output:
-999,991
解析
这题乍一看很简单,就是输出两个数的和,但是有个比较复杂的地方,就是每隔千位得加上逗号,变成西方打印的数字形式。说句题外话,这种写法完全就只是为了西方人的方便而考虑的,因为他们是以千为基本单位来读较大的数的,比如 thousand(千), millon(百万), billon(十亿)。而中国人则是以万为基本单位来读较大的数的,比如万,亿,兆,这样的写法反而会带来不方便。但没办法,题目里要求这么做,那就只能这么做了。
解法
PAT 考试理论上是可以用各种语言写程序的(抱着我的 Java 摩拳擦掌中)。不过我刚刚看了一下,用 C 语言和 C++ 语言之外的其他语言基本上就是作死,因为速度太慢了(啊,我最爱的 Java)。甚至还有下面这种恐怖的说法:

但我还是不死心,想看看用 Java 写到底是怎么样的效果,之后再用 C 语言或者 C++ 重写一遍对比一下。
这道题我的思路是这样的:把相加的结果转换为字符数组,之后逐个输出数字,当数组长度和输出下标的差减 1 能够整除 3 的时候,就输出逗号。
Java 代码如下:
import java.io.*;
public class Main {
public static void main(String[] args) throws IOException {
BufferedReader br=new BufferedReader(new InputStreamReader(System.in));
String st=br.readLine();
String[] nums=st.split(" ");
int a=Integer.parseInt(nums[0]);
int b=Integer.parseInt(nums[1]);
int c=a+b;
String str=String.valueOf(c);
int n=str.length();
for(int i=0;i
System.out.print(str.charAt(i));
if(c<0&&i!=n-1&&(n-i-1)%3==0&&i!=0) {
System.out.print(',');
}
if(c>0&&(n-i-1)%3==0&&i!=n-1) {
System.out.print(',');
}
}
}
}
因为老师说别用 Scanner,所以我都不敢用 Scanner 而是换成了 BufferedReader。应该说 Java 要是不用 Scanner,输入特别麻烦,因为 BufferedReader 一次只能读一行,所以我在读完一行之后还得再用 split 方法把参数分割开。特别要注意的是当两数之和为负数的情况,此时若 i==0,则不能输出逗号,否则会输出-,999,999 这样的数字。
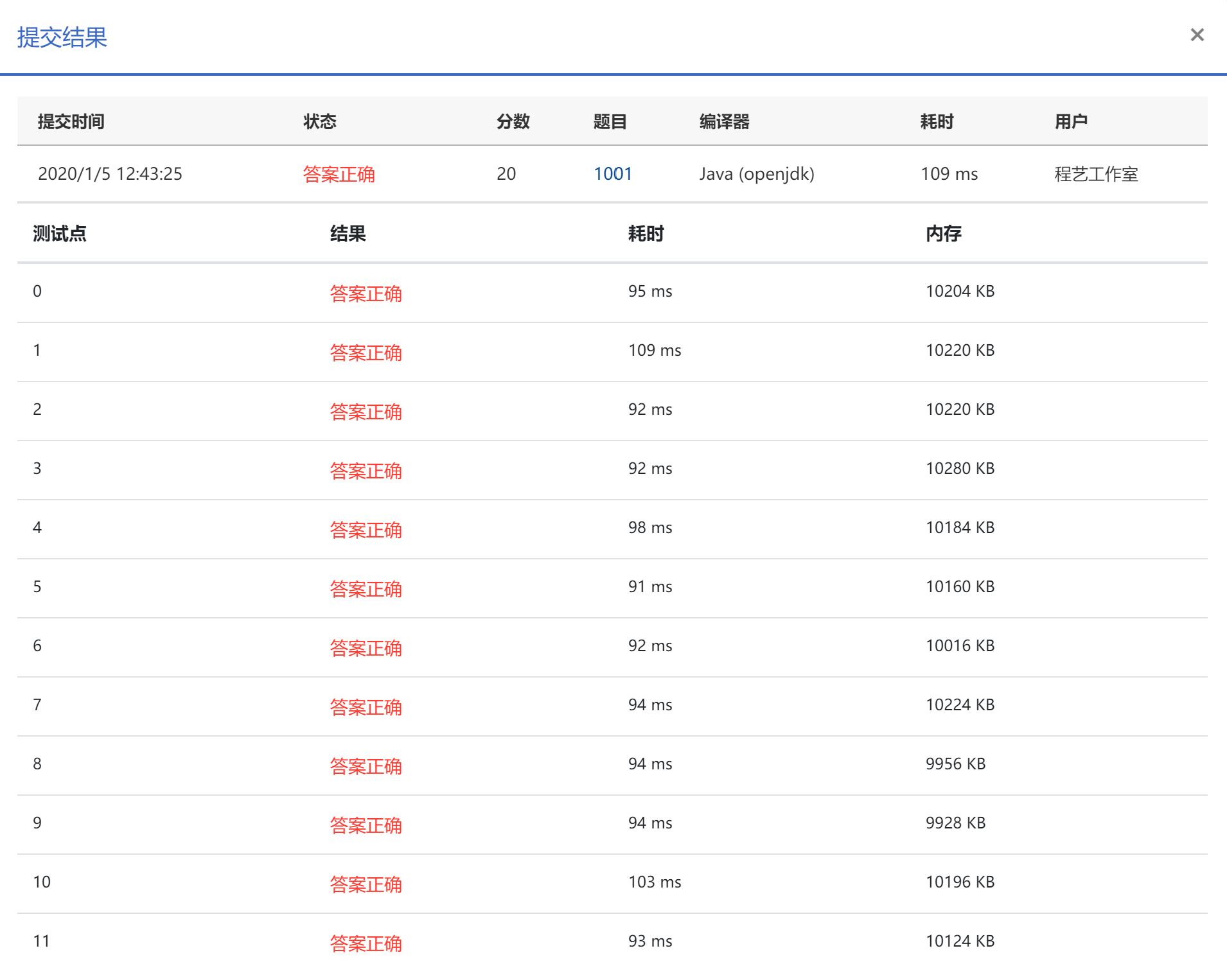
这段程序是能够通过测试的,执行情况如图所示:

因为我也没什么做在线算法题的经验,也不知道这个运行效率算什么水平(后来才发现完全不行)。我又尝试用 C++ 写了一遍,代码如下:
#include
#include
using namespace std;
int main()
{
int a,b,c,n;
cin>>a>>b;
c=a+b;
string str=to_string(c);
n=str.size();
for(int i=0;i
cout<
if(c<0&&i!=n-1&&(n-i-1)%3==0&&i!=0) {
cout<
}
if(c>0&&(n-i-1)%3==0&&i!=n-1) {
cout<
}
}
return 0;
}
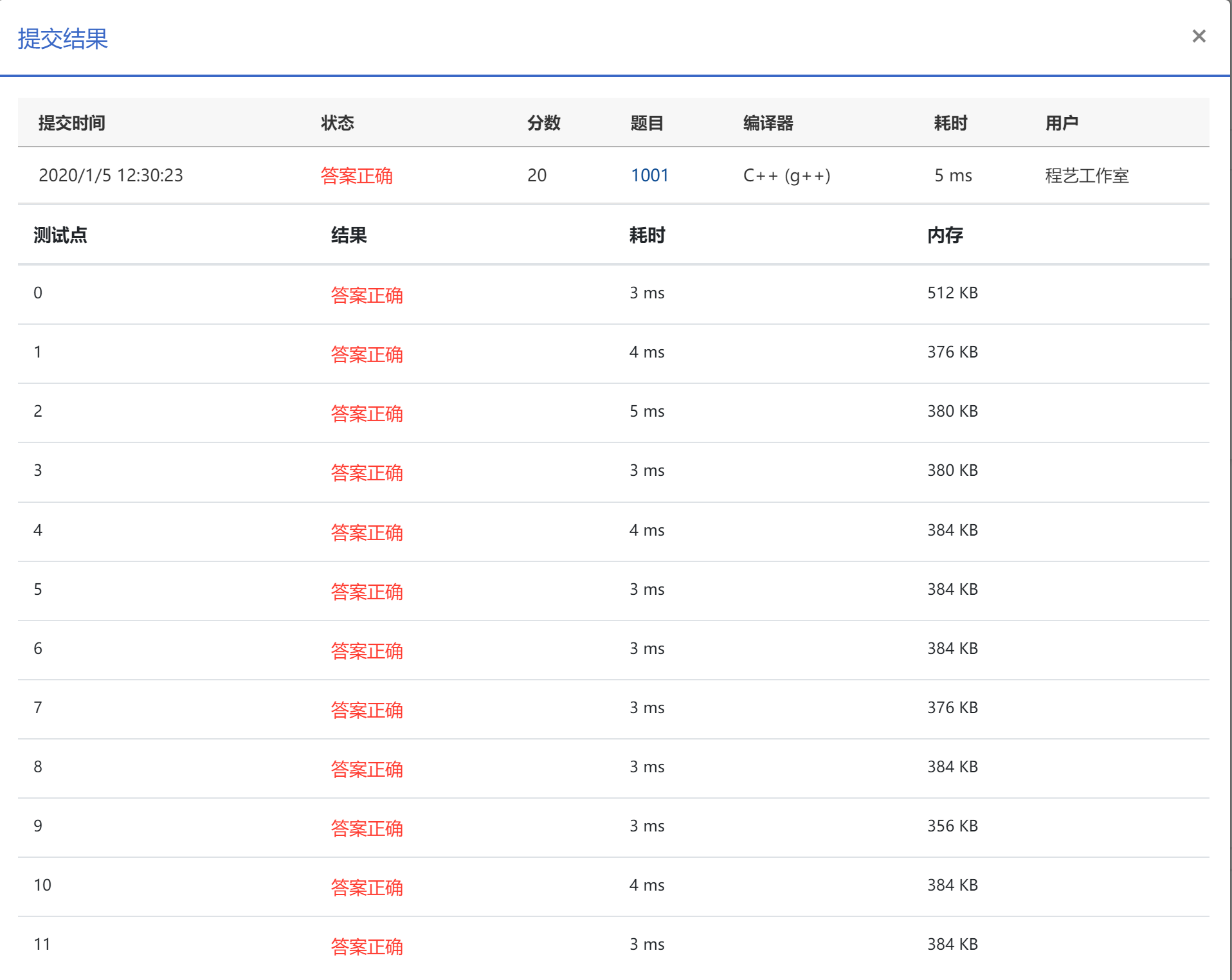
这段代码的运行结果如图:

可以看到效率和 Java 相比完全就是一个天上,一个地下,差距也太大了吧。看来以后还是得用 C++ 来做题。
歪门邪道
网上看到一个自己啥也不用干,只要调用 Java 包装好的方法的做法,也把代码贴在这里:
import java.text.DecimalFormat;
import java.util.Scanner;
public class Main {
public static void main(String[] args) throws IOException {
Scanner in = new Scanner(System.in);
DecimalFormat df = new DecimalFormat("#,###");
while (in.hasNextInt()) {
int a = in.nextInt();
int b = in.nextInt();
System.out.println(df.format(a+b));
}
}
}
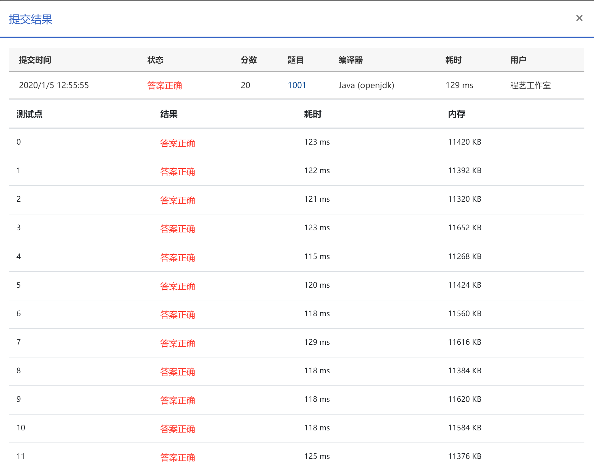
这个运行效率就更低了,如图:

最后
以上就是落寞皮卡丘最近收集整理的关于pat甲级1001 java_PAT甲级刷题实录——1001的全部内容,更多相关pat甲级1001内容请搜索靠谱客的其他文章。
发表评论 取消回复