我是靠谱客的博主 勤恳冬日,这篇文章主要介绍PAT A1028 List Sorting (25分)原题大体翻译思路第一次编写结果第二次编写结果第三次编写结果补充,现在分享给大家,希望可以做个参考。

PAT A1028 List Sorting 25分

  • 原题
  • 大体翻译
  • 思路
  • 第一次编写
  • 结果
  • 第二次编写
  • 结果
  • 第三次编写
  • 结果
  • 补充

原题

Excel can sort records according to any column. Now you are supposed to imitate this function.

Input Specification:
Each input file contains one test case. For each case, the first line contains two integers N (≤10​5​​ ) and C, where N is the number of records and C is the column that you are supposed to sort the records with. Then N lines follow, each contains a record of a student. A student’s record consists of his or her distinct ID (a 6-digit number), name (a string with no more than 8 characters without space), and grade (an integer between 0 and 100, inclusive).

Output Specification:
For each test case, output the sorting result in N lines. That is, if C = 1 then the records must be sorted in increasing order according to ID’s; if C = 2 then the records must be sorted in non-decreasing order according to names; and if C = 3 then the records must be sorted in non-decreasing order according to grades. If there are several students who have the same name or grade, they must be sorted according to their ID’s in increasing order.

Sample Input 1:

3 1
000007 James 85
000010 Amy 90
000001 Zoe 60

Sample Output 1:

000001 Zoe 60
000007 James 85
000010 Amy 90

Sample Input 2:

4 2
000007 James 85
000010 Amy 90
000001 Zoe 60
000002 James 98

Sample Output 2:

000010 Amy 90
000002 James 98
000007 James 85
000001 Zoe 60

Sample Input 3:

4 3
000007 James 85
000010 Amy 90
000001 Zoe 60
000002 James 90

Sample Output 3:

000001 Zoe 60
000007 James 85
000002 James 90
000010 Amy 90

大体翻译

类似于excel中的排序,排序的类型由第二个输入的数字C决定
当C为1时,则是根据第一列递增排序
当C为2时,则是根据第二列非递减排序
当C为3时,则是根据第三列非递减排序(注意审题)
每一份数据包括三个数据段,即学号,姓名和成绩
输入要排序的数据的数量N和上述所说的C
然后输入N个数据
最后输出排序完成后的结果即可

思路

一开始,用结构体存储数据,注意因为题目要求存储105个数据,所以需要定义成全局变量,否则空间会不够
然后根据C设置三个排序最后输出就可以了
第一次编程的时候使用了冒泡排序,以及cin,cout输入输出
第二次编程的时候使用了冒泡排序,以及scanf,printf输入输出
第三次编程的时候使用了sort函数,以及scanf,printf输入输出

第一次编写

#include <iostream>
using namespace std;

struct student
{
	string id;
	string name;
	int cord;
}a[100000];

void sort(student a[], int n, int m)
{
	student temp;
	if (m == 1)
	{
		for (int i = 1; i <= n - 1; i++)
		{
			for (int j = 0; j < n - i; j++)
			{
				if (a[j].id > a[j + 1].id)
				{
					temp = a[j];
					a[j] = a[j + 1];
					a[j + 1] = temp;
				}
			}
		}
	}
	else if (m == 2)
	{
		for (int i = 1; i <= n - 1; i++)
		{
			for (int j = 0; j < n - i; j++)
			{
				if (a[j].name >= a[j + 1].name)
				{
					temp = a[j];
					a[j] = a[j + 1];
					a[j + 1] = temp;
				}
			}
		}
	}
	else if (m == 3)
	{
		for (int i = 1; i <= n - 1; i++)
		{
			for (int j = 0; j < n - i; j++)
			{
				if (a[j].cord >= a[j + 1].cord)
				{
					temp = a[j];
					a[j] = a[j + 1];
					a[j + 1] = temp;
				}
			}
		}
	}
	for (int i = 0; i < n; i++)
	{
		cout << a[i].id << " " << a[i].name << " " << a[i].cord << endl;
	}
}

int main()
{
	int n, c;
	cin >> n >> c;
	for (int i = 0; i < n; i++)
	{
		cin >> a[i].id >> a[i].name >> a[i].cord;
	}
	sort(a, n, c);
	return 0;
}

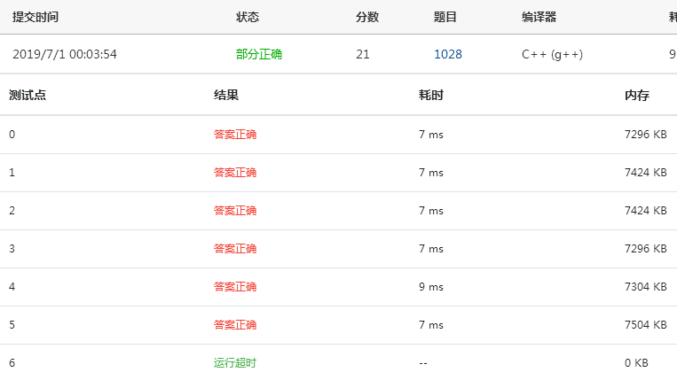
结果

在这里插入图片描述

第二次编写

#include <iostream>
#include <stdio.h>
#include <cstring>
using namespace std;

struct student
{
	char id[10];
	char name[10];
	int cord;
}a[100000];

void sort(student a[], int n, int m)
{
	student temp;
	if (m == 1)
	{
		for (int i = 1; i <= n - 1; i++)
		{
			for (int j = 0; j < n - i; j++)
			{
				if (strcmp(a[j].id, a[j + 1].id) > 0)
				{
					temp = a[j];
					a[j] = a[j + 1];
					a[j + 1] = temp;
				}
			}
		}
	}
	else if (m == 2)
	{
		for (int i = 1; i <= n - 1; i++)
		{
			for (int j = 0; j < n - i; j++)
			{
				if (strcmp(a[j].name, a[j + 1].name) >= 0)
				{
					temp = a[j];
					a[j] = a[j + 1];
					a[j + 1] = temp;
				}
			}
		}
	}
	else if (m == 3)
	{
		for (int i = 1; i <= n - 1; i++)
		{
			for (int j = 0; j < n - i; j++)
			{
				if (a[j].cord >= a[j + 1].cord)
				{
					temp = a[j];
					a[j] = a[j + 1];
					a[j + 1] = temp;
				}
			}
		}
	}
	for (int i = 0; i < n; i++)
	{
		//cout << a[i].id << " " << a[i].name << " " << a[i].cord << endl;
		printf("%s %s %dn", a[i].id, a[i].name, a[i].cord);
	}
}

int main()
{
	int n, c;
	cin >> n >> c;
	for (int i = 0; i < n; i++)
	{
		//cin >> a[i].id >> a[i].name >> a[i].cord;
		scanf("%s", a[i].id);
		scanf("%s", a[i].name);
		scanf("%d", &a[i].cord);
	}
	sort(a, n, c);
	return 0;
}

结果

在这里插入图片描述

第三次编写

#include <iostream>
#include <stdio.h>
#include <cstring>
#include <algorithm>

using namespace std;

struct student
{
	char id[10];
	char name[10];
	int cord;
}a[100000];
/*
void sort(student a[], int n, int m)
{
	student temp;
	if (m == 1)
	{
		for (int i = 1; i <= n - 1; i++)
		{
			for (int j = 0; j < n - i; j++)
			{
				if (strcmp(a[j].id, a[j + 1].id) > 0)
				{
					temp = a[j];
					a[j] = a[j + 1];
					a[j + 1] = temp;
				}
			}
		}
	}
	else if (m == 2)
	{
		for (int i = 1; i <= n - 1; i++)
		{
			for (int j = 0; j < n - i; j++)
			{
				if (strcmp(a[j].name, a[j + 1].name) >= 0)
				{
					temp = a[j];
					a[j] = a[j + 1];
					a[j + 1] = temp;
				}
			}
		}
	}
	else if (m == 3)
	{
		for (int i = 1; i <= n - 1; i++)
		{
			for (int j = 0; j < n - i; j++)
			{
				if (a[j].cord >= a[j + 1].cord)
				{
					temp = a[j];
					a[j] = a[j + 1];
					a[j + 1] = temp;
				}
			}
		}
	}
	for (int i = 0; i < n; i++)
	{
		//cout << a[i].id << " " << a[i].name << " " << a[i].cord << endl;
		printf("%s %s %dn", a[i].id, a[i].name, a[i].cord);
	}
}
*/
bool cmp1(student a, student b)
{
	if (strcmp(a.id, b.id) < 0)
		return 1;
	else
		return 0;
}

bool cmp2(student a, student b)
{
	/*
	if (strcmp(a.name, b.name) <= 0)
		return 1;
	else
		return 0;
	*/
	if (strcmp(a.name, b.name) != 0)
		return strcmp(a.name, b.name) < 0;
	else
		return strcmp(a.id,b.id) < 0;
}

bool cmp3(student a, student b)
{
	//return a.cord <= b.cord;
	if (a.cord != b.cord)
		return a.cord < b.cord;
	else
		return strcmp(a.id, b.id) < 0;
}

int main()
{
	int n, c;
	cin >> n >> c;
	for (int i = 0; i < n; i++)
	{
		//cin >> a[i].id >> a[i].name >> a[i].cord;
		scanf("%s", a[i].id);
		scanf("%s", a[i].name);
		scanf("%d", &a[i].cord);
	}
	//sort(a, n, c);
	switch (c)
	{
	case 1:sort(a, a + n, cmp1);
		break;
	case 2:sort(a, a + n, cmp2);
		break;
	case 3:sort(a, a + n, cmp3);
	}
	for (int i = 0; i < n; i++)
	{
		printf("%s %s %dn", a[i].id, a[i].name, a[i].cord);
	}
	return 0;
}

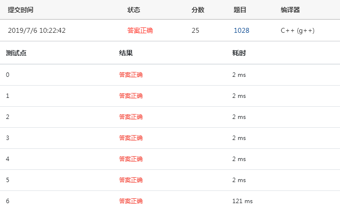
结果

在这里插入图片描述

补充

在最新的VS中要使用scanf_s而不能是scanf,但在提交中还是使用scanf
下面记录scanf_s的用法:

char a[10];	//字符串
scanf_s("%s",a,10);		//需要输入变量的大小
int b;	//整数
scanf_s("%d",&b,4);

下面记录最基础的sort函数的用法:

bool cmp(int a,int b)
{
	return a<b;	//注意大于小于
}
int main()
{
	int a[10];
	for(int i = 0; i < 10; i++)
		scanf("%d",&a[i]);
	sort(a, a + 10, cmp);
	return 0;
}

题目中要求的是当姓名或分数一样,按照id进行排序,在第一次和第二次编写中,直接用了大于等于不对,但是不修改了

最后

以上就是勤恳冬日最近收集整理的关于PAT A1028 List Sorting (25分)原题大体翻译思路第一次编写结果第二次编写结果第三次编写结果补充的全部内容,更多相关PAT内容请搜索靠谱客的其他文章。

本图文内容来源于网友提供,作为学习参考使用,或来自网络收集整理,版权属于原作者所有。
点赞(191)

评论列表共有 0 条评论

立即
投稿
返回
顶部