32位乘法器和除法器
- 32位乘法器和除法器的设计与实现
- 乘法器原理
- 除法器原理
- 乘法器代码
- 除法器代码
- 乘除法器顶层模块代码(包含拨码输入以及数码管输出)
- 约束文件修改
32位乘法器和除法器的设计与实现
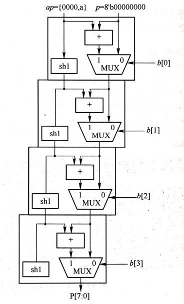
乘法器原理
类比10进制乘法,利用移位运算。每次对两因数中的一个的第一位进行判断,一共判断32位共循环32次,若该位为1,则将积加上另一因数,若为0,则不用加。每次循环结束将用于判断的因数右移一位,用于和积相加的因数左移一位,循环完成后,积即为两因数的积。

除法器原理
类比十进制除法,利用移位运算。将被除数前32位拼接上32位的0,一共判断32位共循环32次,每次比较被除数前32位与除数相比,若大于除数,则将被除数前32位减去除数,并将整个64位的被除数加上1,若小于除数,则什么也不做,每次循环完成后将被除数左移一位。循环完成后,被除数前32位为余数,后32位为商。

乘法器代码
module mult32(
input wire [31:0] a,
input wire [31:0] b,
output reg [63:0]p
);
reg [63:0] pv;
reg [63:0] ap;
integer i;
always@(*)
begin
pv=64'b0000_0000_0000_0000_0000_0000_0000_0000_0000_0000_0000_0000_0000_0000_0000_0000;
ap={32'b0000_0000_0000_0000_0000_0000_0000_0000,a};
for(i=0;i<=31;i=i+1)
begin
if(b[i]==1)
pv=pv+ap;
ap={ap[62:0],1'b0};
end
p=pv;
end
endmodule
除法器代码
module div32(
input[31:0] a,
input[31:0] b,
output reg [31:0] yshang,
output reg [31:0] yyushu
);
reg[31:0] tempa;
reg[31:0] tempb;
reg[63:0] temp_a;
reg[63:0] temp_b;
integer i;
always @(a or b)
begin
tempa <= a;
tempb <= b;
end
always @(tempa or tempb)
begin
temp_a = {32'h00000000,tempa};
temp_b = {tempb,32'h00000000};
for(i = 0;i < 32;i = i + 1)
begin
temp_a = {temp_a[62:0],1'b0};
if(temp_a[63:32] >= tempb)
temp_a = temp_a - temp_b + 1'b1;
else
temp_a = temp_a;
end
yshang <= temp_a[31:0];
yyushu <= temp_a[63:32];
end
endmodule
乘除法器顶层模块代码(包含拨码输入以及数码管输出)
module mult_div_top(
input clk,
input [15:0] sw,
output reg [6:0] a_to_g,
output reg [3:0] an,
output reg [3:0] led,
output wire dp
);
reg [31:0] a;
reg [31:0] b;
wire [63:0] mult;
wire [63:0] div;
reg [15:0] disp;
always@(sw[15:8])
begin
if(sw[15]==0)
case(sw[14:13])
2'b00:a[31:24]=sw[7:0];
2'b01:a[23:16]=sw[7:0];
2'b11:a[15:8]=sw[7:0];
2'b10:a[7:0]=sw[7:0];
default:;
endcase
else if(sw[15]==1)
case(sw[14:13])
2'b00:b[31:24]=sw[7:0];
2'b01:b[23:16]=sw[7:0];
2'b11:b[15:8]=sw[7:0];
2'b10:b[7:0]=sw[7:0];
default:;
endcase
end
always@(*)
begin
if(sw[8]==0)
case(sw[10:9])
2'b00:
begin
disp=mult[63:48];
led=4'b1000;
end
2'b01:
begin
disp=mult[47:32];
led=4'b0100;
end
2'b11:
begin
disp=mult[31:16];
led=4'b0010;
end
2'b10:
begin
disp=mult[15:0];
led=4'b0001;
end
default:
begin
disp=16'b0000_0000_0000_0000;
led=4'b0000;
end
endcase
else if(sw[8]==1)
case(sw[10:9])
2'b00:
begin
disp=div[63:48];
led=4'b1000;
end
2'b01:
begin
disp=div[47:32];
led=4'b0100;
end
2'b11:
begin
disp=div[31:16];
led=4'b0010;
end
2'b10:
begin
disp=div[15:0];
led=4'b0001;
end
default:
begin
disp=16'b0000_0000_0000_0000;
led=4'b0000;
end
endcase
end
mult32 multiply(
.a(a),
.b(b),
.p(mult)
);
div32 divide(
.a(a),
.b(b),
.yshang(div[63:32]),
.yyushu(div[31:0])
);
wire [15:0]x;
assign x=disp;
wire [1:0] s;
reg [3:0] digit;
reg [19:0] clkdiv;
assign dp=1;
assign s=clkdiv[19:18];
assign ane=4'b1111;
always@(*)
case(s)
0:digit=x[3:0];
1:digit=x[7:4];
2:digit=x[11:8];
3:digit=x[15:12];
default:digit=x[3:0];
endcase
always@(*)
case(digit)
0:a_to_g=7'b0000001;
1:a_to_g=7'b1001111;
2:a_to_g=7'b0010010;
3:a_to_g=7'b0000110;
4:a_to_g=7'b1001100;
5:a_to_g=7'b0100100;
6:a_to_g=7'b0100000;
7:a_to_g=7'b0001111;
8:a_to_g=7'b0000000;
9:a_to_g=7'b0000100;
'hA:a_to_g=7'b0001000;
'hB:a_to_g=7'b1100000;
'hC:a_to_g=7'b0110001;
'hD:a_to_g=7'b1000010;
'hE:a_to_g=7'b0110000;
'hF:a_to_g=7'b0111000;
default: a_to_g=7'b0000001;
endcase
always@(*)
begin
an=4'b1111;
an[s]=0;
end
always@(posedge clk)
begin
clkdiv<=clkdiv+1;
end
endmodule
约束文件修改
直接IO Planning之后Run Implementation会出现’IO Clock Placer failed’
需要在约束文件中加上
set_property CLOCK_DEDICATED_ROUTE FALSE [get_nets sw]
了解更多
了解更多
以下是我的约束文件(板子型号BASYS3)
set_property IOSTANDARD LVCMOS33 [get_ports clk]
set_property PACKAGE_PIN W5 [get_ports clk]
set_property IOSTANDARD LVCMOS33 [get_ports dp]
set_property IOSTANDARD LVCMOS33 [get_ports {sw[15]}]
set_property IOSTANDARD LVCMOS33 [get_ports {sw[14]}]
set_property IOSTANDARD LVCMOS33 [get_ports {sw[13]}]
set_property IOSTANDARD LVCMOS33 [get_ports {sw[12]}]
set_property IOSTANDARD LVCMOS33 [get_ports {sw[11]}]
set_property IOSTANDARD LVCMOS33 [get_ports {sw[10]}]
set_property IOSTANDARD LVCMOS33 [get_ports {sw[9]}]
set_property IOSTANDARD LVCMOS33 [get_ports {sw[8]}]
set_property IOSTANDARD LVCMOS33 [get_ports {sw[7]}]
set_property IOSTANDARD LVCMOS33 [get_ports {sw[6]}]
set_property IOSTANDARD LVCMOS33 [get_ports {sw[5]}]
set_property IOSTANDARD LVCMOS33 [get_ports {sw[4]}]
set_property IOSTANDARD LVCMOS33 [get_ports {sw[3]}]
set_property IOSTANDARD LVCMOS33 [get_ports {sw[2]}]
set_property IOSTANDARD LVCMOS33 [get_ports {sw[1]}]
set_property IOSTANDARD LVCMOS33 [get_ports {sw[0]}]
set_property IOSTANDARD LVCMOS33 [get_ports {led[3]}]
set_property IOSTANDARD LVCMOS33 [get_ports {led[2]}]
set_property IOSTANDARD LVCMOS33 [get_ports {led[1]}]
set_property IOSTANDARD LVCMOS33 [get_ports {led[0]}]
set_property IOSTANDARD LVCMOS33 [get_ports {an[3]}]
set_property IOSTANDARD LVCMOS33 [get_ports {an[2]}]
set_property IOSTANDARD LVCMOS33 [get_ports {an[1]}]
set_property IOSTANDARD LVCMOS33 [get_ports {an[0]}]
set_property IOSTANDARD LVCMOS33 [get_ports {a_to_g[6]}]
set_property IOSTANDARD LVCMOS33 [get_ports {a_to_g[5]}]
set_property IOSTANDARD LVCMOS33 [get_ports {a_to_g[4]}]
set_property IOSTANDARD LVCMOS33 [get_ports {a_to_g[3]}]
set_property IOSTANDARD LVCMOS33 [get_ports {a_to_g[2]}]
set_property IOSTANDARD LVCMOS33 [get_ports {a_to_g[1]}]
set_property IOSTANDARD LVCMOS33 [get_ports {a_to_g[0]}]
set_property PACKAGE_PIN W7 [get_ports {a_to_g[6]}]
set_property PACKAGE_PIN W6 [get_ports {a_to_g[5]}]
set_property PACKAGE_PIN U8 [get_ports {a_to_g[4]}]
set_property PACKAGE_PIN V8 [get_ports {a_to_g[3]}]
set_property PACKAGE_PIN U5 [get_ports {a_to_g[2]}]
set_property PACKAGE_PIN V5 [get_ports {a_to_g[1]}]
set_property PACKAGE_PIN U7 [get_ports {a_to_g[0]}]
set_property PACKAGE_PIN W4 [get_ports {an[3]}]
set_property PACKAGE_PIN V4 [get_ports {an[2]}]
set_property PACKAGE_PIN U4 [get_ports {an[1]}]
set_property PACKAGE_PIN U2 [get_ports {an[0]}]
set_property PACKAGE_PIN L1 [get_ports {led[3]}]
set_property PACKAGE_PIN P1 [get_ports {led[2]}]
set_property PACKAGE_PIN N3 [get_ports {led[1]}]
set_property PACKAGE_PIN P3 [get_ports {led[0]}]
set_property PACKAGE_PIN R2 [get_ports {sw[15]}]
set_property PACKAGE_PIN T1 [get_ports {sw[14]}]
set_property PACKAGE_PIN U1 [get_ports {sw[13]}]
set_property PACKAGE_PIN W2 [get_ports {sw[12]}]
set_property PACKAGE_PIN R3 [get_ports {sw[11]}]
set_property PACKAGE_PIN T2 [get_ports {sw[10]}]
set_property PACKAGE_PIN T3 [get_ports {sw[9]}]
set_property PACKAGE_PIN V2 [get_ports {sw[8]}]
set_property PACKAGE_PIN W13 [get_ports {sw[7]}]
set_property PACKAGE_PIN W14 [get_ports {sw[6]}]
set_property PACKAGE_PIN V15 [get_ports {sw[5]}]
set_property PACKAGE_PIN W15 [get_ports {sw[4]}]
set_property PACKAGE_PIN W17 [get_ports {sw[3]}]
set_property PACKAGE_PIN W16 [get_ports {sw[2]}]
set_property PACKAGE_PIN V16 [get_ports {sw[1]}]
set_property PACKAGE_PIN V17 [get_ports {sw[0]}]
set_property PACKAGE_PIN U16 [get_ports dp]
set_property CLOCK_DEDICATED_ROUTE FALSE [get_nets clk]
set_property CLOCK_DEDICATED_ROUTE FALSE [get_nets {sw[8]}]
set_property CLOCK_DEDICATED_ROUTE FALSE [get_nets {sw[9]}]
set_property CLOCK_DEDICATED_ROUTE FALSE [get_nets {sw[10]}]
set_property CLOCK_DEDICATED_ROUTE FALSE [get_nets {sw[13]}]
set_property CLOCK_DEDICATED_ROUTE FALSE [get_nets {sw[14]}]
set_property CLOCK_DEDICATED_ROUTE FALSE [get_nets {sw[15]}]
最后
以上就是朴实猫咪最近收集整理的关于32位乘法器和除法器32位乘法器和除法器的设计与实现的全部内容,更多相关32位乘法器和除法器32位乘法器和除法器内容请搜索靠谱客的其他文章。
本图文内容来源于网友提供,作为学习参考使用,或来自网络收集整理,版权属于原作者所有。
发表评论 取消回复