1.软件版本
matlab2021a
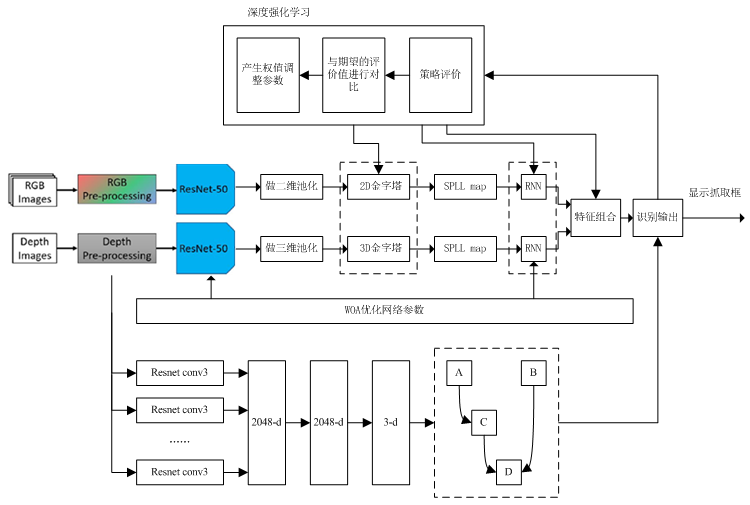
2.本算法理论知识


堆叠推理的算法流程图这里特别说明下:

3.核心代码
function err=func_obj1(X,trainData);
LR = X(1)/10000;
W
最后
以上就是缓慢乌冬面最近收集整理的关于【堆叠抓取+深度学习】基于深度学习+PPO深度强化学习的堆叠物体抓取算法的MATLAB仿真的全部内容,更多相关【堆叠抓取+深度学习】基于深度学习+PPO深度强化学习内容请搜索靠谱客的其他文章。
本图文内容来源于网友提供,作为学习参考使用,或来自网络收集整理,版权属于原作者所有。
发表评论 取消回复