博文目录
- 写在前面
- 正文
- 设计要求
- 设计思想
- 设计文件
- 仿真文件
- 参考资料
- 交个朋友
写在前面
前段时间,有几个小伙伴向我请教数字电子钟设计的问题,这个问题我在之前的BCD计数器以及数码管显示问题中已经分开谈过了,既然大家还有需求,不妨在这里集中总结一下!
- 个人微信公众号: FPGA LAB
- 个人博客首页
正文
设计要求
基于模块化的设计思想, 采用 Verilog HDL 语言设计一个能进行时、分、秒计时的二十四小时制的数字电子钟, 并具有整点报时功能。 采用数码管进行时间显示,要求显示格式为:小时-分钟-秒钟。
在 EDA 软件中完成数字电子钟的源代码设计, 并进行仿真, 仿真结果要能够体现出时、分、秒各自的跳变过程, 并且能够给出整点报时控制信号的变化过程。
1、独立完成设计任务;
2、详细阐述设计方案,绘制系统设计框图;
3、详细阐述系统调试方案,编写测试文件并进行仿真;
4、撰写设计报告。详细阐述设计思想、指标论证、方案确定、结果分析等内容,并对所完成的设计做出总结和评价,对设计过程中遇到的问题及解决方法进行阐述。
我只关注前面的部分,就是设计一个具有时、分以及秒计时的二十四小时计时器,还具有整点报时,并用数码管显示!
设计思想
首先是时、分以及秒的计数问题,对于分和秒的情况,肯定是用模60计数器,但是你能直接计数到59然后清零吗?包括时计数器,一定是模24计数器,但是你能直接计数到23清零吗?
如果没有数码管显示的需求肯定没问题,我用十进制显示,仿真完美!
但是需要数码管显示的话,我们需要6个数码管,时、分以及秒各需要两个!拿小时计数器来说,由于小时就有两个数字,十分位和个位,使用两个数码管显示小时,第一个数码管显示十分位,第二个数码管显示个位!明显是要将十分位和个位分开显示,需要使用8421BCD码计数器来处理。
如果使用十进制的话,10就相当于0xa,如何显示呢?显示0a,这显示是不直观的,你家的时钟用a,b,c等等显示时间计数,你会不会打死设计师呢!
因此,我们使用8421BCD码来进行计数,这一步完成了就解决了80%的问题!
其次,便是数码管显示的问题,数码管显示时、分以及秒需要6个数码管,我们采用动态扫描的方式来显示,也就是控制片选轮流点亮数码管,只要你轮流的速度足够快,肉眼就会认为所有数码管一直亮!
说了那么多,其实就总结为如下两个主要模块!
- 设计计时模块,用到模60计数器,模24计数器;
- 设计数码管显示模块
我们严格遵守模块化的思想,设计文件结构如下:

仿真文件结构:

设计文件
设计思想已经谈过了,更多的细节请看参考资料,这里给出部分设计文件,如果需要全部设计文件的,可以关注我的微信公众号:FPGA LAB,后台回复:数字时钟,我会发给你资源设计文件链接!
模60计数器
由于分和秒计数都是60进制,因此,模60计数器模块是针对分秒计数功能的!
模60计数器的设计采用的是8421BCD码计数方式,由模10计数器以及模6计数器组成:
//模60计数器的Verilog HDL设计
module counter60(clk, rst_n, en, dout, co);
input clk, rst_n, en;
output[7:0] dout;
output co;
wire co10_1, co10, co6;
wire[3:0] dout10, dout6;
counter10 inst_counter10(.clk(clk), .rst_n(rst_n), .en(en), .dout(dout10), .co(co10_1)); //模10计数器的进位为co10_1
and u3(co10,en,co10_1); //co10_1与en的与为co10
counter6 inst_counter6(.clk(clk), .rst_n(rst_n), .en(co10), .dout(dout6), .co(co6)); //co10_1与en的与为co10,作为模6计数器的使能信号
and u4(co, co10, co6); //模6计数器的进位和模6的使能信号co10的与作为模60计数器的进位
assign dout = {dout6,dout10}; //模60计数器的输出,高位为模6计数器的输出,低位为模10计数器的输出,读法是8421BCD码读法
endmodule
可见,模60计数器例化了模10以及模6计数器,下面给出模10以及模6计数器的设计:
模10计数器
//模10计数器模块
module counter10(clk, rst_n, en, dout, co);
input clk, rst_n, en;
output[3:0] dout;
reg [3:0] dout;
output co;
always@(posedge clk or negedge rst_n)
begin
if(!rst_n)
dout <= 4'b0000; //系统复位,计数器清零
else if(en)
if(dout == 4'b1001) //计数值达到9时,计数器清零
dout <= 4'b0000;
else
dout <= dout + 1'b1; //否则,计数器加1
else
dout <= dout;
end
assign co = dout[0]&dout[3]; //当计数达到5(4'b1001)时,进位为1,计数值为其他,都没有进位
endmodule
模6计数器
//模6计数器模块
module counter6(clk, rst_n, en, dout, co);
input clk, rst_n, en;
output[3:0] dout;
reg [3:0] dout;
output co;
always@(posedge clk or negedge rst_n)
begin
if(!rst_n)
dout <= 4'b0000; //系统复位,计数器清零
else if(en)
if(dout == 4'b0101) //计数值达到5时,计数器清零
dout <= 4'b0000;
else
dout <= dout + 1'b1; //否则,计数器加1
else
dout <= dout;
end
assign co = dout[0]&dout[2]; //当计数达到5(4'b1001)时,进位为1,计数值为其他,都没有进位
endmodule
如果你觉得这样太繁琐,可以合起来写呀!
再给出模24计数器设计:
//8421BCD码计数器,模24
module counter24(clk, rst_n, en, dout);
input clk, rst_n, en;
output[7:0] dout;
reg[7:0] dout;
always@(posedge clk or negedge rst_n) //异步复位
begin
if(!rst_n) //复位信号有效时,输出清零
dout <= 8'b00000000;
else if(en == 1'b0) //计数使能无效时,输出不变
dout <= dout;
else if( (dout[7:4] == 4'b0010)&&(dout[3:0] == 4'b0011) ) //计数达到23时,输出清零
dout <= 8'b00000000;
else if(dout[3:0] == 4'b1001) //低位达到9时,低位清零,高位加1
begin
dout[3:0] <= 4'b0000;
dout[7:4] <= dout[7:4] + 1'b1;
end
else //上述情况都没有发生,则高位不变,低位加1
begin
dout[7:4] <= dout[7:4];
dout[3:0] <= dout[3:0] + 1'b1;
end
end
endmodule
将三面的模块例化进数字时钟模块内,构成24小时计时器!
//数字时钟计数器
module digital_clock(
input clk,
input rst_n,
input en,
output [7:0] hour,
output [7:0] min,
output [7:0] sec,
output tweet
);
wire co_sec1,co_sec,co_min,co_min1;
counter60 inst_sec(.clk(clk), .rst_n(rst_n), .en(en), .dout(sec), .co(co_sec1));
and inst_and_sec(co_sec,en,co_sec1);
counter60 inst_min(.clk(clk), .rst_n(rst_n), .en(co_sec), .dout(min), .co(co_min1));
and inst_and_min(co_min,co_sec,co_min1);
assign tweet = (min == 0)&&(sec == 0) ? 1 : 0; // report time signal
counter24 inst_hour(.clk(clk), .rst_n(rst_n), .en(co_min), .dout(hour));
endmodule
代码部分就展示到这里吧,全部贴出来占用太多空间,需要全部代码的可以在公众号FPGA LAB 后台回复:数字时钟!
仿真文件
仿真文件再简单不过了,只需要给出使能以及时钟即可!
module digital_clock_tb(
);
reg clk;
reg rst_n;
reg en;
wire [7:0] hour;
wire [7:0] min;
wire [7:0] sec;
wire tweet;
initial begin
clk = 0;
forever begin
#5 clk = ~clk;
end
end
initial begin
rst_n = 0;
en = 0;
# 50
@(negedge clk)
rst_n = 1;
@(negedge clk)
en = 1;
// #10000000 $finish;
end
digital_clock inst_digital_clock(
.clk(clk),
.rst_n(rst_n),
.en(en),
.hour(hour),
.min(min),
.sec(sec),
.tweet(tweet)
);
endmodule
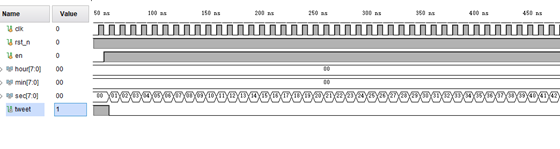
仿真波形





就到这里吧!
参考资料
- 参考资料1
- 参考资料2
- 参考资料3
- 参考链接4
- 参考链接5
交个朋友
-
个人微信公众号:FPGA LAB
-
知乎:李锐博恩
-
FPGA/IC技术交流2020
最后
以上就是舒心微笑最近收集整理的关于Verilog设计实例(7)基于Verilog的数字电子钟设计的全部内容,更多相关Verilog设计实例(7)基于Verilog内容请搜索靠谱客的其他文章。
发表评论 取消回复