
硅谷Live / 实地探访 / 热点探秘 / 深度探讨
本文由极客公园原创,
阅读更多内容请关注极客公园微信公众号(ID:GeekPark)
在特斯拉 Model 3 刚上市的时候,有一个小细节经常被忽略,但发现的人都会很迷惑。
在后视镜的上方,特斯拉安装了一枚面向车内的摄像头,位置之隐蔽很难让人轻易发现,因此引来很多人的猜测,比如爱好阴谋论的人就会说这是马斯克监控司机的设备。为此,特斯拉官方回应确认了摄像头的存在,但表示这枚摄像头目前还不可用,更多详细信息也没有透露。
(特斯拉 Model 3 的车内摄像头,图自Electrek)
直到现在,我们终于知道这枚摄像头的真正用途了。
根据 Electrek 报道,特斯拉在最近申请的一项专利中表示,他们将计划用驾驶室内的摄像头来提升驾驶员的个性化体验。
实际上,在很多车内交互新功能中,许多都与车内摄像头息息相关。驾驶员疲劳监测、身份认证识别等等都是被人们熟知的新应用。不过,另一些人却对这项功能颇具微词,称它是破坏隐私的最后一道防线。所以在车内安装摄像头,到底是不是一个好的决定?
特斯拉的“特立独行”
在特斯拉这项专利被曝光之前,外界对于 Model 3 车内摄像头的猜测大多关于驾驶员监测系统(Driver Monitor System,简称 DMS)。原因也很简单,目前大多数“智能汽车”,包括我们常说的“新造车势力”,几乎全部在车内安装了车内摄像头,并且基于面向司机的摄像头延伸出了不少应用。
其中最常见的应用就是 DMS,威马 EX5、小鹏 G3、凯迪拉克 CT6 等车型都应用了该系统,用于监测驾驶员疲劳情况。根据小鹏汽车最近更新的 Xmart OS 1.5 版本显示,通过车内摄像头实时检测驾驶员在行车过程中的疲劳行为特征(打呵欠、长时间闭眼等),在发生疲劳行为时及时做出预警。
沃尔沃则在 2019 年初宣布将使用安装在车内的摄像头监控驾驶员的行为,在驾驶员看上去分心或酒驾时进行系统干预。
沃尔沃方面表示,车内摄像头将监控眼球运动,如果驾驶员注意力在其他地方,比如看了一段时间手机、未能将手放在方向盘上,沃尔沃会通过救援中心的代表致电警告;对于不看道路、甚至闭着眼睛的司机,必要时汽车将自动减速或停止。
(沃尔沃车内摄像头,图自网络)
显然,这些车企并不包括特斯拉。
以特斯拉 CEO 伊隆·马斯克的敏锐度,如果车内摄像头要搭载 DMS 系统的话,不会耽搁两年之久。
事实上,马斯克曾旗帜鲜明地 diss 过驾驶员监测系统。美国国家运输安全委员会曾在 2016 年 6 月第一起特斯拉致命车祸发生时建议公司,应找出监测方向盘以外的方法來监控驾驶员的状态,但马斯克不予理会。
“眼球追踪的提议之所以不被采用,并不是因为成本,而是因为这种做法‘无效’”马斯克曾在推特上说到。“特斯拉是目前最安全的汽车,比普通汽车安全了 4 倍之多。”如今特斯拉展示的专利也证明,其车内摄像头承载着比 DMS 更大的构思。
专利揭秘:为车内个性化系统设置
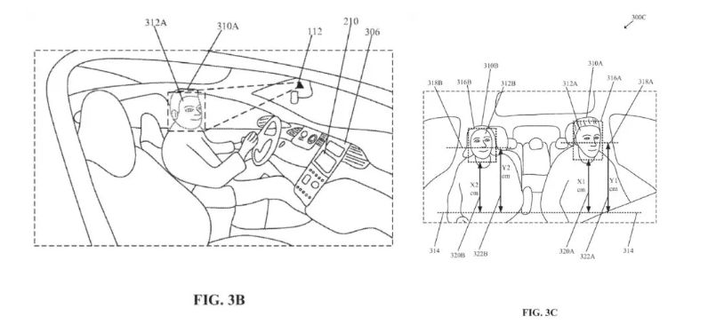
据悉,特斯拉这项名为“基于乘客身体部位空间位置的个性化系统”(Personalization System and Method for a Vehicle based on Spatial Locations of Occupants』 Body Portions)的专利是这样描述的:
“该个性化系统包括车内的图像捕获装置。该装置经过设置增加了对车辆乘客的整体舒适性和娱乐体验。无论是在驾驶前还是在驾驶过程中,个性化系统提供先进、智能和自动的实时或近实时车内系统个性化,以增强一致的车内舒适性和娱乐体验。”

(特斯拉个性化系统专利截图,图自Electrek)
专利提到,个性化系统能够根据一名或多名车内乘员的相关位置和捕获的图像,估计各种身体部位的各种高度,根据用户预先设定的偏好,确定不同高度、不同身体部位和不同车载系统之间的联系。该新方法除了能够计算车内人数之外,还能够实现其他功能。
简单概括,特斯拉希望把摄像头当做乘客识别记忆,这样每一次有人进入车辆内都不需要手动调整座椅、后视镜等。
如果在私人车辆内,座椅记忆功能只需要进行自定义即可,为什么还需要摄像头来判定?
显然,马斯克的构思内不仅限于私人车辆,面向的是 Robotaxi 等自动驾驶车队,打造一整套的个性化系统。从以车为核心转变到以人为核心,能让人上任意一辆车后,汽车都能感知你的行为偏好以及驾驶习惯。

(特斯拉个性化系统专利截图,图自Electrek)
总的来说,DMS 与特斯拉的个性化系统都是由车内摄像头结合了人脸识别技术带来的强大功能。但人们会对这颗一直监控着车内情况的摄像头买账吗?仍有不少人质疑车内摄像头,其中最担心的问题莫过于隐私。
隐私会是最大障碍吗?
但是,因为存储并分析生物特征数据,车内摄像头引发了人们对于隐私的思考。
“你不关心隐私,不代表别人不关心,这个功能是不合理的。”一位网友在论坛里评价车内摄像头如此说到。
对于这类反对的声音,车企给出的回复是:给用户自主选择的权利。
“在进行技术开发的时候,我们要考虑的是和整个完整场景的融合,如果有用户担心所谓的隐私泄露,直接关闭就可以了,甚至是不激活。”斑马网络 CEO 郝飞告诉极客公园(ID:geekpark)。在斑马最近展示的新技术里,包括了通过车内摄像头识别驾驶员姿态、表情等信息功能。
最近上市的奇瑞星途车型当中,奇瑞与小度车载 OS 合作安装了一颗面向司机的摄像头,可以用于人脸识别、刷脸支付等等。奇瑞的工作人员同样向极客公园表示,如果不需要的话,可随时将摄像头关闭。

(星途车内摄像头在司机的右上方,星途官网)
宝马汽车公司无人驾驶资深专家Dirk Wisselmann曾表示,车企明白驾驶员监测技术会引发隐私问题,因此宝马不会存储驾驶员监控的信息。
有趣的是,特斯拉之前还提出过一个想法:给摄像头加一个滑盖,就像笔记本电脑上的摄像头一样,不需要的时候就把盖子合上,但这个前瞻的想法最终并未在 Model 3 上实现。
但是,不开启摄像并不是最终的解决方案。
就像手机出现前摄像头、iPhone X 首次搭载了深度摄像头可进行人脸识别一样,既然用户能够接受手机的前摄像头,那么车内摄像头是同样的道理。需要让用户了解的一点是,这枚摄像头在个性化体验方面都能带来很大的想象空间。
如果有人坐在后排,摄像头会识别并自动调整通风口;有乘客损坏车辆时它拍摄的画面将是有力的证据;开启自动驾驶时如果有司机昏倒的情况存在,可以直接通知到医院……
更不用说在自动驾驶方向,车内摄像头存在的意义实际上是加强安全保障。如果没有摄像头监控司机行为,主机厂们担心司机会误用或滥用辅助驾驶系统,甚至以后的全自动驾驶。
(当自动驾驶来临时,车内摄像头可以起到更大的作用,图自视觉中国)
为了提供更高级的服务,汽车上除了机器视觉之外还加入了语音等技术,形成多模态交互。“这些系统都会成为所有汽车的标准配置”,高通汽车产品管理副总裁 Nakul Duggal 表示。
多种多样的用途能够提升用户体验,这是大趋势之一。“技术本身没有可接受或不可接受,而是说能不能够用更低的成本,达到更高的性能效果,甚至达到更好的使用体验。”郝飞如此说到。
必须承认,为了迎接趋势,需要放手一些东西,但并不意味着牺牲掉隐私。所以,对于隐私而言,给用户自主选择权只是解决方案的其中一部分,怎样让车企正确使用数据、加强对于数据隐私安全的保障,也是解决方案的关键所在。
大家怎么看车企在车内装摄像头这件事呢?你支持吗?欢迎留言讨论!

推荐阅读

区块链报告 | 脑机接口报告
硅谷人工智能 | 斯坦福校长
卫哲 | 姚劲波 | 胡海泉
垂直种植 | 无人车
王者荣耀 | 返老还童

最后
以上就是勤恳火最近收集整理的关于特斯拉Model3为什么要在车内装摄像头?的全部内容,更多相关特斯拉Model3为什么要在车内装摄像头内容请搜索靠谱客的其他文章。
发表评论 取消回复