运用simulink实现2RC模型的锂电池模型
导师要求学习锂电池建模,接触一个星期,感慨资料、视频不好找,还是看论文来得实在,找了几十篇论文,粗略了解等效模型原理,根据一篇硕士论文,完成模型搭建,论文为《基于二阶EKF的锂离子电池SOC估计的建模与仿真》作者西安科技大学赵佳美,希望大家能去读一读,从中大部分借鉴,也还改了两三处别扭的地方。总之先应付导师,后续如有必要继续学习。如有错误,恳请指出,轻喷。

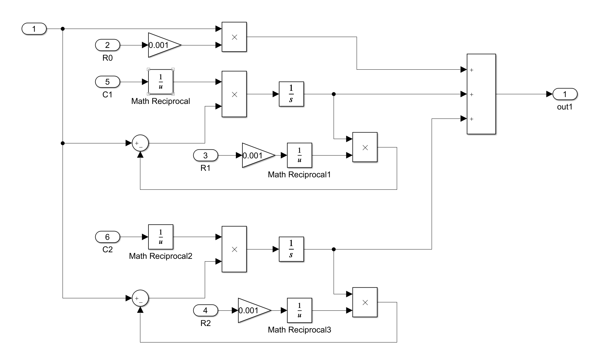
- 左边给出模拟电流signal builder通过模型几个模块,计算出最终电压。Uocv开路电压减去,欧姆电阻x电流&两个RC模拟模块产生电压,即需要计算的电压。
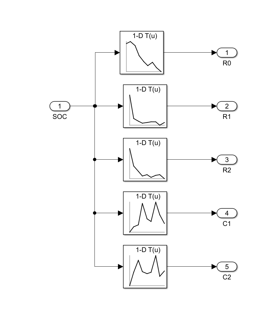
- 拿到论文作者的HPPC实验后计算拟合得到的数据表,rc参数计算和soc-ocv都用查表法一一对应查找,simulink模块名称1-D lookup table。

-
三个主要模块:

SOC计算模块:设置放电电流为正,这个倒是无所谓,心里有数就行。Cn为电池容量

RC参数计算模块:查表法,我承认我在偷懒。

电压计算模块:这里注意单位,不然最后计算结果会很奇怪,或者拿scope慢慢测试吧。 -
最后是测试环节。按照论文中的脉冲放电测试,设定初始 SOC=0.9,电
流信号模块设定电流为 1.35A 的脉冲电流,通过放电10s,静置 40s 进行模型仿真验证。
论文验证结果如下图:

我的结果:


以上都是我一个萌新的摸索,欢迎指点,有问题请留言。
很基础的模型,需要的可以这里下载
最后
以上就是拉长秀发最近收集整理的关于基于 Matlab/simulink实现锂电池建模与仿真的全部内容,更多相关基于内容请搜索靠谱客的其他文章。
本图文内容来源于网友提供,作为学习参考使用,或来自网络收集整理,版权属于原作者所有。
发表评论 取消回复