我是靠谱客的博主 迷人绿草,这篇文章主要介绍D2D网络架构介绍,现在分享给大家,希望可以做个参考。

D2D(Device-to-Device)通信,也称为邻近服务(Proximity Service,ProSe),是由3GPP组织提出的一种点到点的无线通信技术,它可以在蜂窝通信系统的控制下允许LTE终端之间利用小区无线资源直接进行通信,而不经过蜂窝网络中转。作为面向5G的关键候选技术,D2D技术能够提升通信系统的频谱效率,减轻系统负荷,在一定程度上解决无线通信系统频谱资源匮乏的问题。同时,由于降低了通信距离,D2D技术还可以降低移动终端发射功率,减少电池消耗,提高终端续航时间。
在3GPP体系中,ProSe技术分为邻近发现(ProSe Discovery)和邻近通信(ProSe Communication)两部分。
邻近发现包括直接发现(Direct Discovery)、EPC等级发现(EPC-level Prose Discovery)及EPC支持的WLAN直接发现和通信(EPC support for WLAN direct discovery and communication。
邻近通信包括一对一、一对多以及中继通信等。

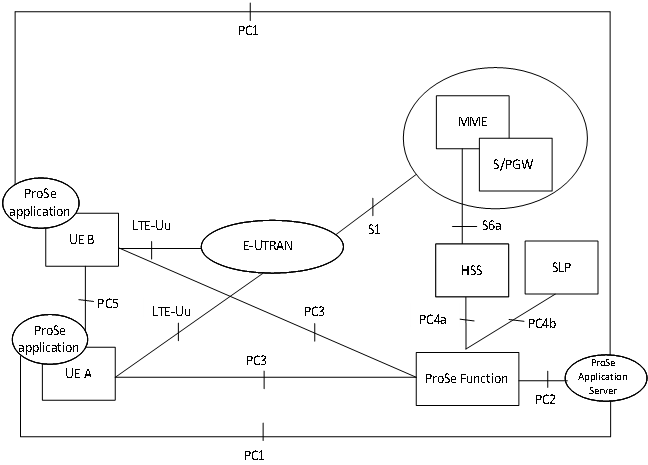
以下图片为D2D的网络架构图,在本篇中还将解释各个网络接口
在这里插入图片描述 非漫游同一PLMN下D2D系统整体架构

最后

以上就是迷人绿草最近收集整理的关于D2D网络架构介绍的全部内容,更多相关D2D网络架构介绍内容请搜索靠谱客的其他文章。

本图文内容来源于网友提供,作为学习参考使用,或来自网络收集整理,版权属于原作者所有。
点赞(208)

评论列表共有 0 条评论

立即
投稿
返回
顶部