有I/O的地方就必然涉及到编码,而对于中文来说,乱码问题也经常困扰着程序猿,理解各种编码方式,了解编码的过程。能够帮助我们避免产生乱码问题或者产生问题之后能迅速定位bug。这一话的内容主要是从网上搜集来的各方资料整理而成,属于借花献佛。
一、各种编码的历史由来
很久以前,有一群人,他们决定用8个可以开合的晶体管来组合成不同的状态,以表示世界上的万物。并将这8个开关状态称之为“字节”。
开始计算机只在美国用。八位的字节一共可以组合出256(2的8次方)种不同的状态。
控制码:
他们把其中的编号从0开始的32种状态分别规定了特殊的用途,一旦终端、打印机遇上约定好的这些字节被传过来时,就要做一些约定的动作。遇上0x07,终端就向人们嘟嘟叫,遇上0x1b,打印机就打印反白的字,或者终端就用彩色显示字母。他们看到这样很好,于是就把这些0x20以下的字节状态称为“控制码”。
ASII码:
他们又把所有的空格、标点符号、数字、大小写字母分别用连续的字节状态表示,一直编到了第127号,这样计算机就可以用不同字节来存储英语的文字了。大家看到这样,都感觉很好,于是大家都把这个方案叫做ANSI的“ASCII”编码(American Standard Code for Information Interchange,美国信息互换标准代码)。当时世界上所有的计算机都用同样的ASCII方案来保存英文文字。
ISO8859-1 – ISO8859-16 :
后来,就像建造巴比伦塔一样,世界各地都开始使用计算机,但是很多国家用的不是英文,他们的字母里有许多是ASCII里没有的,为了可以在计算机保存他们的文字,他们决定采用127号之后的空位来表示这些新的字母、符号,还加入了很多画表格时需要用下到的横线、竖线、交叉等形状,一直把序号编到了最后一个状态255。从128到255这一页的字符集被称“扩展字符集”。从此之后,贪婪的人类再没有新的状态可以用了。
GB2312:
等中国人们得到计算机时,已经没有可以利用的字节状态来表示汉字,况且有6000多个常用汉字需要保存呢。但是这难不倒智慧的中国人民,我们不客气地把那些127号之后的奇异符号们直接取消掉,规定:一个小于127的字符的意义与原来相同,但两个大于127的字符连在一起时,就表示一个汉字,前面的一个字节(他称之为高字节)从0xA1用到0xF7,后面一个字节(低字节)从0xA1到0xFE,这样我们就可以组合出大约7000多个简体汉字了。在这些编码里,我们还把数学符号、罗马希腊的字母、日文的假名们都编进去了,连在ASCII里本来就有的数字、标点、字母都统统重新编了两个字节长的编码,这就是常说的“全角”字符,而原来在127号以下的那些就叫“半角”字符了。
中国人民看到这样很不错,于是就把这种汉字方案叫做“GB2312”。GB2312是对ASCII的中文扩展。
GBK:
但是中国的汉字太多了,我们很快就发现有许多人的人名没有办法在这里打出来。于是我们不得不继续把GB2312没有用到的编码位找出来用上。
后来还是不够用,于是干脆不再要求低字节一定是127号之后的内码,只要第一个字节是大于127就固定表示这是一个汉字的开始,不管后面跟的是不是扩展字符集里的内容。结果扩展之后的编码方案被称为GBK标准,GBK包括了GB2312的所有内容,同时又增加了近20000个新的汉字(包括繁体字)和符号。
GB18030:
后来少数民族也要用电脑了,于是我们再扩展,又加了几千个新的少数民族的字,GBK扩成了GB18030。从此之后,中华民族的文化就可以在计算机时代中传承了。
中国的程序员们看到这一系列汉字编码的标准是好的,于是通称他们叫做“DBCS”(Double Byte Character Set双字节字符集)。在DBCS系列标准里,最大的特点是两字节长的汉字字符和单字节长的英文字符并存于同一套编码方案里,因此他们写的程序为了支持中文处理,必须要注意字串里的每一个字节的值,如果这个值是大于127的,那么就认为一个双字节字符集里的字符出现了。那时候凡是受过加持,会编程的计算机僧侣们都要每天念下面这个咒语数百遍:
“一个汉字算两个英文字符!一个汉字算两个英文字符……”
因为当时各个国家都像中国这样搞出一套自己的编码标准,结果互相之间谁也不懂谁的编码,谁也不支持别人的编码!这怎么办?而且世界民族之林中还有那些一时用不上电脑的穷苦人民,他们的文字又怎么办?
真是计算机的巴比伦塔命题啊!
UNICODE:
正在这时,大天使加百列及时出现了——一个叫ISO(国际标谁化组织)的国际组织决定着手解决这个问题。他们采用的方法很简单:废了所有的地区性编码方案,重新搞一个包括了地球上所有文化、所有字母和符号的编码!他们打算叫它“Universal Multiple-Octet Coded Character Set”,简称UCS,俗称“UNICODE”。
UNICODE开始制订时,计算机的存储器容量极大地发展了,空间再也不成为问题了。于是ISO就直接规定必须用两个字节,也就是16位来统一表示所有的字符,对于ASCII里的那些“半角”字符,UNICODE保持其原编码不变,只是将其长度由原来的8位扩展为16位,而其他文化和语言的字符则全部重新统一编码。由于“半角”英文符号只需要用到低8位,所以其高8位永远是0,因此这种大气的方案在保存英文文本时会多浪费一倍的空间。
这时候,从旧社会里走过来的程序员开始发现一个奇怪的现象:他们的SRELEN函数靠不住了,一个汉字不再是相当于两个字符了,而是一个!是的,从UNICODE开始,无论是半角的英文字母,还是全角的汉字,它们都是统一的“一个字符”!同时,也都是统一的“两个字节”,请注意“字符”和“字节”两个术语的不同,“字节”是一个8位的物理存贮单元,而“字符”则是一个文化相关的符号。在UNICODE中,一个字符就是两个字节。一个汉字算两个英文字符的时代已经快过去了。
从前多种字符集存在时,那些做多语言软件的公司遇上过很大麻烦,他们为了在不同的国家销售同一套软件,就不得不在区域化软件时也念那个双字节字符集咒语,不仅要处处小心不要搞错,还要把软件中的文字在不同的字符集中转来转去。UNICODE对于他们来说是一个很好的一揽子解决方案,于是从Windows NT开始,MS趁机把它们的操作系统改了一遍,把所有的核心代码都改成了用UNICODE方式工作的版本,从这时开始,WINDOWS系统终于不需要加装各种本土语言系统,就可以显示全世界上所有文化的字符了。
但是,UNICODE在制订时没有考虑与任何一种现有的编码方案保持兼容,这使得GBK与UNICODE在汉字的内码编排上完全是不一样的,没有一种简单的算术方法可以把文本内容从UNICODE编码和另一种编码进行转换,这种转换必须通过查表来进行。
如前所述,UNICODE是用两个字节来表示为一个字符,他总共可以组合出65535不同的字符,这大概已经可以覆盖世界上所有文化的符号。如果还不够也没有关系,ISO已经准备了UCS-4方案,说简单了就是四个字节来表示一个字符,这样我们就可以组合出21亿个不同的字符出来(最高位有其他用途),这大概可以用到银河联邦成立那一天吧!
UTF8 与 UTF16:
UNICODE来到时,一起到来的还有计算机网络的兴起,UNICODE如何在网络上传输也是一个必须考虑的问题,于是面向传输的众多UTF(UCS Transfer Format)标准出现了。顾名思义,UTF8就是每次8个位传输数据,而UTF16就是每次16个位,只不过为了传输时的可靠性(因为网络传输会存在消息包的乱序),从UNICODE到UTF时并不是直接的对应,而是要过一些算法和规则来转换。这一点,在UTF8的官网有说明:Unicode Transformation Format 8-bit is a variable-width encoding that can represent every character in the Unicode character set. It was designed for backward compatibility with ASCII and to avoid the complications of endianness and byte order marks in UTF-16 and UTF-32.
UCS只是规定如何编码,并没有规定如何传输、保存这个编码。例如“汉”字的UCS编码是6C49,我可以用4个ascii数字来传输、保存这个编码;也可以用utf-8编码:3个连续的字节E6 B1 89来表示它。关键在于通信双方都要认可。UTF-8、UTF-7、UTF-16都是被广泛接受的方案。UTF-8的一个特别的好处是它与ISO-8859-1完全兼容。UTF是“UCS Transformation Format”的缩写。
受到过网络编程加持的计算机僧侣们都知道,在网络里传递信息时有一个很重要的问题,就是对于数据高低位的解读方式,一些计算机是采用低位先发送的方法,例如我们PC机采用的INTEL架构,而另一些是采用高位先发送的方式,在网络中交换数据时,为了核对双方对于高低位的认识是否是一致的,采用了一种很简便的方法,就是在文本流的开始时向对方发送一个标志符——如果之后的文本是高位在先,那就发送“FEFF”,反之,则发送“FFFE”。不信你可以用二进制方式打开一个UTF-X格式的文件,看看开头两个字节是不是这两个字节?
utf8转换规则:
讲到这里,我们再顺便说说一个很著名的奇怪现象:当你在Windows的记事本里新建一个文件,输入“联通”两个字之后,保存,关闭,然后再次打开,你会发现这两个字已经消失了,代之的是几个乱码!呵呵,有人说这就是联通之所以拼不过移动的原因。
其实这是因为GB2312编码与UTF8编码产生了编码冲撞的原因。
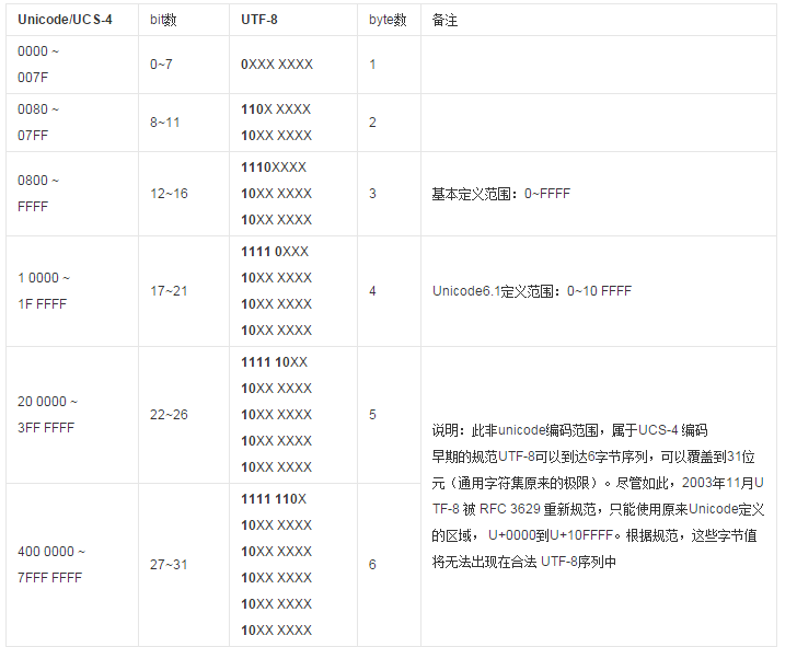
这是UNICODE到UTF8的转换规则:

例如“汉”字的Unicode编码是6C49。6C49在0800-FFFF之间,所以要用3字节模板:1110xxxx 10xxxxxx 10xxxxxx。将6C49写成二进制是:0110110001001001,将这个比特流按三字节模板的分段方法分为0110110001001001,依次代替模板中的x,得到:1110-0110 10-110001 10-001001,即E6B189,这就是其UTF8的编码。
而当你新建一个文本文件时,记事本的编码默认是ANSI,如果你在ANSI的编码输入汉字,那么他实际就是GB系列的编码方式,在这种编码下,“联通”的内码是:
c1 11000001
aa 10101010
cd 11001101
a8 10101000
注意到了吗?第一二个字节、第三四个字节的起始部分的都是“110”和“10”,正好与UTF8规则里的两字节模板是一致的,于是再次打开记事本时,记事本就误认为这是一个UTF8编码的文件,让我们把第一个字节的110和第二个字节的10去掉,我们就得到了“00001101010”,再把各位对齐,补上前导的0,就得到了“0000000001101010”,不好意思,这是UNICODE的006A,也就是小写的字母“j”,而之后的两字节用UTF8解码之后是0368,这个字符什么也不是。这就是只有“联通”两个字的文件没有办法在记事本里正常显示的原因。
而如果你在“联通”之后多输入几个字,其他的字的编码不见得又恰好是110和10开始的字节,这样再次打开时,记事本就不会坚持这是一个UTF8编码的文件,而会用ANSI的方式解读之,这时乱码又不出现了。
在数据库里,有n前缀的字串类型就是UNICODE类型,这种类型中,固定用两个字节来表示一个字符,无论这个字符是汉字还是英文字母,或是别的什么。
如果你要测试“abc汉字”这个串的长度,在没有n前缀的数据类型里,这个字串是7个字符的长度,因为一个汉字相当于两个字符。而在有n前缀的数据类型里,同样的测试串长度的函数将会告诉你是5个字符,因为一个汉字就是一个字符。
以下是自己画的一个各种编码方式使用的字节空间的描述图,可以将就看看:

最后
以上就是闪闪时光最近收集整理的关于《关于编码》第0话——各种编码方式的由来的全部内容,更多相关《关于编码》第0话——各种编码方式内容请搜索靠谱客的其他文章。
发表评论 取消回复