
来源 | 复杂美研发团队
责编 | Carol
出品 | 区块链大本营(ID:blockchain_camp)
抗疫工作进入到焦灼的攻坚期,但因为物资调配等问题处理不到,部分慈善机构被推至风口浪尖。

对比产生的质疑,归根结底是两个问题:
一是效率:为什么后方乃至各界支援了那么多钱和物,最艰苦的前线仍出现“子弹打光”的情况?
二是公平:为什么“主力战疫部队”供不上的时候,“非战斗部队”却获得了更多的物资(网友指这家仁爱医院并不收治发热病人,媒体今天询问该院的时候也得到如此答复)?
一直以来,“战时捐赠”都是敏感问题。
前线不怕流血,但怕血白流;后方不怕付出,但怕我们的付出被浪费、被辜负。捐赠的物品和国家下拨的物品,最要紧的是流向需要之处。
因此在这个全国瞩目的战场,任何一方如果有处置不当,都有可能被卷入舆情风暴,遭到舆论单方面的拷问,而如果回应不当导致舆论进一步发酵,很有可能要殃及到整个行业。
当然,湖北红会也自觉“委屈”。据报道,武汉红十字会常务副会长陈耘表示,武汉市红会只有10个人,湖北省红会有20多个人,加上统计局调拨的30个人,巨额捐款和海量物资,就由这60多号人负责接收、清点、查验、登记,还得及时信息公开。
“经常网上有人骂我们,挺委屈的。”
这里没有任何洗白的意思,看到后续的许多报道,笔者也对部分慈善机构的处置能力感到愤慨。但冷静想想,个例或许并不能代表全部,国内很多慈善机构其实做的很好,但一条臭鱼会坏了一锅汤,那些兢兢业业的慈善机构遭到误伤,他们才应该大呼“委屈”。
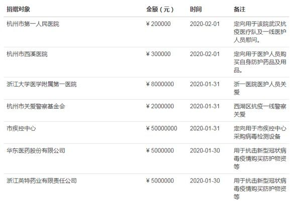
比如最近,杭州的红十字会突然走红。因为在它的官网上,每天都会公开所有捐赠款物收支明细,且精确到分。

哪怕是只有1元钱的捐赠,也会在官网上被公示,支出也有迹可循。

事实上,在这背后,有着更加体系化信息建构。
在2016年,杭州便已经搭建了全覆盖的信息管理系统,开始「最多跑一次」的改革。随着时代发展与技术革新,现在大部分的操作都不用「跑一次」,在APP上就能完成。
杭州红十字会信息的公开透明,仅仅这项伟大工程的其中之一。点滴积累,才有今天从容。
那么,这次疫情中慈善组织的“委屈”,是否也可以用科技手段解决呢?
回顾此次舆论关注焦点,还是在于部分慈善机构未能及时透明公开的公示善款物资的使用情况,以及公示信息出现纰漏,后又重新修改引发质疑。而这个痛点,恰好对应了近年来热度颇高的区块链技术。
区块链本质上是一种分布式的数据储存系统,具有链上数据透明公开,不可篡改的技术特性。
去年10月24日,中央指出,要抓住区块链技术融合、功能拓展、产业细分的契机,发挥区块链在促进数据共享、优化业务流程、降低运营成本、提升协同效率、建设可信体系等方面的作用。要探索“区块链+”在民生领域的运用,积极推动区块链技术在教育、就业、养老、精准脱贫、医疗健康、商品防伪、食品安全、公益、社会救助等领域的应用。
针对此次疫情中,公众质疑的慈善机构不公开透明的情况,区块链可以通过进行善款物资捐赠数据及使用信息上链,增强信息的透明度和可信性,这有助于公众对慈善行业重回信任,发挥其特殊时期的重要作用。
因此在过年期间,我们持续观察区块链行业的案例针对疫情的动作,令人欣慰的是,大量区块链企业快速响应,第一时间向疫区送去援助,比如:
火币集团旗下火币公益捐助1000万元人民币用于全球医疗物资采购;蚂蚁金服为全国医护人员设计保障金;杭州趣链科技向武汉捐赠10万只N95医用口罩,并发起员工募捐;杭州复杂美捐赠10万元并发起建立33区块链慈善平台,登记社会捐赠、医护志愿者信息并上链;欧科集团捐赠十万套医用物资;度小满金融捐赠1000万加入百度疫情攻坚专项基金;数字资产研究院募资21万套N95型口罩、1000套防护服;嘉楠科技计划捐出不少于200万的现金及物资......此外,还有很多行业企业进行了爱心依据,这里就不一一罗列。
更值得关注的是,在疫情之下行业对于区块链+解决方案的思考,因为这很可能催生出区块链技术新的重要应用场景。
最早的案例是1月25日(正月初一),杭州复杂美科技发起的33区块链慈善平台。截稿时,该平台目前已经开发完成并落地,并累计登记存证信息273条,囊括企业、名人及社会各界爱心认识的慈善捐赠信息,及医护志愿者的医疗志愿信息等。
据33慈善平台介绍,搭建平台的初衷,是为了让企业或个人,通过区块链来证明自己的捐赠行为,让慈善行为在阳光下公开透明的开展,重塑社会信任体系。

在平台中,各需求方以自己名义在链上发布需求,相比原本打电话确认需求方的身份地址等,区块链上,医院可通过身份认证机构申请CA证书获得签名,让大家清晰了解院方的确切需求,避免错捐,同时CA证书也可匹配各供给方、物流方,让整个捐赠流程公开透明,如:
医院需求方发布口罩防护服的标准和数量,并用token签名后示意。如武汉A医院N95型20万个口罩采购需求发布token,武汉B医院N95型10万个口罩采购需求发布token;
经过认证的N95口罩供给方,按每天的实际产能发布供给token的数量,如30万个,并标价;
如果标准、价格、数量皆符合,A医院将自动分配到20万个N95口罩、B医院分配到10万个N95口罩;
物流方面,各物流企业可以匹配分担物流任务,核算出运费;
捐助方根据以上匹配的订单和运费将资金支付给供给方和物流方;
物流方到供给方进行提货,发送到医院需求方;
A或B医院收到的每批货都在区块链上确认;
A或B医院每天消耗的口罩数据上链;患者使用的可由患者或家属来确认后上链。
通过以上的流程,解决了原来的多个痛点:
各方身份实现确认,有多次历史数据可验证;
物资标准化并自由匹配,价格可控,资源配置更合理;
资金方最后支付完成订单,对各方实现有效监督;
物流及使用过程公开透明,后期经资方授权可转分配或转捐赠。
不过,目前33慈善平台仅能做到用户自主或根据权威公告来源登记捐赠方、志愿者数据,但不可否认,这是区块链技术很好的落地尝试,也是区块链在慈善透明迈出的第一步。
同时,2月1日,中软协区块链分会发起“区块链+公益慈善”技术创新行动倡议,组建课题项目组,鼓励企业进行相关研究;2月2日,南京审计大学上线疫情防控区块链系统,采集全校教职工及学生的疫情防控相关信息,以提高统计效率和准确性等。
目前区块链各企业,正在积极探索技术在疫情防控、社会资源协调等方面实施的可能性,相关落地的案例也会逐渐增加,区块链技术也将逐渐发挥作用。
最终还是那个共同的心愿:愿疫情早日散去,愿医护工作者平安;
武汉加油,中国加油!

* 关于作者:
复杂美研发团队
杭州复杂美chain33底层架构研发团队,于2013 年启动区块链、智能合约的研发与创新,为海航海平线、美的金融等多家世界500强企业上线区块链项目,并落地平行链项目,落地了近50条应用行业公链。团队2014 年10月申请第一个区块链发明专利:钱包找回功能,并在2017 年 12 月获得授权,目前已公开区块链技术发明专利233项,8项已经获得授权,位列全球前五,阿里巴巴与腾讯科技全球排名分列第一和第二。


推荐阅读
世界上最大的色情网站Pornhub,现接受用Tether对模特进行付款
好扑科技技术副总裁戎朋:从海豚浏览器技术负责人到区块链,揭秘区块链技术之路
以太坊2.0发布最终规范:将IETF BLS标准集成到eth2的规范中、部分测试网现已升级到主网配置……
K8s 实践 | 如何解决多租户集群的安全隔离问题?
为什么 k8s 在阿里能成功?| 问底中国 IT 技术演进
170个新项目,579个活跃代码仓库,Facebook开源年度回顾
各大互联网大厂年终奖一览表,又是别人家的公司!
春节加班,老铁们求在看!????
猛戳 “阅读原文 ”有惊喜
最后
以上就是单身西装最近收集整理的关于慈善机构的“委屈”,区块链能否吹散信任阴霾?的全部内容,更多相关慈善机构内容请搜索靠谱客的其他文章。
发表评论 取消回复