在阿里云上安装好服务器后,进入linux控制台界面安装EMQX
执行wget https://www.emqx.com/zh/downloads/broker/5.0.3/emqx-5.0.3-ubuntu20.04-amd64.deb下载emqx,最新的版本可以在官网找到。Download EMQX
下载完成后执行sudo dpkg -i emqx-5.0.3-ubuntu20.04-amd64.deb安装emqx
安装完成后执行sudo emqx start 启动emqx服务,显示如下则启动成功

也可以执行sudo emqx_ctl status 查看状态,结果如下

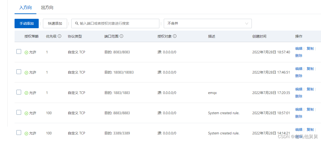
启动emqx成功后,配置阿里云服务器,进入云服务器ECS界面,点击安全组。

点击配置规则

手动添加如下

打开电脑的浏览器输入http://xxx.xxx.xxx.xxx:18083 (xxx.xxx.xxx.xxx 就是你的公网ip),进入以下界面输入 用户名:admin 密码:public

登录成功后可以进入以下界面
在这可以看到连接的客户端

接下来我们打开MQTTX

连接成功后在EMQX Dashboard界面点击刷新,可以看到连接的客户端

打开MQTTX订阅消息,输入信息后点击发送,有回显则表示功能正常

特别注意的是,MQTT发送的消息在EMQX Dashboard是看不见具体内容的,只能看见有消息发布和订阅。

可以在另一台电脑打开MQTTX重复上面的步骤连接服务器,订阅/发布 topic1,则可以看到两台电脑通过云上服务器在通信。
最后
以上就是儒雅季节最近收集整理的关于阿里云上安装MQTT服务器的全部内容,更多相关阿里云上安装MQTT服务器内容请搜索靠谱客的其他文章。
发表评论 取消回复