文章目录
- 一、前言
- 二、CubeMX
- 2.1、Cortex interface Settings
- 2.2、Cortex Memory Protection Unit Control Settings(内存保护单元控制设置)
- 2.3、Cortex Memory Protection Unit Region 0 Settings(内存保护单元区域0设置)
- 2.3.1、MPU Region
- 2.3.2、MPU Region Base Address(MPU区域首地址)
- 2.3.3、MPU Region Size(MPU区域大小)
- 2.3.4、MPU SubRegion Disable
- 2.3.5、MPU TEX field level(MPU TEX域等级)
- 2.3.6、MPU Access Permission(MPU访问权限)
- 2.3.7、MPU Instruction Access ( MPU指令访问)
- 2.3.8、MPU Shareability Permission(MPU共享许可)
- 2.3.9、MPU Cacheable Permission(MPU Cache许可)与 MPU Bufferable Permission(MPU 缓存许可)
- 三、代码
- 3.1、案例一
- 3.2、案例二
- 3.3、案例一与案例二的区别
相关笔记:
STM32H743+CubeMX-将变量定义到指定的内存
STM32CubeIDE教程-查看FLASH与RAM细节
一、前言
充分发挥Cortex-M7架构(STM32H743属于Cortex-M7)的性能,必须掌握MPU的使用。实际上,提高CPU性能的不是MPU,而是Cache(高速缓存器)。在STM32上,配置了MPU才能使用Cache,Cache的配置是通过MPU设置的。总之,为了使用cache才配置MPU。
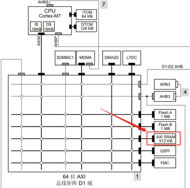
参考安富莱例程源码,配置MPU管理512kb的AXI SRAM内存:
- 访问许可为Full access(访问不受限)
- 内存类型:Normal
- Cache的配置为Write-back,wirte and read allocate(Cache四种配置之一)
- 禁止多个进程共享内存。

为什么使用Cache才能充分发挥CPU的性能?在默认的配置下,静态内存优先使用128KB的DTCM。原因是CPU读写DTCM内存的速度是480M,所以一般优先使用128KB的DTCM。CPU直接读写其他静态内存的速度仅仅只有200M,白白浪费CPU的480M主频了。为了解决这个问题,Cortex-M7架构有了cache。通过提前将数据缓冲到12KB的cache,然后CPU再从cache里读取数据,这样就能解决当CPU读写AXI SRAM与SRAM1等内存时所造成的性能损失。
为什么要学习使用MPU?只有通过设置MPU才能配置cache,才能正常使用cache缓存数据。

并不是DTCM挤满了才有机会使用MPU。比如当使用ADC+DMA采集模拟量数据时,DMA并不能将外设采集的模拟量数据存放到DTCM里,一般只能放进AXI SRAM,SRAM1,SRAM2,SRAM3里。此时,就需要使用MPU+cache提高CPU读写AXI RAM,SRAM1等内存的速度。

配置MPU的目的是使用cache,所以可以简单地将MPU的设置分为三部分。第一部分是配置MPU的内存地址,第二部分是配置Cache的读写规则,第三部分设置保护规则(配置MPU是为了使用Cache,所以不用保护)。

二、CubeMX
2.1、Cortex interface Settings
在CubeMX上找到CORTEX_M7,使能CPU ICache与CPU DCahce。其实就是使能Cache(高速缓存器)。

2.2、Cortex Memory Protection Unit Control Settings(内存保护单元控制设置)
MPU Control Mode有四种控制模式:
- Background Region Access Not Allowed + MPU Disable during hard fault , NMI and FAULTMASK handlers
- Background Region Access Not Allowed + MPU Enable during hard fault , NMI and FAULTMASK handers
- Background Region Privileged access only + MPU Disable during hard fault , NMI and FAULTMASK handlers
- Background Region Privileged access only + MPU Enable during hard fault , NMI and FAULTMASK handers

MPU Control Mode选项其实就是配置MPU_CTRL寄存器:
- PRIVDEFENA :使能特权软件对默认内存映射的访问
- HFNMIENA:使能在硬件故障,NMI与FAULTMASK中断程序里操作MPU

MPU的四种控制模式相当于:
- Background Region Access Not Allowed + MPU Disable during hard fault , NMI and FAULTMASK handlers (PRIVDEFENA = 0 + HFNMIENA = 0)
- Background Region Access Not Allowed + MPU Enable during hard fault , NMI and FAULTMASK handers (PRIVDEFENA = 0 + HFNMIENA = 1)
- Background Region Privileged access only + MPU Disable during hard fault , NMI and FAULTMASK handlers (PRIVDEFENA = 1 + HFNMIENA = 0)
- Background Region Privileged access only + MPU Enable during hard fault , NMI and FAULTMASK handers (PRIVDEFENA = 1 + HFNMIENA = 1)
2.3、Cortex Memory Protection Unit Region 0 Settings(内存保护单元区域0设置)
2.3.1、MPU Region
必须使能。
2.3.2、MPU Region Base Address(MPU区域首地址)
内存的首地址0x24000000,从编程手册RM0433查询到:

2.3.3、MPU Region Size(MPU区域大小)
内存的大小512KB,从编程手册RM0433查询到:

2.3.4、MPU SubRegion Disable
0x00表示没有子区域。
2.3.5、MPU TEX field level(MPU TEX域等级)
配置MPU_RASR寄存器的TEX段,当前只用到000(level0)与001(level1)两种。

2.3.6、MPU Access Permission(MPU访问权限)
为了使用Cache才配置的MPU,所以并不需要限制访问。设置MPU_RASR寄存器的AP段,设置Full access(访问不受限)。

2.3.7、MPU Instruction Access ( MPU指令访问)
必须Enable。
2.3.8、MPU Shareability Permission(MPU共享许可)
必须DISABLE。根据安富莱的教程:

2.3.9、MPU Cacheable Permission(MPU Cache许可)与 MPU Bufferable Permission(MPU 缓存许可)
这两个配置与MPU TEX field level一起决定Memory Type(内存的类型)。

ST官方手册对以下下四种内存类型与Cache一起使用的说明:

安富莱的STM32H7用户手册对这四个内存类型与Cache也有进一步的说明,更容易理解。

三、代码
3.1、案例一

CubeMX上MPU的设置生成的代码如下:
void MPU_Config(void)
{
MPU_Region_InitTypeDef MPU_InitStruct = {0};
/* Disables the MPU */
HAL_MPU_Disable();
/** Initializes and configures the Region and the memory to be protected
*/
MPU_InitStruct.Enable = MPU_REGION_ENABLE; //MPU Region
MPU_InitStruct.Number = MPU_REGION_NUMBER0; //Region 0 Settings
MPU_InitStruct.BaseAddress = 0x24000000; //MPU Region Base Address
MPU_InitStruct.Size = MPU_REGION_SIZE_512KB; //MPU Region Size
MPU_InitStruct.SubRegionDisable = 0x0; //MPU SubRegion Disable
MPU_InitStruct.TypeExtField = MPU_TEX_LEVEL1; //MPU TEX field level
MPU_InitStruct.AccessPermission = MPU_REGION_FULL_ACCESS; //MPU Access Permission
MPU_InitStruct.DisableExec = MPU_INSTRUCTION_ACCESS_ENABLE; //MPU Instruction Access
MPU_InitStruct.IsShareable = MPU_ACCESS_NOT_SHAREABLE; //MPU Shareability Permission
MPU_InitStruct.IsCacheable = MPU_ACCESS_CACHEABLE; //MPU Cacheable Permission
MPU_InitStruct.IsBufferable = MPU_ACCESS_BUFFERABLE; //MPU Bufferable Permission
HAL_MPU_ConfigRegion(&MPU_InitStruct);
/* Enables the MPU */
HAL_MPU_Enable(MPU_HFNMI_PRIVDEF); //MPU Enable
}
3.2、案例二

void MPU_Config(void)
{
MPU_Region_InitTypeDef MPU_InitStruct = {0};
/* Disables the MPU */
HAL_MPU_Disable();
/** Initializes and configures the Region and the memory to be protected
*/
MPU_InitStruct.Enable = MPU_REGION_ENABLE;
MPU_InitStruct.Number = MPU_REGION_NUMBER0;
MPU_InitStruct.BaseAddress = 0x24000000;
MPU_InitStruct.Size = MPU_REGION_SIZE_512KB;
MPU_InitStruct.SubRegionDisable = 0x0;
MPU_InitStruct.TypeExtField = MPU_TEX_LEVEL1;
MPU_InitStruct.AccessPermission = MPU_REGION_FULL_ACCESS;
MPU_InitStruct.DisableExec = MPU_INSTRUCTION_ACCESS_ENABLE;
MPU_InitStruct.IsShareable = MPU_ACCESS_NOT_SHAREABLE;
MPU_InitStruct.IsCacheable = MPU_ACCESS_CACHEABLE;
MPU_InitStruct.IsBufferable = MPU_ACCESS_BUFFERABLE;
HAL_MPU_ConfigRegion(&MPU_InitStruct);
/* Enables the MPU */
HAL_MPU_Enable(MPU_PRIVILEGED_DEFAULT);
}
3.3、案例一与案例二的区别
案例一与案例二的区别在于MPU control mode不一样,从而导致函数MPU_Config(void)里,最后一段代码HAL_MPU_Enable( )的入口参数从MPU_HFNMI_PRIVDEF改为MPU_PRIVILEGED_DEFAULT。功能上的区别是程序要不要在硬件错误等中断回调函数里处理MPU。
最后
以上就是犹豫毛巾最近收集整理的关于STM32H743+CubeMX-梳理MPU的设置一、前言二、CubeMX三、代码的全部内容,更多相关STM32H743+CubeMX-梳理MPU内容请搜索靠谱客的其他文章。
发表评论 取消回复