一、物联网无线技术
目前国内物联网无线技术中 NB-IoT(-130dBm), LTE(-110dBm)和LoRa(-142.5dBm)应用较多。LoRa 的“接收灵敏度”在目前民用无线通信技术中排第一,以常用的 125kHz/SF12为例,它可以达到 -142.5dBm。

二、无线通信距离
在理想环境中也就是在自由空间传播:天线周围为无限大真空时的电波传播,它是理想传播条件。电波在自由空间传播时,其能量既不会被障碍物所吸收,也不会产生反射或散射。
在自由空间传播时,无线通信满足如下物理公式(1):

(1)
Pt ---- 发射器的发射功率。
Pr ---- 接收器的灵敏度。
Gt ---- 发射天线增益。
Gr ---- 接收天线增益。
f ---- 载波频率。
d ---- 收、发天线间距离。
c ---- 光速(3 x 108m/s)。
Lc ---- 基站发射天线的馈线插损。
L0 ---- 因环境带来的空中传播损耗。
将公式(1)进行变换:
(2)
(3)
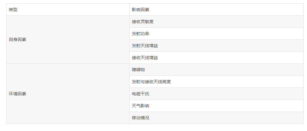
三、影响无线通信距离因素
但在实际应用中无线的通信距离并不理想,许多因素制约无线通信距离,客观分成自身因素和环境因素。

1.提高灵敏度
公式(3)可以看出提高接收灵敏度(减小 Pr ),可以有效增加通信距离。
2.发射功率
公式 (3) 可知,提高发射功率(增大 Pt)可以有效增加通信距离。
3. 发射天线增益
从公式 (3) 可知,提高发射天线增益(增大 Gt )可以有效增加通信距离。
4. 接收天线增益
公式 (3) 可知,提高接收天线增益(增大 Gr )可以有效增加通信距离。
5.降低空中损耗
公式 (3) 可知,降低空中传播损耗(减小 L0 )可以有效增加通信距离。
6.降低载波频率
公式 (3) 可知,降低载波频率(减小 f )可以有效增加通信距离。
四、天线对距离的影响
4.1天线工作原理
天线是一种变换器,它把传输线上传播的导行波,变换成在无界媒介(通常是自由空间)中传播的电磁波,或者进行相反的变换。在无线电设备中用来发射或接收电磁波的部件。

天线具有方向性所以天线可分为全向天线和定向天线:
全向天线:向周围 360度发散。

全向天线
定向天线:对指定范围进行信号覆盖。比如电信运营商的网络信号覆盖。

定向天线
4.2天线增益

辐射距离是天线很重要的特性,提高该特性的办法是增加振子。如上图所示,振子越多,轮胎越扁,传播距离越远。
4.3天线驻波比
驻波比全称为电压驻波比,又名 VSWR 和 SWR,它表示天馈线与基站匹配程度的指标。它越接近于1,说明天线匹配也就越好。
如果 SWR 等于1, 则表示发射传输给天线的电波没有任何反射,全部发射出去,这是最理想的情况。
如果 SWR 大于1, 则表示有一部分电波被反射回来,最终变成热量,做了无用功。
4.4天线效率
天线效率是指天线辐射出去的功率(即有效地转换电磁波部分的功率)和输入到天线的有功功率之比。它是恒小于1的数值,该值越大,说明天线的效率越高。
5.LoRa距离测试
5.1LoRa距离测试分析
从上面已经介绍各个因素对无线通信的影响,现在结合LoRa分析如何提高信号传输距离。
提高灵敏度
在LoRa中扩频因子(SF)和调制带宽(BW)直接影响了接收灵敏度。
扩频因子(SF):扩频调制技术采用多个信息码片来代表有效负载信息的每个位。扩频信息的发送速度称为符号速率(Rs),而码片速率与标称符号速率之间的比值即为扩频因子,其表示每个信息位发送的符号数量。

由上表可知扩频因子越大,灵敏度越高,通信距离越远。
调制带宽(BW):带宽就是单位时间内的最大数据流量,也可以说是单位时间内最大可能提供多少个二进制位传输。增加信号带宽,可以提高有效数据速率缩短传输时间,但会牺牲灵敏度。

上表是在868MHz频段测出试验数据,由此可以看出带宽越大灵敏度越低,通信距离越近。
2.发射功率
LoRa支持+20dBm-100mW电压变化时恒定的射频功率输出。
3.发射天线增益
购买增益较高天线。
4.接收天线增益
购买增益较高天线。
5.降低空中损耗
不可控因素。
6.降低载波频率
在允许范围内选择较低发射频率。载波频率的设置应该避开32MHz的整数倍,否则会影响距离。下表是LoRa芯片频率选择范围。

7.障碍物
尽可能选择空旷地区,高层建筑少,树木稀疏,无遮挡的环境。
8.发射与接收天线高度
将天线架在高处,增大盲区的覆盖。
9.电磁干扰
选择电信基站少的地区。
10.天气影响
选择晴朗天气。
11.移动情况
减少设备的移动,定点测试。
五、LoRa距离测试
测试路线:为某直线大街
地点:
1号起点:LoRa发射装置,人员手持距离地面1.2米左右。
2号起点:LoRa发射装置,在11层楼窗户上,前面有玻璃遮挡。
18米高度差:一座跨河桥梁距离起点与测试点水平面有18米高障碍。
测试点:测试点LoRa接收装置,人员手持距离地面约1.5米。
天线:测试两种天线,1号天线比2号天线增益更大。
测试数据:测试数据这里省略。
通过测试数据可得出以下结论:
2号天线传输距离最近,且丢包率大。
天线架设较高时,传输距离越远且丢包率低。
带宽越大丢包率越大,传输距离也越近。
3km处已经完全接收不到信号,城市高楼较多,且电磁环境复杂。
SNR和RSSI仅供参考,丢包率才是衡量通信质量关键指标。
最后
以上就是从容舞蹈最近收集整理的关于lora模块学习三的全部内容,更多相关lora模块学习三内容请搜索靠谱客的其他文章。
发表评论 取消回复