先看下MAC层的协议架构。

MACstructure overview
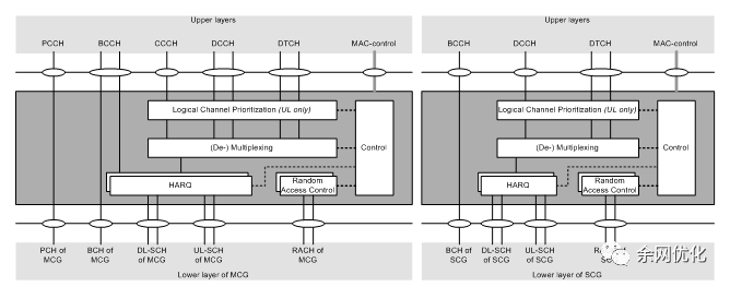
当UE被配置为SCG时,两个MAC实体被配置到UE:一个用于MCG,一个用于SCG。
当UE配置有DAPS(Dual Active Protocol Stack)切换时,UE使用两个MAC实体:一个用于源小区(源MAC实体),另一个用于目标小区(目标MAC实体)。
除非另有规定,否则UE中不同MAC实体的功能独立地操作。除非另有规定,否则每个MAC实体中使用的计时器和参数是独立配置的。除非另有规定,否则每个MAC实体所考虑的服务小区、C-RNTI、RB、逻辑信道、上层和下层实体、LCG(Logical Channel Group)和HARQ实体是指映射到该MAC实体的那些实体。
如果MAC实体配置有一个或多个SCell,则存在多个DL-SCH,并且每个MAC实体可能有多个UL-SCH以及多个RACH;SpCell上有一个DL-SCH、一个UL-SCH和一个RACH,每个SCell上有一个DL-SCH、零个或一个UL-SCH和零个或一个RACH。
如果MAC实体没有配置任何SCell,则每个MAC实体有一个DL-SCH、一个UL-SCH和一个RACH。

MACstructure overview with two MAC entities
MAC的主要功能如下:
调度请求(SR)
缓存状态上报(BSR)
功率余量上报(PHR)
下行半静态调度(SPS)
上行半静态调度(UL configured Grant,type1和type2)
逻辑信道优先级操作(LCP:Logical Channel Prioritization)
复用和解复用
HARQ操作
上行同步过程
SCELL的集合和去激活
BWP操作,包括激活和去激活
PDCP重复的激活和去激活
波束失败和恢复
DRX功能

Exampleof a UL MAC PDU
在上行方向上,为了加快MAC层和物理层的处理效率,达到“随到随走”的效果,将MAC层MAC SDU对应的sub-header放置在MAC SDU的前面(即:MAC sub-PDU和MAC sub-header交织在一起)。
而MAC CE是放在整个MAC PDU的后面,这是因为上行的很多MAC CE(比如:BSR),只有在生成了MAC sub-PDU之后,才会更加层2种的数据卷和其他条件来决定是否需要携带以及BSR的具体内容。
MAC PDU的这种格式减少了UE在收到UL Grant以后需要实时处理的环节。下图是一个UE在接收到gNB的调度资源后的时序示例。

NR UL Grant
上层协议的PDU作为下层协议的SDU一起共享缓存空间,上层协议负责写,下层协议允许读,但不能写。

LTE上行调度示意图
下图是MAC PDU下行帧结构,下行的MAC PDU的特点是MAC CE是在MAC sub-PDU的前面,而MAC sub-PDU和上行类似,也是把MAC sub-Header和MAC sub-PDU进行了交织。把MAC CE放在MAC PDU的前面是比较自然的处理,一个数据包从物理层传递给MAC层的时候,MAC层可以马上知道这个数据包的总长度,但是其中的MAC CE或者MAC sub-PDU的长度信息是包含在每个MAC CE和MAC sub-PDU的前面部分,这就决定了分离这些MAC CE和MAC sub-PDU在MAC层是一个从头开始的串行过程。
把MAC CE放在MAC PDU的前面是因为将这些MAC CE分离后,马上就可以在MAC层进行协议处理。

Exampleof a DL MAC PDU
下图是一个UE接收到到数据包的处理行为示例。

图中MAC层解复用操作以后,每个MAC CE和每个MAC sub-PDU就可以马上进行分离,通过读取RLC的帧头字节(蓝色)可以判断,这个MAC sub-PDU是否可以先进行解密处理。假如某个数据包在RLC层进行了分块操作(灰色),那么这个数据包就无法先进行PDCP层的解密操作,而需要在RLC层把所有的RLC分块收集完整了以后,才能够进行解密操作。
子载波间隔和PUSCH的发送持续时间与用户面的时延有关。如果业务要求的时延比较短,那么会采用比较大的子载波间隔和比较小的PUSCH发送时间。
每个MAC PDU中可以包含多个逻辑信道,在下行方向上解复用的过程比较简单,因为MAC层的sub-Header中已经有了逻辑信道标识(LCID),而在上行方向上,关键是在收到一个或者多个UL Grant的时候,如何在不同的逻辑信道之间进行资源的分配,这个分配的过程就是逻辑信道优先级过程(LCP:logical Channel Priority)
MAC层在收到UL Grant的时候,物理层也会告诉MAC层这个UL Grant属性。首先是根据各个逻辑信道配置的一些限制,确定和这个UL Grant相关的逻辑信道有哪些,确定了逻辑信道后,先根据逻辑信道的PBR(prioritized Bit Rate)按照优先级进行分配,之后再是按照逻辑信道的优先级进行二次分配,直到所有的UL Grant都分配完毕。
接下来就是HARQ过程,上下行都是异步HARQ,而且NR没有上行HARQ ACK,因为gNB如果没有收到上行的数据包,通过动态调度的方式让UE进行重发。
UE的下行调度主要依赖上上行PUCCH、PUSCH上发送的CQI数据,而上行信道的调度,除了直接通过对SRB的测量之外,主要还是依靠MAC层的辅助信息,包括BSR和PHR。
最后
以上就是饱满小鸭子最近收集整理的关于帧同步分离逻辑层和渲染层_NR MAC层协议介绍的全部内容,更多相关帧同步分离逻辑层和渲染层_NR内容请搜索靠谱客的其他文章。
发表评论 取消回复