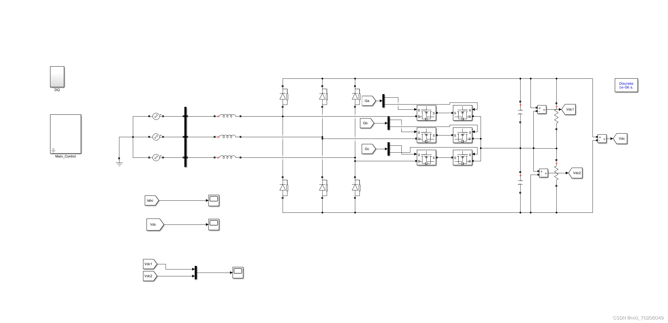
VIENNA_Rectifier:基于MATLAB/Simulink的VIENNA(维也纳)整流器仿真模型。
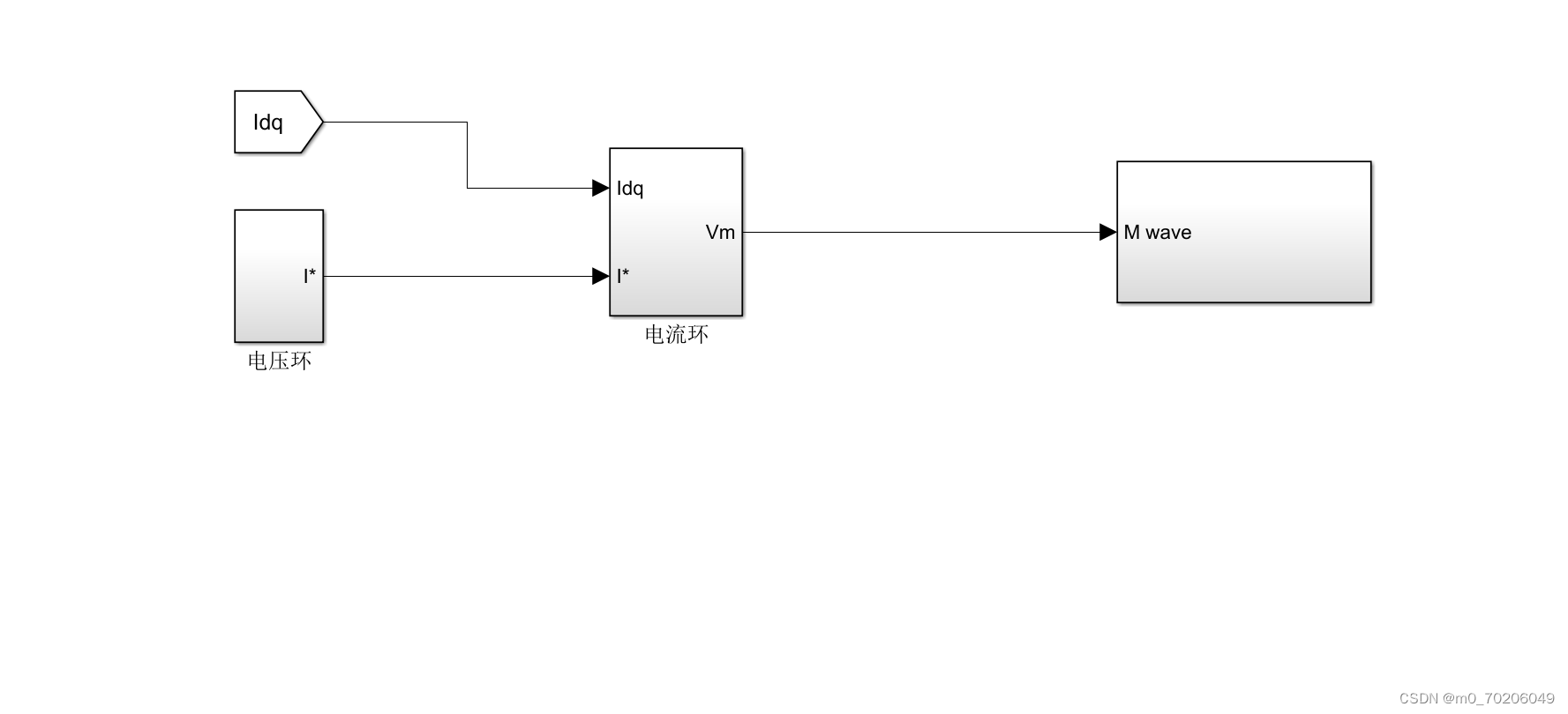
控制算法采用电压电流双环控制,电压外环采用PI控制器,电流内环采用PI控制器。
SVPWM和SPWM两种调制方式。三电平整流器。


主电路模型
电压环和电流环
直流侧电压700V
网侧电流 单位功率因数

直流侧上下电容电压
最后
以上就是清新向日葵最近收集整理的关于VIENNA整流器仿真 电动汽车充电器仿真模型的全部内容,更多相关VIENNA整流器仿真内容请搜索靠谱客的其他文章。
本图文内容来源于网友提供,作为学习参考使用,或来自网络收集整理,版权属于原作者所有。
发表评论 取消回复