我是靠谱客的博主 着急画板,这篇文章主要介绍帧同步分离逻辑层和渲染层_NR MAC层协议介绍,现在分享给大家,希望可以做个参考。

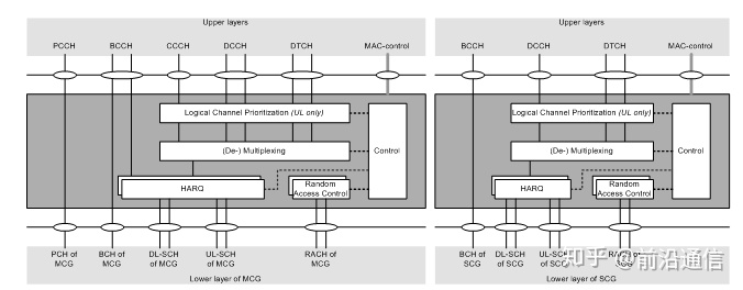
先看下MAC层的协议架构。

d2a4de91a092e7a1bf303a6ac39946c3.png

当UE被配置为SCG时,两个MAC实体被配置到UE:一个用于MCG,一个用于SCG。

当UE配置有DAPS(Dual Active Protocol Stack)切换时,UE使用两个MAC实体:一个用于源小区(源MAC实体),另一个用于目标小区(目标MAC实体)。

除非另有规定,否则UE中不同MAC实体的功能独立地操作。除非另有规定,否则每个MAC实体中使用的计时器和参数是独立配置的。除非另有规定,否则每个MAC实体所考虑的服务小区、C-RNTI、RB、逻辑信道、上层和下层实体、LCG(Logical Channel Group)和HARQ实体是指映射到该MAC实体的那些实体。

如果MAC实体配置有一个或多个SCell,则存在多个DL-SCH,并且每个MAC实体可能有多个UL-SCH以及多个RACH;SpCell上有一个DL-SCH、一个UL-SCH和一个RACH,每个SCell上有一个DL-SCH、零个或一个UL-SCH和零个或一个RACH。

如果MAC实体没有配置任何SCell,则每个MAC实体有一个DL-SCH、一个UL-SCH和一个RACH。

68bb622f04466ccb9d4e174e616a0a5a.png

MAC的主要功能如下:

  • 调度请求(SR)
  • 缓存状态上报(BSR)
  • 功率余量上报(PHR)
  • 下行半静态调度(SPS)
  • 上行半静态调度(UL configured Grant,type1和type2)
  • 逻辑信道优先级操作(LCP:Logical Channel Prioritization)u 复用和解复用
  • HARQ操作
  • 上行同步过程
  • SCELL的集合和去激活
  • BWP操作,包括激活和去激活
  • PDCP重复的激活和去激活
  • 波束失败和恢复
  • DRX功能

e1d38bff3076c8e1fe9eb0273a7331f6.png

在上行方向上,为了加快MAC层和物理层的处理效率,达到“随到随走”的效果,将MAC层MAC SDU对应的sub-header放置在MAC SDU的前面(即:MAC sub-PDU和MAC sub-header交织在一起)。

而MAC CE是放在整个MAC PDU的后面,这是因为上行的很多MAC CE(比如:BSR),只有在生成了MAC sub-PDU之后,才会更加层2种的数据卷和其他条件来决定是否需要携带以及BSR的具体内容。

MAC PDU的这种格式减少了UE在收到UL Grant以后需要实时处理的环节。下图是一个UE在接收到gNB的调度资源后的时序示例。

63ab4f5940c3be951de86594f18e6e00.png

上层协议的PDU作为下层协议的SDU一起共享缓存空间,上层协议负责写,下层协议允许读,但不能写。

e26622e8607516c14ce9cd4c00ffe4c1.png

下图是MAC PDU下行帧结构,下行的MAC PDU的特点是MAC CE是在MAC sub-PDU的前面,而MAC sub-PDU和上行类似,也是把MAC sub-Header和MAC sub-PDU进行了交织。把MAC CE放在MAC PDU的前面是比较自然的处理,一个数据包从物理层传递给MAC层的时候,MAC层可以马上知道这个数据包的总长度,但是其中的MAC CE或者MAC sub-PDU的长度信息是包含在每个MAC CE和MAC sub-PDU的前面部分,这就决定了分离这些MAC CE和MAC sub-PDU在MAC层是一个从头开始的串行过程。

把MAC CE放在MAC PDU的前面是因为将这些MAC CE分离后,马上就可以在MAC层进行协议处理。

be9610e24afb8d06b301e80fa10e8d7a.png

下图是一个UE接收到到数据包的处理行为示例。

3cde24a94b6feaa0faf42dc8d05fbb1d.png

图中MAC层解复用操作以后,每个MAC CE和每个MAC sub-PDU就可以马上进行分离,通过读取RLC的帧头字节(蓝色)可以判断,这个MAC sub-PDU是否可以先进行解密处理。假如某个数据包在RLC层进行了分块操作(灰色),那么这个数据包就无法先进行PDCP层的解密操作,而需要在RLC层把所有的RLC分块收集完整了以后,才能够进行解密操作。

子载波间隔和PUSCH的发送持续时间与用户面的时延有关。如果业务要求的时延比较短,那么会采用比较大的子载波间隔和比较小的PUSCH发送时间。

每个MAC PDU中可以包含多个逻辑信道,在下行方向上解复用的过程比较简单,因为MAC层的sub-Header中已经有了逻辑信道标识(LCID),而在上行方向上,关键是在收到一个或者多个UL Grant的时候,如何在不同的逻辑信道之间进行资源的分配,这个分配的过程就是逻辑信道优先级过程(LCP:logical Channel Priority)

MAC层在收到UL Grant的时候,物理层也会告诉MAC层这个UL Grant属性。首先是根据各个逻辑信道配置的一些限制,确定和这个UL Grant相关的逻辑信道有哪些,确定了逻辑信道后,先根据逻辑信道的PBR(prioritized Bit Rate)按照优先级进行分配,之后再是按照逻辑信道的优先级进行二次分配,直到所有的UL Grant都分配完毕。

接下来就是HARQ过程,上下行都是异步HARQ,而且NR没有上行HARQ ACK,因为gNB如果没有收到上行的数据包,通过动态调度的方式让UE进行重发。UE的下行调度主要依赖上上行PUCCH、PUSCH上发送的CQI数据,而上行信道的调度,除了直接通过对SRB的测量之外,主要还是依靠MAC层的辅助信息,包括BSR和PHR。

最后

以上就是着急画板最近收集整理的关于帧同步分离逻辑层和渲染层_NR MAC层协议介绍的全部内容,更多相关帧同步分离逻辑层和渲染层_NR内容请搜索靠谱客的其他文章。

本图文内容来源于网友提供,作为学习参考使用,或来自网络收集整理,版权属于原作者所有。
点赞(189)

评论列表共有 0 条评论

立即
投稿
返回
顶部