本文章为原创,转载请注明出处!
登录平台:IOTOS®爱投斯物联中台
账号:iotos_test 密码:iotos123
代码地址:IOTOSDK-Python: IOTOS Python版本SDK,自带原生接口和采集引擎 (gitee.com)
目录
前言
驱动目的
适用范围
使用示例
驱动代码
驱动解析
-
前言
窄带物联网(Narrow Band Internet of Things, NB-IoT)成为万物互联网络的一个重要分支。NB-IoT构建于蜂窝网络,只消耗大约180kHz的带宽,可直接部署于GSM网络、UMTS网络或LTE网络,以降低部署成本、实现平滑升级。NB-IoT的设备可以连接至三大运营商的IoT平台,方便了设备的对接
-
驱动目的
将连接至电信平台的NB气体感应报警器的数据拿到并上云展示
-
适用范围
品牌为JT-TCN,型号为5010的气体感应报警器 ,能将设备绑定在电信平台
-
使用示例
- 进入爱投斯中台,账号为iotos_test,密码为iotos123,在【创建模板】->【我的模板】,创建模板,填写相关信息,配置需要的参数,参数application为电信平台分配的唯一应用标识(在应用管理栏) ,参数key为电信平台分配的唯一应用标识(在应用管理栏),productId为电信平台的产品id ,deviceId为电信平台的设备id ,MasterKey在该设备所属产品的概况中可以查看

- 进入爱投斯中台,账号为iotos_test,密码为iotos123,创建网关

- 填好网关名称后点击确认

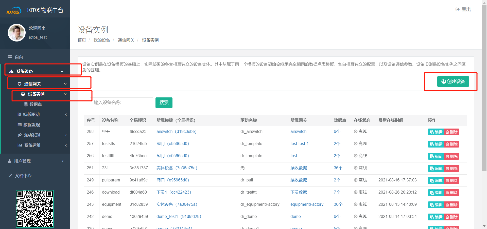
- 创建设备示例点击【我的设备】 -> 【通信网关】 -> 【设备实例】->【创建设备】

- 填写【设备名称】、选择刚刚创建的【模板驱动】和【通信网关】。

- 创建数据点,点击【系统设备】 -> 【通信网关】 -> 【设备实例】 -> 【数据点】,并在【设备实例】下拉列表选择刚刚创建的设备实例

- 点击右边的创建数据点,填写名称

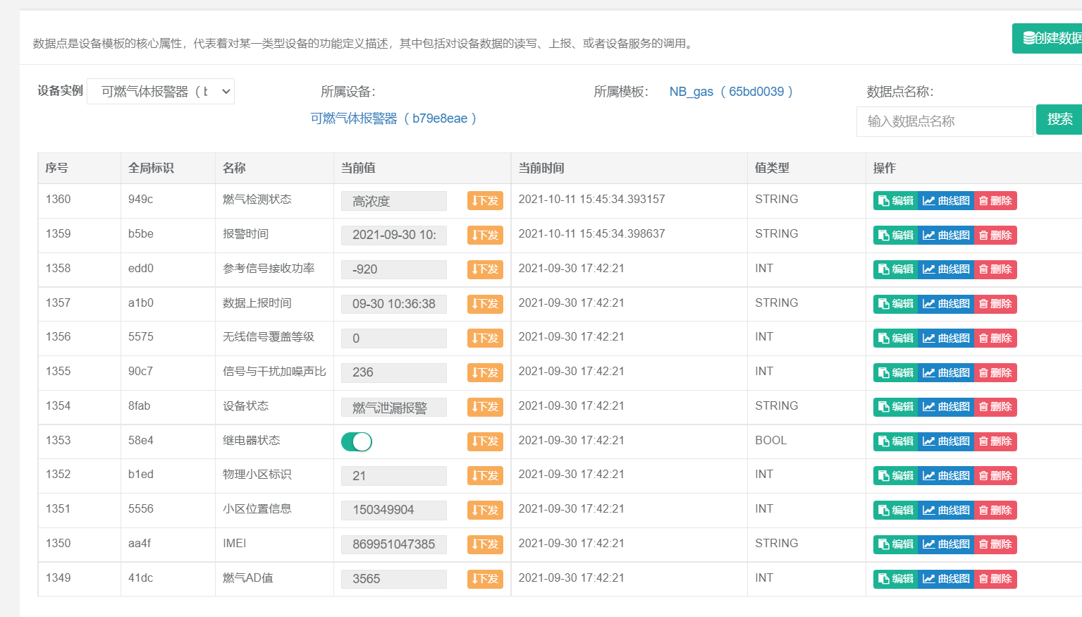
- 并在高级配置中配置数据点的相关标志,“参考信号接收功率 ”,“燃气检测状态 ”,这两个为接收数据的两种数据类型的第一个点,配置"private"属性用于驱动识别,分别配置为show_data,gas_event,例如“参考信号接收功率”这个点的配置:

- 其他数据数据点中的属性需要填写"point"和"index",第一种类型的数据点中的point填写"参考信号接收功率"该数据的oid,第二类数据点中的point填写"燃气检测状态"该数据点的oid,第一类数据点中燃气AD值、IMEI、小区位置信息、物理小区标识、继电器状态、设备状态、信号与干扰加噪声比、无线信号覆盖等级、数据上报时间。index分别填写9、8、7、......、1。第二类数据点中报警时间。index填写1。例如,”报警时间“:

- 在【系统设备】 -> 【通信网关】中找到刚才创建的网关,点击【高级】

- 开启云网关,密码为账号密码

- 点击 【系统设备】 -> 【通信网关】 -> 【设备实例】->【数据点】,选择刚才创建的设备实例

- 即可查看数据已经上报成功

-
驱动代码
#coding=utf-8
import sys
sys.path.append("..")
from driver import *
import time
import datetime
from urllib import urlencode
import urllib2
import base64
import hmac
import json
from hashlib import sha1
reload(sys)
sys.setdefaultencoding('utf8')
#签名算法
def signature(key, application, timestamp, param, body):
code = "application:" + application + "n" + "timestamp:" + timestamp + "n"
for v in param:
code += str(v[0]) + ":" + str(v[1]) + "n"
if (body is not None) and (body.strip()) :
code += body + 'n'
return base64.b64encode(hash_hmac(key, code, sha1))
#数据加密
def hash_hmac(key, code, sha1):
hmac_code = hmac.new(key.encode(), code.encode(), sha1)
print("hmac_code=" + str(hmac_code.hexdigest()))
return hmac_code.digest()
#时间戳误差调整
def getTimeOffset(url):
request = urllib2.Request(url)
start = int(time.time() * 1000)
response = urllib2.urlopen(request)
end = int(time.time() * 1000)
if response is not None:
return int(int(response.headers['x-ag-timestamp']) - (end + start) / 2);
else:
return 0
baseUrl = 'https://ag-api.ctwing.cn'
timeUrl = 'https://ag-api.ctwing.cn/echo'
offset = getTimeOffset(timeUrl)
#发送http请求函数
def sendSDKRequest(path, head, param, body, version, application, MasterKey, key, method=None, isNeedSort=True,isNeedGetTimeOffset=False):
paramList = []
for key_value in param:
paramList.append([key_value, param[key_value]])
print("paramList=" + str(paramList))
if (MasterKey is not None) and (MasterKey.strip()):
paramList.append(['MasterKey', MasterKey])
if isNeedSort:
paramList = sorted(paramList)
headers = {}
if (MasterKey is not None) and (MasterKey.strip()):
headers['MasterKey'] = MasterKey
headers['application'] = application
headers['Date'] = str(datetime.datetime.now())
headers['version'] = version
temp = dict(param.items())
if (MasterKey is not None) and (MasterKey.strip()):
temp['MasterKey'] = MasterKey
url_params = urlencode(temp)
url = baseUrl + path
if (url_params is not None) and (url_params.strip()):
url = url + '?' + url_params
print("url=" + str(url))
global offset
if isNeedGetTimeOffset:
offset = getTimeOffset(timeUrl)
timestamp = str(int(time.time() * 1000) + offset)
headers['timestamp'] = timestamp
sign = signature(key, application, timestamp, paramList, body)
headers['signature'] = sign
headers.update(head)
print("headers : %s" % (str(headers)))
if (body is not None) and (body.strip()):
request = urllib2.Request(url=url, headers=headers, data=body.encode('utf-8'))
else:
request = urllib2.Request(url=url, headers=headers)
if (method is not None):
request.get_method = lambda: method
response = urllib2.urlopen(request)
if ('response' in vars()):
print("response.code: %d" % (response.code))
return response
else:
return None
#分页查询设备历史数据
def getDeviceStatusHisInPage(appKey, appSecret, body):
path = '/aep_device_status/getDeviceStatusHisInPage'
head = {}
param = {}
version = '20190928013337'
application = appKey
key = appSecret
response = sendSDKRequest(path, head, param, body, version, application, None, key, 'POST')
if response is not None:
return response.read()
return None
#查询事件上报
def QueryDeviceEventList(appKey, appSecret, MasterKey, body):
path = '/aep_device_event/device/events'
head = {}
param = {}
version = '20210327064751'
application = appKey
key = appSecret
response = sendSDKRequest(path, head, param, body, version, application, MasterKey, key, 'POST')
if response is not None:
return response.read()
return None
#数据下发函数
def CreateCommand(appKey, appSecret, MasterKey, body):
path = '/aep_device_command/command'
head = {}
param = {}
version = '20190712225145'
application = appKey
key = appSecret
response = sendSDKRequest(path, head, param, body, version, application, MasterKey, key, 'POST')
if response is not None:
return response.read()
return None
class Project(IOTOSDriverI):
def InitComm(self,attrs):
self.setPauseCollect(False)
self.setCollectingOneCircle(False)
self.online(True)
try:
#获取中台配置的参数(必不可少)
self.Nbapplication = self.sysAttrs['config']['param']['application'] # APPKEY
self.Nbkey = self.sysAttrs['config']['param']['key'] # APPScret
self.NbMasterKey=self.sysAttrs['config']['param']['MasterKey'] #MasterKey
# self.NbMasterKey = "5fef44837aa54f42a7a49b73a4d95a15"
self.NbproductId = self.sysAttrs['config']['param']['productId']
self.NbdeviceId = self.sysAttrs['config']['param']['deviceId']
except Exception,e:
self.debug(u'获取参数失败!'+e.message)
def Collecting(self, dataId):
try:
cfgtmp = self.data2attrs[dataId]['config']
# 过滤掉非采集点
if cfgtmp["param"] == "":
return ()
# 过滤采集点
if 'disabled' in cfgtmp and cfgtmp['disabled'] == True:
return ()
else:
self.debug(self.name(dataId))
#请求需要用的参数
timearry = (datetime.datetime.now() + datetime.timedelta(days=-29)).timetuple() # 当前时间减去29天后转化为timetuple的格式用于转换成timestamp格式
begin_timestamp = str(int(time.mktime(timearry) * 1000) + offset)
end_timestamp = str(int(time.time() * 1000) + offset)
page_size = "100"
page_timestamp = ""
# 上传设备上传数据
if 'private' in cfgtmp['param'] and cfgtmp['param']['private']=='show_data':
body_HisInPage = '{"productId":"' + self.NbproductId + '","deviceId":"' + self.NbdeviceId + '","begin_timestamp":"' + begin_timestamp + '","end_timestamp":"' + end_timestamp + '","page_size":' + page_size + ',"page_timestamp":"' + page_timestamp + '"}'
#http请求,拿去设备上报的数据
res = getDeviceStatusHisInPage(self.Nbapplication, self.Nbkey, body_HisInPage)
data = json.loads(res)['deviceStatusList']
self.debug(data)
data_dic = {}
flat = 0
for i in data:
if 'sample_ad_value' in i and flat != 1:
data_dic.update(i)
flat += 1
elif flat == 1:
break
self.debug(data_dic)
data_list = []
for key, value in data_dic.items():
# 拿到时间戳数据时转化为时间
if key == 'timestamp':
value = time.strftime("%Y-%m-%d %H:%M:%S", time.localtime(int(value) / 1000))
if key=='device_status':
status={
0:"正常",
1:"燃气泄漏报警",
2:"传感器故障",
3:"自检",
4:"失效"
}
value=status[value]
if type(value) == unicode:
# unicode转为str类型
value = value.encode('utf-8')
data_list.append(value)
print (data_list)
return tuple(data_list)
# 上传事件上报的数据
if 'private' in cfgtmp['param'] and cfgtmp['param']['private']=='gas_event':
#查询事件上报的数据
body_event = '{"productId":"' + self.NbproductId + '","deviceId":"' + self.NbdeviceId + '","startTime":"' + begin_timestamp + '","endTime":"' + end_timestamp + '","pageSize":' + page_size + ',"page_timestamp":"' + page_timestamp + '"}'
event_res = QueryDeviceEventList(self.Nbapplication, self.Nbkey, self.NbMasterKey, body_event)
self.debug(event_res)
event_data = json.loads(event_res)['result']['list']
# self.debug(event_data)
event_list = []
for i in event_data:
self.debug(i['eventContent'])
if 'gas_sensor_state' in i['eventContent']:
for key, value in eval(i['eventContent']).items():
if key=="gas_sensor_state":
status={
0:"正常",
1:"低浓度报警",
2:"高浓度"
}
value=status[value]
event_list.append(value)
event_time = time.strftime("%Y-%m-%d %H:%M:%S", time.localtime(int(i['createTime']) / 1000))
event_list.append(event_time)
self.debug(event_list)
break
return tuple(event_list)
return ()
except Exception,e:
self.debug(u'数据上传失败'+e.message)
def Event_setData(self, dataId, value):
return json.dumps({'code': 0, 'msg': '', 'data': ''})
-
驱动解析
- 编写环境为python2,首先先导入需要的依赖包
#coding=utf-8
import sys
sys.path.append("..")
from driver import *
import time
import datetime
from urllib import urlencode
import urllib2
import base64
import hmac
import json
from hashlib import sha1
reload(sys)
sys.setdefaultencoding('utf8')
- 定义api请求的签名算法和发送http请求的参数
#签名算法
def signature(key, application, timestamp, param, body):
code = "application:" + application + "n" + "timestamp:" + timestamp + "n"
for v in param:
code += str(v[0]) + ":" + str(v[1]) + "n"
if (body is not None) and (body.strip()) :
code += body + 'n'
return base64.b64encode(hash_hmac(key, code, sha1))
#数据加密
def hash_hmac(key, code, sha1):
hmac_code = hmac.new(key.encode(), code.encode(), sha1)
print("hmac_code=" + str(hmac_code.hexdigest()))
return hmac_code.digest()
#时间戳误差调整
def getTimeOffset(url):
request = urllib2.Request(url)
start = int(time.time() * 1000)
response = urllib2.urlopen(request)
end = int(time.time() * 1000)
if response is not None:
return int(int(response.headers['x-ag-timestamp']) - (end + start) / 2);
else:
return 0
baseUrl = 'https://ag-api.ctwing.cn'
timeUrl = 'https://ag-api.ctwing.cn/echo'
offset = getTimeOffset(timeUrl)
#发送http请求函数
def sendSDKRequest(path, head, param, body, version, application, MasterKey, key, method=None, isNeedSort=True,isNeedGetTimeOffset=False):
paramList = []
for key_value in param:
paramList.append([key_value, param[key_value]])
print("paramList=" + str(paramList))
if (MasterKey is not None) and (MasterKey.strip()):
paramList.append(['MasterKey', MasterKey])
if isNeedSort:
paramList = sorted(paramList)
headers = {}
if (MasterKey is not None) and (MasterKey.strip()):
headers['MasterKey'] = MasterKey
headers['application'] = application
headers['Date'] = str(datetime.datetime.now())
headers['version'] = version
temp = dict(param.items())
if (MasterKey is not None) and (MasterKey.strip()):
temp['MasterKey'] = MasterKey
url_params = urlencode(temp)
url = baseUrl + path
if (url_params is not None) and (url_params.strip()):
url = url + '?' + url_params
print("url=" + str(url))
global offset
if isNeedGetTimeOffset:
offset = getTimeOffset(timeUrl)
timestamp = str(int(time.time() * 1000) + offset)
headers['timestamp'] = timestamp
sign = signature(key, application, timestamp, paramList, body)
headers['signature'] = sign
headers.update(head)
print("headers : %s" % (str(headers)))
if (body is not None) and (body.strip()):
request = urllib2.Request(url=url, headers=headers, data=body.encode('utf-8'))
else:
request = urllib2.Request(url=url, headers=headers)
if (method is not None):
request.get_method = lambda: method
response = urllib2.urlopen(request)
if ('response' in vars()):
print("response.code: %d" % (response.code))
return response
else:
return None
- 定义查询设备上传上来的数据以及上报的报警事件
#分页查询设备历史数据
def getDeviceStatusHisInPage(appKey, appSecret, body):
path = '/aep_device_status/getDeviceStatusHisInPage'
head = {}
param = {}
version = '20190928013337'
application = appKey
key = appSecret
response = sendSDKRequest(path, head, param, body, version, application, None, key, 'POST')
if response is not None:
return response.read()
return None
#查询事件上报
def QueryDeviceEventList(appKey, appSecret, MasterKey, body):
path = '/aep_device_event/device/events'
head = {}
param = {}
version = '20210327064751'
application = appKey
key = appSecret
response = sendSDKRequest(path, head, param, body, version, application, MasterKey, key, 'POST')
if response is not None:
return response.read()
return None
- 继承IOTOSDriverI这个类,对驱动进行初始化,获取中台设备实例中的参数,用于发送http请求使用
class Project(IOTOSDriverI):
def InitComm(self,attrs):
self.setPauseCollect(False)
self.setCollectingOneCircle(False)
self.online(True)
try:
#获取中台配置的参数(必不可少)
self.Nbapplication = self.sysAttrs['config']['param']['application'] # APPKEY
self.Nbkey = self.sysAttrs['config']['param']['key'] # APPScret
self.NbMasterKey=self.sysAttrs['config']['param']['MasterKey'] #MasterKey
# self.NbMasterKey = "5fef44837aa54f42a7a49b73a4d95a15"
self.NbproductId = self.sysAttrs['config']['param']['productId']
self.NbdeviceId = self.sysAttrs['config']['param']['deviceId']
except Exception,e:
self.debug(u'获取参数失败!'+e.message)
- 采集函数,利用数据点的参数先排除非采集点,再利用设置的私有属性,当采集的数据点到含有私有属性的数据点时,进行相关变量的定义,并且查询设备上报的数据或者上报的报警信息,将其进行处理后以标准的格式输出,进行批量上传
def Collecting(self, dataId):
try:
cfgtmp = self.data2attrs[dataId]['config']
# 过滤掉非采集点
if cfgtmp["param"] == "":
return ()
# 过滤采集点
if 'disabled' in cfgtmp and cfgtmp['disabled'] == True:
return ()
else:
self.debug(self.name(dataId))
#请求需要用的参数
timearry = (datetime.datetime.now() + datetime.timedelta(days=-29)).timetuple() # 当前时间减去29天后转化为timetuple的格式用于转换成timestamp格式
begin_timestamp = str(int(time.mktime(timearry) * 1000) + offset)
end_timestamp = str(int(time.time() * 1000) + offset)
page_size = "100"
page_timestamp = ""
# 上传设备上传数据
if 'private' in cfgtmp['param'] and cfgtmp['param']['private']=='show_data':
body_HisInPage = '{"productId":"' + self.NbproductId + '","deviceId":"' + self.NbdeviceId + '","begin_timestamp":"' + begin_timestamp + '","end_timestamp":"' + end_timestamp + '","page_size":' + page_size + ',"page_timestamp":"' + page_timestamp + '"}'
#http请求,拿去设备上报的数据
res = getDeviceStatusHisInPage(self.Nbapplication, self.Nbkey, body_HisInPage)
data = json.loads(res)['deviceStatusList']
self.debug(data)
data_dic = {}
flat = 0
for i in data:
if 'sample_ad_value' in i and flat != 1:
data_dic.update(i)
flat += 1
elif flat == 1:
break
self.debug(data_dic)
data_list = []
for key, value in data_dic.items():
# 拿到时间戳数据时转化为时间
if key == 'timestamp':
value = time.strftime("%Y-%m-%d %H:%M:%S", time.localtime(int(value) / 1000))
if key=='device_status':
status={
0:"正常",
1:"燃气泄漏报警",
2:"传感器故障",
3:"自检",
4:"失效"
}
value=status[value]
if type(value) == unicode:
# unicode转为str类型
value = value.encode('utf-8')
data_list.append(value)
print (data_list)
return tuple(data_list)
# 上传事件上报的数据
if 'private' in cfgtmp['param'] and cfgtmp['param']['private']=='gas_event':
#查询事件上报的数据
body_event = '{"productId":"' + self.NbproductId + '","deviceId":"' + self.NbdeviceId + '","startTime":"' + begin_timestamp + '","endTime":"' + end_timestamp + '","pageSize":' + page_size + ',"page_timestamp":"' + page_timestamp + '"}'
event_res = QueryDeviceEventList(self.Nbapplication, self.Nbkey, self.NbMasterKey, body_event)
self.debug(event_res)
event_data = json.loads(event_res)['result']['list']
# self.debug(event_data)
event_list = []
for i in event_data:
self.debug(i['eventContent'])
if 'gas_sensor_state' in i['eventContent']:
for key, value in eval(i['eventContent']).items():
if key=="gas_sensor_state":
status={
0:"正常",
1:"低浓度报警",
2:"高浓度"
}
value=status[value]
event_list.append(value)
event_time = time.strftime("%Y-%m-%d %H:%M:%S", time.localtime(int(i['createTime']) / 1000))
event_list.append(event_time)
self.debug(event_list)
break
return tuple(event_list)
return ()
except Exception,e:
self.debug(u'数据上传失败'+e.message)
def Event_setData(self, dataId, value):
return json.dumps({'code': 0, 'msg': '', 'data': ''})
最后
以上就是甜美小霸王最近收集整理的关于IOTOS物联中台开发驱动支持NB-IoT气体感应报警器设备前言驱动目的适用范围使用示例 驱动代码驱动解析的全部内容,更多相关IOTOS物联中台开发驱动支持NB-IoT气体感应报警器设备前言驱动目内容请搜索靠谱客的其他文章。
本图文内容来源于网友提供,作为学习参考使用,或来自网络收集整理,版权属于原作者所有。
发表评论 取消回复