AES类时微软MSDN中最常用的加密类,微软官网也有例子,参考链接:https://docs.microsoft.com/zh-cn/dotnet/api/system.security.cryptography.aes?view=netframework-4.8
但是这个例子并不好用,限制太多,通用性差,实际使用中,我遇到的更多情况需要是这样:
1、输入一个字节数组,经AES加密后,直接输出加密后的字节数组。
2、输入一个加密后的字节数组,经AES解密后,直接输出原字节数组。
对于我这个十八流业余爱好者来说,AES我是以用为主的,所以具体的AES是怎么运算的,我其实并不关心,我更关心的是AES的处理流程。结果恰恰这一方面,网上的信息差强人意,看了网上不少的帖子,但感觉都没有说完整说透,而且很多帖子有错误。
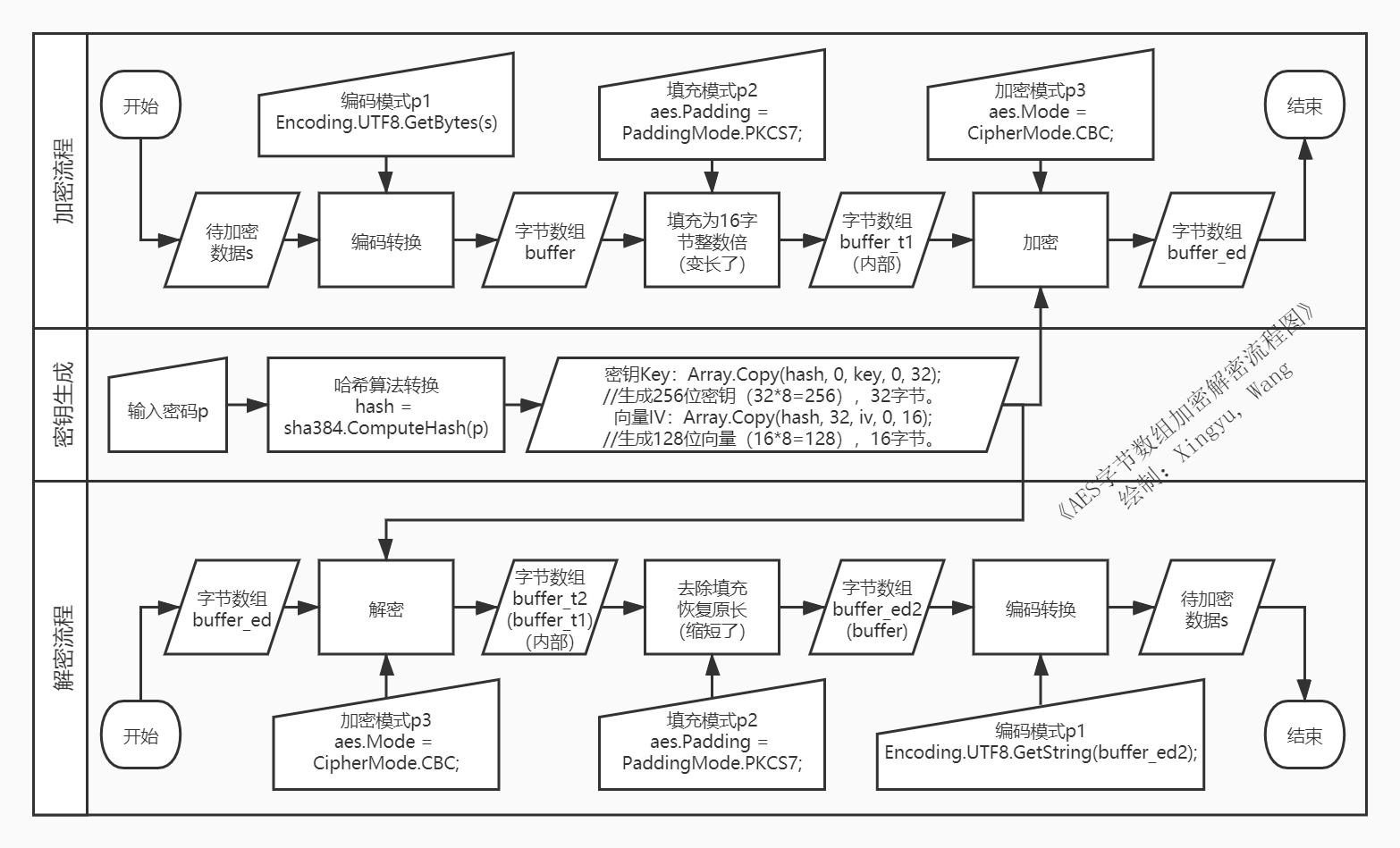
因此,我自己绘制了一张此种方式下的流程图:

按照此流程图进行了核心代码的编写,验证方法AesCoreSingleTest既是依照此流程的产物,实例化类AesCoreSingle后调用此方法即可验证。
至于类中的异步方法EnOrDecryptFileAsync,则是专门用于文件加解密的处理,此异步方法参考自《C# 6.0学习笔记》(周家安 著)最后的示例,这本书写得真棒。
using System;
using System.Collections.Generic;
using System.IO;
using System.Linq;
using System.Security.Cryptography;
using System.Text;
using System.Threading;
using System.Threading.Tasks;
using System.Windows;
namespace AesSingleFile
{
class AesCoreSingle
{
/// <summary>
/// 使用用户口令,生成符合AES标准的key和iv。
/// </summary>
/// <param name="password">用户输入的口令</param>
/// <returns>返回包含密钥和向量的元组</returns>
private (byte[] Key, byte[] IV) GenerateKeyAndIV(string password)
{
byte[] key = new byte[32];
byte[] iv = new byte[16];
byte[] hash = default;
if (string.IsNullOrWhiteSpace(password))
throw new ArgumentException("必须输入口令!");
using (SHA384 sha = SHA384.Create())
{
byte[] buffer = Encoding.UTF8.GetBytes(password);
hash = sha.ComputeHash(buffer);
}
//用SHA384的原因:生成的384位哈希值正好被分成两段使用。(32+16)*8=384。
Array.Copy(hash, 0, key, 0, 32);//生成256位密钥(32*8=256)
Array.Copy(hash, 32, iv, 0, 16);//生成128位向量(16*8=128)
return (Key: key, IV: iv);
}
public byte[] EncryptByte(byte[] buffer, string password)
{
byte[] encrypted;
using (Aes aes = Aes.Create())
{
//设定密钥和向量
(aes.Key, aes.IV) = GenerateKeyAndIV(password);
//设定运算模式和填充模式
aes.Mode = CipherMode.CBC;//默认
aes.Padding = PaddingMode.PKCS7;//默认
//创建加密器对象(加解密方法不同处仅仅这一句话)
var encryptor = aes.CreateEncryptor(aes.Key, aes.IV);
using (MemoryStream msEncrypt = new MemoryStream())
{
using (CryptoStream csEncrypt = new CryptoStream(msEncrypt, encryptor, CryptoStreamMode.Write))//选择Write模式
{
csEncrypt.Write(buffer, 0, buffer.Length);//对原数组加密并写入流中
csEncrypt.FlushFinalBlock();//使用Write模式需要此句,但Read模式必须要有。
encrypted = msEncrypt.ToArray();//从流中写入数组(加密之后,数组变长,详见方法AesCoreSingleTest内容)
}
}
}
return encrypted;
}
public byte[] DecryptByte(byte[] buffer, string password)
{
byte[] decrypted;
using (Aes aes = Aes.Create())
{
//设定密钥和向量
(aes.Key, aes.IV) = GenerateKeyAndIV(password);
//设定运算模式和填充模式
aes.Mode = CipherMode.CBC;//默认
aes.Padding = PaddingMode.PKCS7;//默认
//创建解密器对象(加解密方法不同处仅仅这一句话)
var decryptor = aes.CreateDecryptor(aes.Key, aes.IV);
using (MemoryStream msDecrypt = new MemoryStream(buffer))
{
using (CryptoStream csDecrypt = new CryptoStream(msDecrypt, decryptor, CryptoStreamMode.Read))//选择Read模式
{
byte[] buffer_T = new byte[buffer.Length];/*--s1:创建临时数组,用于包含可用字节+无用字节--*/
int i = csDecrypt.Read(buffer_T, 0, buffer.Length);/*--s2:对加密数组进行解密,并通过i确定实际多少字节可用--*/
//csDecrypt.FlushFinalBlock();//使用Read模式不能有此句,但write模式必须要有。
decrypted = new byte[i];/*--s3:创建只容纳可用字节的数组--*/
Array.Copy(buffer_T, 0, decrypted, 0, i);/*--s4:从bufferT拷贝出可用字节到decrypted--*/
}
}
return decrypted;
}
}
public byte[] EnOrDecryptByte(byte[] buffer, string password, ActionDirection direction)
{
if (buffer == null)
throw new ArgumentNullException("buffer为空");
if (password == null || password == "")
throw new ArgumentNullException("password为空");
if (direction == ActionDirection.EnCrypt)
return EncryptByte(buffer, password);
else
return DecryptByte(buffer, password);
}
public enum ActionDirection//该枚举说明是加密还是解密
{
EnCrypt,//加密
DeCrypt//解密
}
public static void AesCoreSingleTest(string s_in, string password)//验证加密解密模块正确性方法
{
byte[] buffer = Encoding.UTF8.GetBytes(s_in);
AesCoreSingle aesCore = new AesCoreSingle();
byte[] buffer_ed = aesCore.EncryptByte(buffer, password);
byte[] buffer_ed2 = aesCore.DecryptByte(buffer_ed, password);
string s = Encoding.UTF8.GetString(buffer_ed2);
string s2 = "下列字符串n" + s + 'n' + $"原buffer长度 → {buffer.Length}, 加密后buffer_ed长度 → {buffer_ed.Length}, 解密后buffer_ed2长度 → {buffer_ed2.Length}";
MessageBox.Show(s2);
/* 字符串在加密前后的变化(默认CipherMode.CBC运算模式, PaddingMode.PKCS7填充模式)
* 1、如果数组长度为16的倍数,则加密后的数组长度=原长度+16
如对于下列字符串
D:UserDocumentsAdministrator - DOpus Config - 2020-06-301.ocb
使用UTF8编码转化为字节数组后,
原buffer → 64, 加密后buffer_ed → 80, 解密后buffer_ed2 → 64
* 2、如果数组长度不为16的倍数,则加密后的数组长度=16倍数向上取整
如对于下列字符串
D:UserDocumentscc_20200630_113921.reg
使用UTF8编码转化为字节数组后
原buffer → 40, 加密后buffer_ed → 48, 解密后buffer_ed2 → 40
参考文献:
1-《AES补位填充PaddingMode.Zeros模式》http://blog.chinaunix.net/uid-29641438-id-5786927.html
2-《关于PKCS5Padding与PKCS7Padding的区别》https://www.cnblogs.com/midea0978/articles/1437257.html
3-《AES-128 ECB 加密有感》http://blog.sina.com.cn/s/blog_60cf051301015orf.html
*/
}
/***---声明CancellationTokenSource对象--***/
private CancellationTokenSource cts;//using System.Threading;引用
public Task EnOrDecryptFileAsync(Stream inStream, long inStream_Seek, Stream outStream, long outStream_Seek, string password, ActionDirection direction, IProgress<int> progress)
{
/***---实例化CancellationTokenSource对象--***/
cts?.Dispose();//cts为空,不动作,cts不为空,执行Dispose。
cts = new CancellationTokenSource();
Task mytask = new Task(
() =>
{
EnOrDecryptFile(inStream, inStream_Seek, outStream, outStream_Seek, password, direction, progress);
}, cts.Token, TaskCreationOptions.LongRunning);
mytask.Start();
return mytask;
}
public void EnOrDecryptFile(Stream inStream, long inStream_Seek, Stream outStream, long outStream_Seek, string password, ActionDirection direction, IProgress<int> progress)
{
if (inStream == null || outStream == null)
throw new ArgumentException("输入流与输出流是必须的");
//--调整流的位置(通常是为了避开文件头部分)
inStream.Seek(inStream_Seek, SeekOrigin.Begin);
outStream.Seek(outStream_Seek, SeekOrigin.Begin);
//用于记录处理进度
long total_Length = inStream.Length - inStream_Seek;
long totalread_Length = 0;
//初始化报告进度
progress.Report(0);
using (Aes aes = Aes.Create())
{
//设定密钥和向量
(aes.Key, aes.IV) = GenerateKeyAndIV(password);
//创建加密器解密器对象(加解密方法不同处仅仅这一句话)
ICryptoTransform cryptor;
if (direction == ActionDirection.EnCrypt)
cryptor = aes.CreateEncryptor(aes.Key, aes.IV);
else
cryptor = aes.CreateDecryptor(aes.Key, aes.IV);
using (CryptoStream cstream = new CryptoStream(outStream, cryptor, CryptoStreamMode.Write))
{
byte[] buffer = new byte[512 * 1024];//每次读取512kb的数据
int readLen = 0;
while ((readLen = inStream.Read(buffer, 0, buffer.Length)) != 0)
{
// 向加密流写入数据
cstream.Write(buffer, 0, readLen);
totalread_Length += readLen;
//汇报处理进度
if (progress != null)
{
long per = 100 * totalread_Length / total_Length;
progress.Report(Convert.ToInt32(per));
}
}
}
}
}
}
}
以上就是c# AES字节数组加密解密流程及代码实现的详细内容,更多关于c# AES字节数组加密解密的资料请关注靠谱客其它相关文章!
最后
以上就是愤怒时光最近收集整理的关于c# AES字节数组加密解密流程及代码实现的全部内容,更多相关c#内容请搜索靠谱客的其他文章。
本图文内容来源于网友提供,作为学习参考使用,或来自网络收集整理,版权属于原作者所有。
发表评论 取消回复