1.域名解析防护
域名解析防护是alidns为用户的DNS提供的高防功能,主要是针对大流量的DDOS攻击和DNSQuery查询攻击的高防护能力。Alidns可提供最高100G防护流量,百万Q/S服务,在面对大流量DDOS攻击或DNSquery查询攻击,可以让您的网站免受攻击带来的影响。
1) 登陆阿里云账号,进入【管理控制台】
2) 选择云解析DNS
3) 选择【VIP套餐列表】
4) 选择【解析设置】
5) 选择【安全防护】-【域名解析防护】
6) 如果域名解析遭受到攻击,会在如下区域有相应的提示
7) 您可以在此处查询到7天以内您的域名解析被攻击的情况
2.网站漏洞体检
网站漏洞体检,又称网站漏洞扫描,是云解析和云盾合作,提供对网站的SQL注入、xss跨站脚本等各项高危安全漏洞进行检测,并将检测报告提供给用户的服务。
网站漏洞扫描的必要性:
及时修复漏洞,可避免网站用户受到侵害:如通过XSS等漏洞可获取访问者的身份和密码进行身份盗用,使网站用户隐私信息被泄露。
及时修复漏洞,可避免网站受到侵害:如通过XSS等漏洞设置钓鱼、挂马或通过SQL注入获取网站控制权等危害,严重损害网站安全和信誉。
进入阿里云/万网【管理控制台】,选择要扫描的域名,进入【解析管理】,选择左侧菜单中的【安全防护】,找到【网站漏洞体检】,页面如下图所示:
3.高防IP
高防IP是云解析与云盾DDos高防IP业务合作的功能。
云盾DDoS高防IP是针对互联网服务器(包括阿里云及云外)在遭受大流量的DDoS攻击后导致服务不可用的情况下,推出的付费增值服务,用户可以通过配置高防IP,将攻击流量引流到高防IP,确保源站的稳定可靠。
入口
入口:域名解析 – 安全防护 – 高防IP
点击“高防IP”,跳转到云盾管理控制台的“高防IP”列表界面;
和云解析的关联
如果用户针对域名的源IP设置了高防IP,就可以在解析列表中看到高防IP的高亮图标:
4.安骑士
云解析与安骑士业务结合,为用户提供安骑士的相关功能。
操作入口
操作
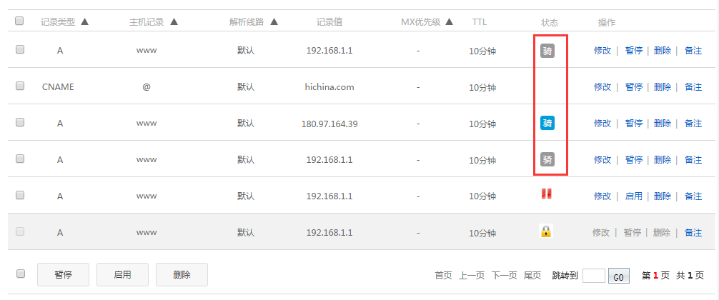
点击跳转到“云盾 – 安骑士 – 安全总览 – 域名IP”列表页面; 效果如下图所示:
针对单条A记录,如果未安装安骑士,显示安骑士未生效图标,如下图灰色图标。
针对单条A记录,如果已安装安骑士,显示安骑士已生效图标,如下图点亮图标。 
对于未安装安骑士的主机,点击图标后,跳转到如下页面:
最后
以上就是糟糕大山最近收集整理的关于阿里云服务器的一些常用安全优化方法整理的全部内容,更多相关阿里云服务器内容请搜索靠谱客的其他文章。
发表评论 取消回复