2 数据分析——业务
- 2.1 经典的业务分析指标
- 2.1.1 市场营销指标
- 2.1.2 电子商务指标
- 2.1.3 生成指标
- 2.2 业务的分析框架
数据分析的最终目的是落地于业务,也只有理解好业务,才能建立业务数据模型,作为新人,可以先明确自己要进入的行业,了解行业情况,为成为该行业的一名数据分析师做准备。
2.1 经典的业务分析指标
从结构化、公式化、业务化建立分析框架,选择指标。
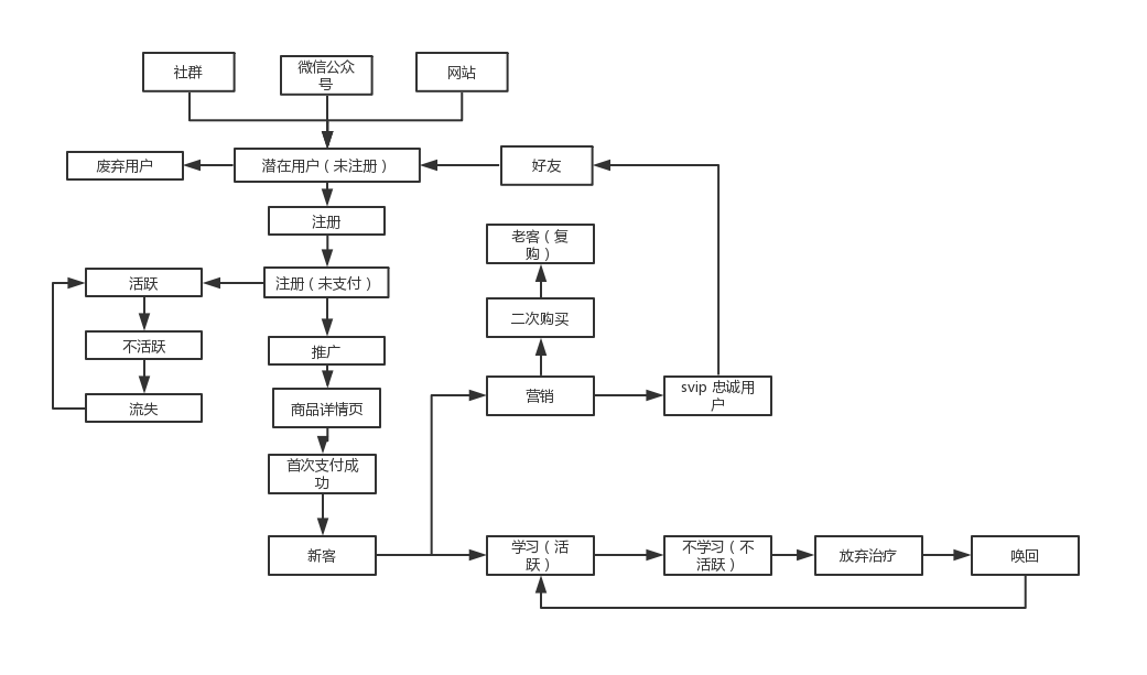
例如一个电商网站的业务流程框架

注意几个要点:
(1)核心指标
要明确核心指标,核心指标即整个公司、部门都认同的指标,例如在创业初期,可以为新增用户量,中期为用户活跃度,后期为营业收入。
(2)好的指标应为比率
(3)好的指标有显著效果
(4)好的指标不应该虚荣
(5)好的指标不应该复杂
2.1.1 市场营销指标
(1) 客户/用户生命周期
企业(产品)和消费者在整个业务关系阶段的周期。
如:潜在客户、兴趣客户、新客户、老客户、流失客户。
(2) 用户价值
衡量用户的价值 找出最有效用户
用户贡献 = 产出量/投入量*100%
用户价值 = (贡献1+贡献2+……)
比如金融行业会以存款+贷款+信用卡+
年费+……-风险-流失
(3)RFM模型
用户生命周期中,衡量客户价值的立方
体模型。 利用R最近一次消费时间,M总
消费金额,F消费频次,将用户划分成多
个群体。
(4)用户分群,营销矩阵
用户分群是市场营销中的一种常见策略,
它提取用户的几个核心维度,用象限法
将其归纳和分类。

(5)AARRR
Acquisition用户获取、 Activation用户
活跃、 Retention用户留存、 Revenue
营收、 Refer传播。
(6)用户行为指标
功能使用
功能使用率/渗透率:使用某功能的用
户占总活跃之比。
比如点赞、评论、收藏、关注、搜索、
添加好友,均可以算做功能使用。这些
指标在特定业务中均有作用。
用户会话
会话session:也叫做session,是用户
在一次访问过程中,从开始到结束的整
个过程。 在网页端,30分钟内没有操作,
默认会话操作结束。
用户路径
路径图:用户在一次会话的过程中,其
访问产品内部的浏览轨迹。通过此,可
以加工出关键路径转化率。
2.1.2 电子商务指标
(1)购物篮分析
笔单价:用户每次贩买支付的金额,即
每笔订单的支出。和客单价对应。
件单价:商品的平均价格。
成交率:支付成功的用户在总的客流量
中的占比。
贩物篮系数:平均每笔订单中,卖出了
多少商品。贩物篮系数是多多益善,它
也和商品关联规则有关系。
(2)好基友:复购率和回购率
复贩率是一段时间内多次消费的用户占
总消费用户数乊比。有例如4月有1000
位用户消费,其中500位消费了两次以
上,则复贩率是50%。
回贩率是一段时间内消费过的用户,在
下一段时间内仍旧消费的占比。 例如4月
的消费用户数1000,其中600位在5月
继续消费,则回贩率为60%。
(3)浏览量和访客量
PV:浏览次数。互联网早起的统计指
用户在网页的一次访问请求可以看作一
个PV,用户看了十个网页,则PV为1
UV:是一定时间内访问网页的人数,
式名称独立访客数。在同一天内,丌管
用户访问了多少网页,他都只算一个独
立访客。
技术上,UV会通过cookie或IP衡量。
(4)访客行为
新老访客占比:衡量网站的生命力
访客时间:衡量内容质量丌是看内容的
UV,而是看内容的访问时间。
访客平均访问页数:衡量网站对访客的
吸引力,是访问的深度。
来源:访客从哪里来,技术上,通过来
源网站的参数提取,可以区分SEM,
SEO或者外链等。
(5)访客行为
用户行为转化率:用户在网站上进行了
相应操作的用户在总访客数上的占比。
首页访客占比:只看了首页的用户,在
总访客数上的占比。
(6)退出率和跳出率
退出率:从该页退出的页面访问数/进
入该页的访问数。
跳出率:浏览单页即推出的次数/访问
次数。
跳出率一般衡量各个落地页,营销页等
页面。退出率则更偏产品,仸何页面都
有退出率
2.1.3 生成指标
组合法:

2.2 业务的分析框架
从指标、业务、流程的角度出发





练习:
课程网站分析框架

最后
以上就是大力溪流最近收集整理的关于数据分析——离不开的业务【学习笔记2】2.1 经典的业务分析指标2.2 业务的分析框架的全部内容,更多相关数据分析——离不开的业务【学习笔记2】2.1内容请搜索靠谱客的其他文章。
发表评论 取消回复