实验平台
阿里云服务器 debain系统
树莓派3
一.树莓派安装mjpeg-streamer
见树莓派安装mjpeg-streamer
二.阿里云服务器安装配置Apache2
安装Apache2
apt-get install apache2
加载模块
a2enmod proxy proxy_ajp proxy_balancer proxy_connect proxy_ftp proxy_http
编辑proxy配置文件
nano /etc/apache2/mods-enabled/proxy.conf
我配置后的文件如下

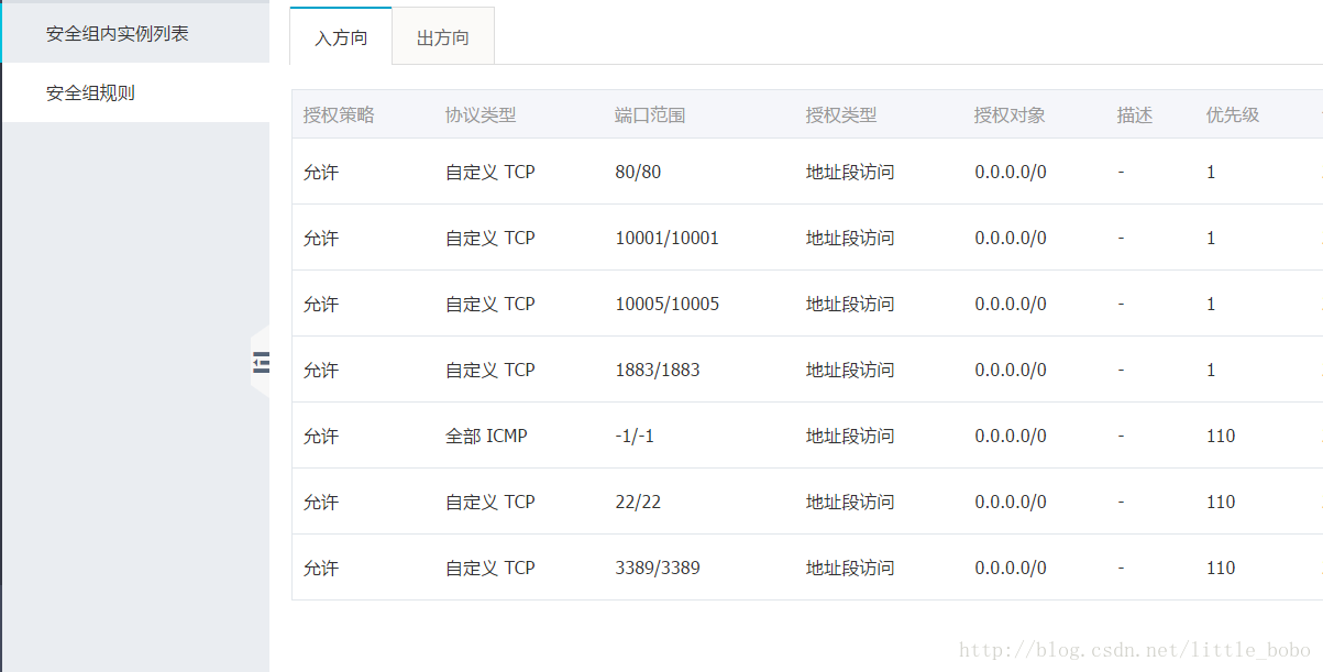
我开启的是服务器的10005端口,阿里云服务器的外部访问端口要自己开启

重新启动apache2
service apache2 restart
三.树莓派通过ssh反向隧道将mjpeg-streamer的8080端口代理到公网VPS
ssh -fN -R 10005:localhost:8080 自己的阿里云服务器用户名@服务器IP
例如 ssh -fN -R 10005:localhost:8080 root@120.78.152.5
随后要输入服务器的登录密码
开启树莓派 mjpeg-streamer服务
开启方法见树莓派安装mjpeg-streamer
谷歌浏览器输入http://你的服务器ip/proxy/?action=stream
随后可以看到图像
最后
以上就是沉默皮带最近收集整理的关于阿里云服务器+树莓派+mjpeg-streamer实现外网视频监控的全部内容,更多相关阿里云服务器+树莓派+mjpeg-streamer实现外网视频监控内容请搜索靠谱客的其他文章。
发表评论 取消回复