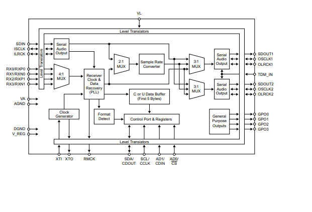
CS8416 封装/外壳 28-TSSOP(0.173",4.40mm 宽) 工作温度 -10°C ~ 70°C(TA) 功能 音频接收器 封装 28-TSSOP 通道数 8 规格 32kHz ~ 192kHz 电压-供电 3.3V ~ 5V 数字音频接口
CS4344 封装/外壳 10-TFSOP,10-MSOP(0.118",3.00mm 宽) 工作温度 -10°C ~ 70°C (位) 24 b 供电电压源 单电源 封装 10-TSSOP

采样率(每秒) 192k 通道数 2 电压-供电 3V ~ 3.47V,5V 类型 DAC,音频





CS5340封装/外壳 16-TSSOP(0.173",4.40mm 宽)数据接口 串行工作温度 -10°C ~ 70°C位24 b供电电压源 单电源,封装 16-TSSOP采样率(每秒) 192k
通道数 2电压-供电 3.1V ~ 5.25V类型 ADC,音频
最后
以上就是痴情乌冬面最近收集整理的关于CS8416硬件模式时可选择 S/PDIF 到 Tx 输入设置的全部内容,更多相关CS8416硬件模式时可选择内容请搜索靠谱客的其他文章。
本图文内容来源于网友提供,作为学习参考使用,或来自网络收集整理,版权属于原作者所有。
发表评论 取消回复