我是靠谱客的博主 优秀奇迹,这篇文章主要介绍 真的来了!首批科创板IPO受理企业名单出炉 ,现在分享给大家,希望可以做个参考。

最迟10月,或许就能看到第一批成功上市科创板的企业。

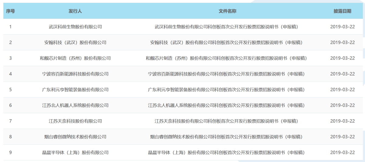
自证监会于本月月初凌晨发布科创板规则以来,已经过去了20天。在各方马不停蹄的紧张准备后,就在3月22日,上交所预披露了首批科创板IPO受理企业名单,具体包括:晶晨半导体、睿创微纳、天奈科技、江苏北人、利元亨、宁波容百、和舰芯片、安瀚科技、科前生物。

TB19p4bNzTpK1RjSZKPXXa3UpXa.png

20天短跑,科创板火速开闸

5天前,也就是3月18日,科创板“开闸”,上交所上线科创板股票发行上市审核信息披露系统。这意味着,券商可以通过科创板电子申报系统递交企业IPO材料,而所有通过审核系统提交的文件,也将被视为正式的科创板股票发行上市审核文件。

根据规定,发行人向上交所提出发行上市申请后,上交所在收到申请文件后5个工作日内作出是否予以受理的决定。22日,上交所已经在科创板股票发行上市审核信息披露网站上公布了9家企业的相关信息。

此次公布的9家企业中,计算机、通信和其他电子设备制造业有4家,为晶晨半导体、睿创微纳、宁波容百、和舰芯片;专用设备制造业3家,包括安瀚科技、江苏北人、利元亨;化学原料和化学制品制造业有1家,为天奈科技;以及医药制造业行业的武汉科前生物。

从地域分布来看,江苏省的企业最多,数量是三家;其次是湖北的两家,浙江、广东、山东以及上海各有一家。

总的来看,首批受理的企业主要还是偏向于传统的制造业,以AI主导的新技术公司并没有在列。不过,随着相关系统和规定的成熟,后续必然有当前比较热门的AI企业进入到科创板IPO受理名单中。

在此次预披露的前一天,上交所也公布了第一届科创板股票上市委员会、科技创新咨询委员会委员候选人名单,候选人数量均为48人。

据悉,上市委将参与科创板股票发行上市审核工作,侧重于对上交所审核机构出具的审核报告和发行人的申请文件提出审议意见。从名单的构成来看,证监会派出机构4名,行业协会3名,高校4名,保险资管机构3名,公募基金5名,上市公司4名,律师事务所11名,会计师事务所11名,上交所3人。

TB1ex7.NhTpK1RjSZFMXXbG_VXa.jpg

科技创新咨询委员会将侧重于为科创板建设以及发行上市审核提供专业咨询和政策建议。候选成员包括百度、中星微、药明康德的企业高管,清华大学、复旦大学等高校的教授,以及相关行业资深投资专家、科研院所专家学者等。

TB1lcxBNxnaK1RjSZFtXXbC2VXa.jpg

各方全力备战科创板

回顾科创板上市规定发布以来的历程,证监会、交易所、券商等都在全方位地备战科创板。

TB1a8Q_NmzqK1RjSZFjXXblCFXa.png

证监会公布了科创板上市申请文件、科创板公司招股说明书、科创板创新试点红筹企业财务报告信息在内的新规。值得注意的是,红筹企业在境内公开发行股票或存托凭证,应在发行上市安排中明确会计年度期间,一经确定、不得随意变更。未以公历年度作为会计年度的,应提供充分理由并予以披露。

另一方面,上交所则在这期间内发布了上市推荐指引,明确指出,保荐机构应该基于科创板定位推荐企业在科创板发行上市。之后,又对外解释了科创板投资者50万资产和2年交易经验门槛的具体规定。同期,上交所也一直在改造、调整、以及测试最新的上市审核系统。

随着第一批申请科创板IPO企业名单的公布,之后一段时间科创板的节奏必然越来越快,根据审核机制和流程,最迟10月,或许就能看到第一批成功上市科创板的企业。

最后

以上就是优秀奇迹最近收集整理的关于 真的来了!首批科创板IPO受理企业名单出炉 的全部内容,更多相关 内容请搜索靠谱客的其他文章。

本图文内容来源于网友提供,作为学习参考使用,或来自网络收集整理,版权属于原作者所有。
点赞(209)

评论列表共有 0 条评论

立即
投稿
返回
顶部