分享一下我老师大神的人工智能教程!零基础,通俗易懂!http://blog.csdn.net/jiangjunshow
也欢迎大家转载本篇文章。分享知识,造福人民,实现我们中华民族伟大复兴!
返回:贺老师课程教学链接 项目要求
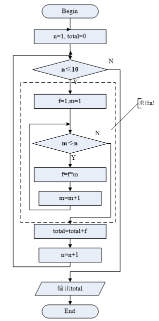
循环的嵌套流程图
(1)求s=1!+2!+……10!,即求1到10的阶乘和
[参考解答]
或者: 
(2)求s=1+2^2+3^3+4^4+5^5+6^6,要求n^n不能用求幂的运算直接计算(n^n表示n的n次方)
[参考解答]

给我老师的人工智能教程打call!http://blog.csdn.net/jiangjunshow
最后
以上就是难过短靴最近收集整理的关于C语言及程序设计 实践参考 循环的嵌套流程图的全部内容,更多相关C语言及程序设计内容请搜索靠谱客的其他文章。
本图文内容来源于网友提供,作为学习参考使用,或来自网络收集整理,版权属于原作者所有。
发表评论 取消回复