标准是物联网发展的基本要素,特别是工业设备。这一点在无线连接中尤为明显,它位于网络的核心位置,并且与电池电量有关。虽然在2.4 GHz频段(如ZigBee和潜在的蓝牙)中有一些全球标准,但它们在无线节点的功耗方面仍然存在挑战,主要是由于使用的协议更侧重于数据连接。虽然这些技术已经为拥有有线电源的系统提供了动力,但在获取能源方面,尤其是在工业应用领域,已经有了一些进展,而且这些协议可能过于耗电。
在拥有数千或数万个电池供电的无线节点的工业网络中,更换电池是网络运行的主要操作成本和风险。电池的改变必须被安排,以确保节点不会失败,重要的数据不会被错过。由于这些网络连接到互联网,数据被输入到云中进行分析和监测,这种可靠性甚至更为重要。
因此,像EnOcean这样的组织开发了他们自己的无线协议,这些协议通常基于小的数据电报,使用少量的电力可以从室内照明、热差异或设备本身的振动中清除。即使可用的能源不够稳定,使用能量回收来给电池充电,也可以极大地延长无线节点的电池寿命,从而提高技术的接受度,并使工业物联网(IIoT)得以实现。
EnOcean的EDK350开发工具包如图1所示,包括一个程序设计人员/演示板和USB 300 USB网关连接到PC,以控制TCM 320收发模块和STM 300传感器模块。它还包括一个太阳能温度传感器,按钮发射器,机械能发电机,和发射机模块,以显示所有的元件,一个自供电网络。
EnOcean EDK350开发工具包的图像。

图1:EDK350开发工具包包含了使用EnOcean的超低功耗协议构建一个自供电网络所需的所有元素。
然而,全球标准如ZigBee和EnOcean的能源优化协议之间存在不匹配。虽然ZigBee有超过10个硅供应商为系统设计者提供无线节点和网关的选择,但是EnOcean联盟仍然依赖于一个公司,EnOcean,作为基础收发器,尽管协议是作为国际ISO/IEC 14543-1x标准的一部分而开放的。这限制了设计师们想要利用工业无线网络获取能量的选择。
最新版本的ZigBee, 3.0版本,现在的目标是将两种方法的优点结合起来,创建一个开放的、全球的规范,将能量收集无线通信扩展到更广泛的自驱动物联网传感器解决方案。
图3.0无线个域网

图2:ZigBee 3.0的目标是为工业互联网的可互操作协议打下基础,这些协议可以利用能源收获。
3.0无线个域网的目标是提供一个统一的物联网标准,简化了产品开发,同时减少行业分散,尤其是对工业网络,通过提供规范不仅在应用程序和协议层,但现在在物理层(图2)。与EnOcean联盟的协议是一个重要的第一步,沿着这条路走的两组将联合开发一个规范的无线个域网3.0生态系统互操作的自供电的物联网解决方案。
这将使第一个统一、开放和完整的无线物联网产品开发解决方案能够从物理层扩展到应用程序网络层,并包括认证和品牌,以改善日益增长的市场领域的互操作性。
ZigBee 3.0定义的互操作性将允许来自不同供应商的自供电设备成为即插即用,大大增加了数量机会,从而降低了基础组件的成本,包括当前的ZigBee硅控制器和收发器(参见图3和图4)。
我们面临的挑战是,在全球现有的2.4 GHz频段中使用EnOcean telegram方法,该频段已经用于高容量的消费者应用,如Wi-Fi,允许无电池的设备安全地连接各种能量采集应用的网络。
这两家公司将根据这一全球标准,为全球能源收集无线解决方案制定技术规范,使海洋联盟的1500名成员能够在目前的亚吉赫兹网络以外的地方获得应用,用于住宅和商业建筑自动化。
ZigBee联盟和EnOcean联盟的一个技术工作组正在定义将标准化的EnOcean设备配置文件(EEPs)与ZigBee 3.0协议结合在2.4 GHz IEEE 802.15.4标准中的技术规范,并计划在2016年第二季度完成对规范的定义。
这两种协议层的支持只是简化工业物联网产品开发的几个步骤中的第一步,而可编程的、灵活的硅控制器是这一举措的核心。能够使用现有2.4 GHz收发器的超低功耗的EnOcean协议,打开了大量现有的控制器,以进一步降低功耗,使设备能够使用能量采集。
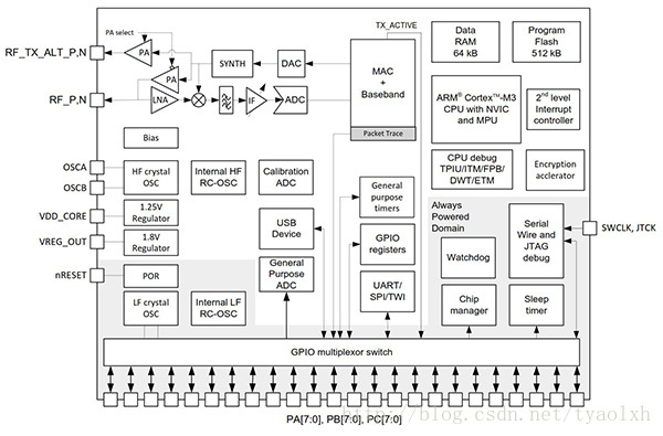
NXP的KW40Z是一种超低功耗、高度集成的单片机,用于802.15.4 RF连通性。如图3所示,它集成了一个在2.36 GHz到2.48 GHz范围内的无线电收发器,支持一系列FSK/GFSK,可以支持EnOcean协议以及在802.15.4-2011中定义的O-QPSK调制。
NXP半导体的KW40Z图。

图3:NXP的KW40Z是一个高度集成的ZigBee控制器和超低功耗设计的收发器。
该设备可以作为黑盒调制解调器使用,将802.15.4的连接添加到现有的嵌入式控制器系统中,或者作为独立的智能无线传感器使用嵌入式应用程序,无需主机控制器。NXP提供了完全认证的协议栈和应用程序配置文件,以支持KW40Z,而ZigBee合作伙伴正在使用ZigBee 3.0版本,该版本在控制器上作为固件实现。flash和SRAM内存可用于使用NXP或第三方软件开发工具的应用程序和通信协议。
通过在M0+ CPU核心的代码执行效率和设备的多个低功耗运行模式,已经实现了长时间的电池寿命,这使得核心能够快速地唤醒发送一份电报(1毫秒)并再次关闭。这将进一步降低海洋能源收获模式的动力。
一个集成的DC-DC转换器可以使一个大范围的操作范围从0.9 V到4.2 V,这使得该设备可以从一个单一的硬币电池电池运行,并且在其整个有用的电压范围(0.9 V到1.795 V)中大幅降低峰值Rx和Tx电流消耗。此功能可扩展为能量收集操作。
来自硅实验室的Ember EM358x是ZigBee的另一个完全集成系统芯片,它使用802.15.4-2003兼容的收发器和更强大的ARM Cortex-M3微处理器。
来自硅实验室的EM358x图。

图4:来自硅实验室的EM358x集成了一个Cortex-M3处理器内核来处理ZigBee协议。
如图4所示,收发器使用了一种有效的架构,超过了IEEE 802.15.4-2003标准所规定的动态范围,超过了15分贝,而集成的接收通道过滤允许在2.4 GHz频段中与其他通信标准进行鲁棒共存。综合调节器,VCO,回路滤波器,功率放大器保持外部元件低。
为了维护ZigBee标准对时间的严格要求,EM358x集成了许多MAC功能,AES128加密加速器和自动CRC处理到硬件,所有这些都将用于聚合ZigBee 3.0实现。MAC硬件处理自动的ACK传输和接收,自动退关延迟,以及清晰的传输通道评估,以及收到的数据包的自动过滤。高频内部RC振荡器开始允许处理器核心代码执行快醒来的时候尽量减少后,和各种深度睡眠模式可用小于2µA功耗,同时保留内存的内容。
这是ZigBee的经验,加上低功耗的处理器,比如32位的EFM32JG Jade Gecko和硅实验室的8位控制器的能量采集设计,这些都为ZigBee 3.0系统提供了一个强大的平台。
结论
ZigBee和EnOcean联盟承诺提供一个全球生态系统的超低功耗设备,以优化能源收获。使用ZigBee芯片合作伙伴的硅技术来添加EnOcean低功率协议,意味着现有的硬件将很容易升级到新的ZigBee 3.0标准,当技术规范达成一致时。这将使工业互联网上的无线传感器节点能够自行供电或使用能源收获,从而极大地延长可充电电池的使用寿命,从而降低网络的开发成本和运营成本。
最后
以上就是呆萌板栗最近收集整理的关于ZigBee和EnOcean联盟是如何将能量收集向前推进的?的全部内容,更多相关ZigBee和EnOcean联盟是如何将能量收集向前推进内容请搜索靠谱客的其他文章。
发表评论 取消回复