WIFI信道接入流程
WIFI信标网络信道接入机制的CSMA-CA算法(帧对齐)

WIFI非信标网络信道接入机制的CSMA-CA算法(无帧结构)

LAA标准化相关TR和TS:
- TR 36.889
LAA初步研究项目。本报告规定了每个地区非授权频段的监管要求、LAA运营商聚合可行性研究、LAA部署方案、设计目标和功能,以及最终的共存评估和结果。 - TR 36.789
规定了多节点共存的评佔方法。本技术报告解释了如何进行涉及两个3GPP R13 LAA eNBs或一个3GPP R13 LAA eNB和一个其他无线系统(如IEEE 802.11系统)的多节点测试。以确保两个系统可以在同一非授权频谱中共存。 - TS 36.300
给出了演进通用地面无线接入和演进通用地面无线接入网络版本的总体描述,其中定义了LAA的无线电运营方面。 - TS 36.211
第4章定义了一种新的帧结构类型3,适用于具有正常循环前缀的LAA Scell运营。 - TS 36.104
规定了不同运营频带中成分载波的载波聚合。第9章介绍了LAA的信道接入参数。 - TS 36.141
第9章规定了eNB的LBT一致性测试程序。一致性测试用于验证与LAA运营相关的正常运营条件下的能量检测阈值、最大信道占用时间和最小空闲时间的准确性。 - TS 36.133
规定了支持帧结构3下的LAA无线资源管理的要求。 - TS 36.213
第15章定义了LAA的信道接入程序和LBT机制。
LBT简介
信道接入机制需要遵守管制规定,需要适应不同的频率范围。在NR-U的设计中,LBT基本单位为20MHz。同时NR-U根据不同情况支持不同类型和等级的LBT。一般来说,设备通过能量检测(ED)来判断信道是否空闲。下面将基于LAA进行介绍,参考TS 36.213 s15。
LBT类型
NR-U采用了3种LBT方式。
CAT1 LBT
发送设备不进行LBT,直接传输数据。
CAT2 LBT
无随机退避的LBT机制。
-
对于FBE
采用固定时长的帧,包括信道占用时间和空闲时间。在要进行数据传输之前进行CCA,如果信道空闲,则在随后的信道占用时间进行数据传输,否则在整个帧周期内都无法传输数据。

-
对于LBE,进行一次LBT
在要进行数据传输之前进行CCA,如果信道空闲,则在随后的信道占用时间进行数据传输,否则无法传输数据。

CAT4 LBT
发送设备进行竞争窗口可调的LBT。

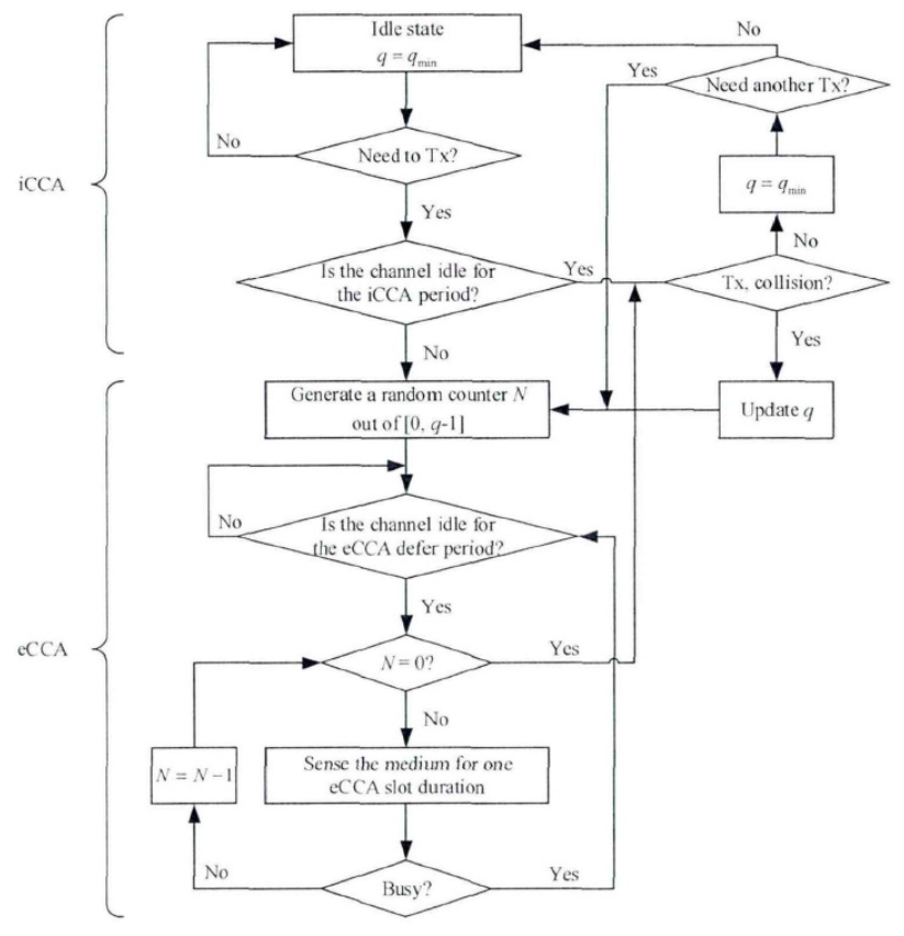
接入流程图:(其中q为竞争窗长度)

接入流程:
若在初始空闲信道检测(Initial Clear Channel Assessment, ICCA)时间内,信道一直处于空闲状态,可以直接进行数据传输。若检测到信道繁忙,则进入退避过程。退避流程如下:
- 节点需要在[0~CW-1]间隔内随机产生一个整数值N用作计时器值,该计时器为实际退避时长。
- 若检查到信道空闲一个eCCA推迟时间,节点会继续执行另一个持续时间为eCCA时隙的CCA过程
– 若检测到信道空闲
计时器值减1,节点会执行另一个持续时间为eCCA时隙的CCA过程。直到计时器归零时,节点就可以进行数据传输。过程中若检测到信道繁忙,同下。
– 若检测到信道繁忙
计时器暂停,保留当前的值。直到检查到信道空闲一个eCCA推迟时间,节点会继续执行另一个持续时间为eCCA时隙的CCA过程,计时器将从保留的值开始继续计时。 - 若数据传输结束后还有数据要传,可直接进入退避过程(Step 1、2)。
竞争窗口(CW)调整:
目的: 针对Tx碰撞和隐藏节点问题(LBT成功但数据传输失败),增加竞争窗口长度。
原则: 根据反馈结果
– 若NACK占全部HARQ反馈的80%以上,则增加竞争窗口长度;
– 若成功传输,则重置竞争窗口长度为CWmin。
LBT优先级
LBT优先级反映了将要传输的信号/信道的重要性。一般来说,设备在发起COT时会采用CAT 4 LBT,数据传输时会根据所传数据确定LBT优先级,其他信号/信道传输会采用最高优先级。在COT共享的情况下,共享设备所传数据的优先级不能低于被共享COT的优先级。

多载波信道接入流程
Type-A
LAA节点需要在每条载波上执行Cat-4 LBT流程。
- Type-A1:每个载波采用各自的退避值N。
- Type-A2:所有载波采用统一的退避值N,对应取值范围采用载波集中竞争窗口最长的值。
Type-B
LAA节点需要在一条载波上执行Cat-4 LBT流程,而在其他所有剩余的载波上执行Cat-2 LBT流程,如图所示。LAA在每次传输数据之前随机选择或固定选择某个非授权载波并执行Cat-4 LBT流程。并在Cat-4 LBT竞争成功前至少25us,在剩余载波上执行Cat-2 LBT流程。全部载波采用的能量检测阈值均相同。
- Type-B1:为所有载波维护一个竞争窗口。
- Type-B2:为每个载波维护一个竞争窗口,在进行Cat-4 LBT时采用载波集中竞争窗口最长的值。

信道接入方式
基站发起COT
对LBE,gNB发起的COT所应用的LBT机制如下表:

NOTE:
除多载波LBT可能采用Cat2的情况,以下两种情况不会采用Cat4以外的LBT方式:
- DRS与单播复用
- DRS以外的PDCCH 和/或 PDSCH传输
UE发起COT
UE发起的COT采用的LBT如下表:

NOTE:除多载波LBT可能采用Cat2的情况,以下三种UE发起的COT不会采用Cat2的LBT方式,同时已讨论通过可以采用Cat4 LBT。
- PUSCH
- SRS-only
- PUCCH-only
- 随机接入过程发起的COT
注:
- 同一COT内包含多种信号/信道时,采用其中最低等级的优先级和信道接入分类。
- 在Cat1 LBT之后,UE的最大传输持续时间限制为584微秒。
- 若UE发起的COT中,仅在PUSCH上传输UCI,则UE采用最高优先级的Cat4接入。
最后
以上就是贪玩舞蹈最近收集整理的关于LTE-LAA中的LBT详解WIFI信道接入流程LAA标准化相关TR和TS:LBT简介的全部内容,更多相关LTE-LAA中内容请搜索靠谱客的其他文章。
发表评论 取消回复