电容式传感器
1 电容传感器定义
电容传感器是指将被测量(如尺寸、压力等)的变化转换成电容量变化的一种传感器。电容器是由两块金属电极之间夹一层绝缘电介质构成。当在两金属电极间加上电压时,电极上就会存储电荷,所以电容器是储能元件。
2 电容传感器原理

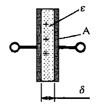
两个平行极板组成的电容器,如果不考虑边缘效应,其电容量为:
C
=
ε
0
ε
A
δ
C={frac{varepsilon_0varepsilon A}{delta}}
C=δε0εA
式中,
ε
0
=
8.85
×
1
0
12
F
/
m
varepsilon_0= 8.85×10^{12}F/m
ε0=8.85×1012F/m;
ε
varepsilon
ε 为极板间介质的相对介电常数,当介质为空气时
ε
0
=
1
varepsilon_0=1
ε0=1 ;
A
A
A 为基板面积;
δ
delta
δ 为极板间距离。
3 电容传感器分类
3.1 变极距型电容式传感器

当动极板因被测量变化而向上下移动时,将改变两个极板之间的间距
δ
delta
δ ,从而引起电容量变化。若极板覆盖面积为
A
A
A ,初始间隙为
δ
delta
δ 介电常数为
ε
varepsilon
ε ,则初始电容量为:
C
0
=
ε
A
δ
0
C_0={frac{varepsilon A}{delta_0}}
C0=δ0εA
当动极板向下运动
Δ
δ
Deltadelta
Δδ 的时候,极板间的距离
δ
=
δ
0
−
Δ
δ
delta=delta_0-Deltadelta
δ=δ0−Δδ 。


由上式可见:灵敏度与间隙的平方成反比,间隙大,灵敏度低;需要注意,灵敏度高带来的问题,就是非线性会增大。
- 当变极距型电容器构成差动结构时,不仅其灵敏度提高了一倍,而且线性度误差也将大大减小。因此,变极距电容传感器的灵敏度高,被测部件作为动极板可实现非接触测量,可用于小位移及压力的测量。
3.2 变面积型电容式传感器

-
面积变化式电容传感器灵敏度S 为一个常数,也就是说输出与输入成线性关系(忽略边缘效应)。但与变极距型相比,其灵敏度较低,适用于较大的角位移及直线位移的测量。
-
变极距型和变面积型电容式传感器可以采用差动结构形式来提高静态灵敏度,一般提高一倍。
3.3 变介质型电容式传感器
通过改变电容器介质来改变电容量是一种行之有效的测量方法。电容量 C C C 取决于介电常数 ε 0 varepsilon_{0} ε0 及介质厚度 a 2 a_2 a2 ,因此当这两个参数中的一个为已知的时候,可通过公式来确定另一个:
-
测量电介质厚度:

- 测量材料如:纸,塑料膜,合成纤维等(非金属)
-
测量电介质位置:

-
测量电介质液位:

-
测量电介质温度、湿度

例如粮食水分的检测。
4 测量电路
所示的是一个典型的电容式拾音器的测量电路与输出电压波形。拾音器硬件部分由电容拾音传感器及配套电路组成,。其中,电容式拾音传感器的基本结构,由背极、内腔、毛细孔、振膜、阻尼孔及绝缘体组成,其作用是将声波造成的空气压强变化转换为拾音器电容量的变化,从而使检测电路中电阻 R R R 上的电压 e t e_t et 发生改变,这样就把声波信号转换成电压信号。

5 电容式传感器实例
5.1 电容式压力传感器
膜片3与镀在球形玻璃表面的金属层2形成一个差动电容。在压差 Δ P = P 1 − P 2 ΔP = P_1 - P_2 ΔP=P1−P2 作用下,膜片向压力小的方向移动,引起差动电容量 C C C 的变化,电容 C C C 与压差 Δ P ΔP ΔP 成比例。它适用于测液(气)体微压差。

5.2 电容式转速传感器
电容式转速传感器的工作原理如下图所示。当定极板与齿顶相对时,电容量最大,而当与齿隙相对时,电容量最小。齿轮转动时,电容传感器产生周期信号,经测试电路转换为脉冲信号,用频率计显示齿轮转速。

5.3 音频检测
电容式传感器在音频检测领域有着广泛的应用,下图为几种典型的电容式传感器实物图片,其中图(a)所示的是电容式传声器,图(b)所示的是驻极电容式拾音器。

最后
以上就是自由荷花最近收集整理的关于传感器与检测技术基础知识(5)—— 电容式传感器电容式传感器的全部内容,更多相关传感器与检测技术基础知识(5)——内容请搜索靠谱客的其他文章。
发表评论 取消回复