Java 基础语法中的逻辑控制
一、逻辑控制语句
1. 顺序结构
像我们写的代码,执行时会按照从上到下一行一行的执行。这z就是顺序结构,不同的顺序,结果可能就不一样。如
System.out.println(1) System.out.println(2) System.out.println(3)
该代码结果为 1(换行)2(换行)3,但是如果把顺序改变结果就变了
System.out.println(2) System.out.println(3) System.out.println(1)
该代码结果就变为 2(换行)3(换行)1
2. 分支结构
2.1 if 语句
和 C 语言一样,在 Java 中 if 语句也有三种基本的形式
形式一
if(布尔表达式){ // 条件满足时执行的代码 }形式二
if(布尔表达式){ // 条件满足时执行的代码 }else{ // 条件不满足时执行的代码 }形式三
if(布尔表达式1){ // 条件1满足时执行的代码 }else if(布尔表达式2){ // 条件2满足时执行的代码 }else{ // 条件都不满足时执行的代码 }
但是从形式上我们就可以看出还是有一些不同的
- 条件表达式必须是布尔值,不能像 C 语言一样直接使用一个数值,
如:
int a = 10; if(a){ System.out.println(a); }这种代码就是错的,条件必须是布尔值
int a = 10; if(a > 0){ System.out.println(a); }
这种代码就是正确的
- 代码风格问题,比如我写 C 语言时喜欢把一对大括号并列在行首。但是在 java 中更推荐上述三种形式那样的风格,将 { 放在 if 或 else 同一行
- 还要注意悬垂 else 问题,记住 else 是与 最接近的 if 匹配。
如:
int a = 2; if(a>0) if(a>10) System.out.println("a > 10"); else System.out.println("a > 0 && a <= 10");我们要知道,最下面的 else 是与与它最近的 if 匹配的
2.2 switch 语句
Java 中的 switch 语句和 C 语言中的几乎一样,大家如果不太熟悉 switch 以及该章所讲解的一些逻辑结构可以去看看我写的 C语言三大语句注意事项 。但是既然不是完全一样,那哪里有区别呢?
在 Java 中,switch(表达式) 中的表达式是有类型限制的。
它只能使用:整数(只包括 byte、short、int)、字符(char)、字符串(String)、枚举类型
3. 循环结构
3.1 while 循环
舒服,Java 的 while 循环和 C 语言也是极其类似,只有一个小的差异
while (表达式) 中的表达式必须是布尔值
3.2 break
break 的功能是:让最靠近包裹它的整个循环提前结束。这也是和 C 语言是一样的
3.3 continue
continue 的功能是:跳过本次循环,立即进入下次循环。这也是和 C 语言是一样的
3.4 for 循环
Java 中的 for 循环和 C 语言中的也很类似,只有一个差异
for(表达式1;表达式2;表达式3) 中的表达式2是循环的判断条件,要使用布尔值
3.5 do while 循环
Java 中的 do while 循环也是和 C 语言很类似,只有一个差异
while 中的循环条件只能是布尔值
但是一般不推荐使用,因为它至少会执行一次循环,不注意可能会犯错
二、输入输出方式
1. 输出到控制台
基本语法:
System.out.println(msg); // 输出一个字符串,自带换行 System.out.print(msg); // 输出一个字符串,不带换行 System.out.printf(format,msg); // 格式化输出,括号内内容类似于 C 语言的 printf
代码示例
int a = 10;
System.out.println(a); // 输出 a,自带换行
System.out.print(a); // 输出 a,不带换行
System.out.printf("%dn",a); // 格式化输出,括号内内容类似于 C 语言的 printf
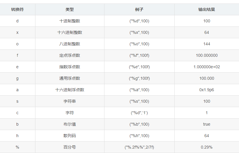
格式化输出表(随用随查)

2. 从键盘输入
读入一个字符(不推荐使用)
直接使用
System.in.read()可以读入一个字符,但是需要搭配异常处理。如果不搭配异常,如下面代码就会编译出错public static void main(String[] args) { System.out.print("Enter a char:"); char i = (char)System.in.read(); System.out.println("The char is :" + i); }我们需要将鼠标放到 read 上面,再按住
Alt + Enter键就会出现
再点击第一个或者第二个就不会报错了。这里其实是处理了异常,但是一个简单的读入字符就要这么复杂所以不推荐使用。
使用 Scanner 读取字符/字符串/整数/浮点数/布尔值
- 首先需要导入 util 包
import java.util.Scanner; ,在 IDEA 中,其可以通过输入 Scanner 后直接回车快速导入- 然后再构造一个 Scanner 对象并与”标准输入流“ System.in 关联:
Scanner 对象名 = new Scanner(System.in);- 再就可以通过 Scanner 类的各种方法实现输入操作了
import java.util.Scanner; public class TestDemo { public static void main(String[] args) { Scanner in = new Scanner(System.in); int a = in.nextInt(); //读入一个整数 double b = in.nextDouble(); //读入一个浮点数 boolean c = in.nextBoolean(); //读入一个布尔值 String s = in.next(); //读入一个字符串 } }但是要注意,上述读入字符串是按空白符当作分隔符的,故只能读入第一个空格之前的字符。如果想要读取该行的所有字符(包含空格),应该使用
String s = in.nextLine();但是使用这个方法还是有很大的缺陷,如果这行代码上面还有其他读入的语句,可能这行代码就不会实行。因为上一行的回车可能被它读入,直接这行结束。因此,只能将其放在读入代码的第一个或者在它前面加一个
in.nextLine();来读取掉之前的回车。
我们知道在 C 语言中可以写类似于这样的代码输入多组数据
int a;
while(scanf("%d",&a) != EOF)
{
// 内容
}
在 C++ 中我们也可以写类似于这样的代码输入多组数据
int a;
while(cin>>a)
{
// 内容
}
那么在 Java 中怎么做呢?代码如下
Scanner in = new Scanner(System.in);
while(in.hasNextInt()){
int a = in.nextInt();
// 内容
}
并且在 IDEA 上我们可以手动输入 Ctrl + D 结束,在 Windows 的 cmd 上 我们手动输入 Ctrl + Z 结束,在 Linux 或 Mac 上,输入 Ctrl + D 结束
三、猜数字游戏
学 C 语言的时候我们可能都接触过随机数的生成,或者直接写一个猜随机数的游戏。那么使用 Java 该怎么写呢?
首先我们要知道在 Java 中随机数是怎么生成的。
- 首先需要导入 util 包
import java.util.Random;,在 IDEA 中,其可以通过输入 Random 后直接回车快速导入- 然后通过 Random 类中的方法生成我们想要的,
如:
import java.util.Random; public class TestDemo { public static void main(String[] args) { Random random = new random(); // 默认随机种子是系统时间 int rand = random.nextInt(bound:100) + 1; // random.nextInt(bound:100) 是生成[0,100)间的随机整数 } }
接下来就是很简单了,只要我们输入的数字与随机数字进行一下比较。直到判断正确再退出就可。
故最终的代码是
public class TestDemo {
public static void main(String[] args) {
Scanner scanner = new Scanner(System.in);
Random random = new Random();
int rand = random.nextInt(100) + 1;
while (true){
System.out.print("请输入你所猜测的数字:");
int num = scanner.nextInt();
if(num == rand){
System.out.println("恭喜你,猜对了!");
break;
}else if(num < rand){
System.out.println("很遗憾,你猜的数字小了!");
}else{
System.out.println("很遗憾,你猜的数字大了!");
}
}
}
}
四、总结
这章讲了 Java 的逻辑控制结构,包含了顺序结构、顺序结构和分支结构。还讲了 Java 的输入输出方式。并在最后用 Java 程序写了一个简单的猜数字游戏。我们可以发现,很多都是和 C 语言类似的,这也降低了我们学习的难度。
到此这篇关于Java 基础语法中的逻辑控制的文章就介绍到这了,更多相关Java 逻辑控制内容请搜索靠谱客以前的文章或继续浏览下面的相关文章希望大家以后多多支持靠谱客!
最后
以上就是顺心毛豆最近收集整理的关于Java 基础语法中的逻辑控制的全部内容,更多相关Java内容请搜索靠谱客的其他文章。

发表评论 取消回复