
本教程操作环境:linux7.3系统、Dell G3电脑。
linux判断网络是百兆还是千兆
使用ethtool命令。
ethtool命令用于查询和控制网络设备驱动程序和硬件设置,尤其是有线以太网设备,devname网卡的名称。网卡就像是交换机的一个端口,正常使用我们只是配置网卡IP地址等信息,网卡的速率、双工模式等我们并不关心。
通过ethtool命令我们可以像配置交换机网卡一样配置这些参数,这就是这个命令的魅力所在。
语法如下:
ethtool [参数] [参数值] 网卡名称
登录后复制ethtool是linux下用于查询及设置网卡参数的命令。
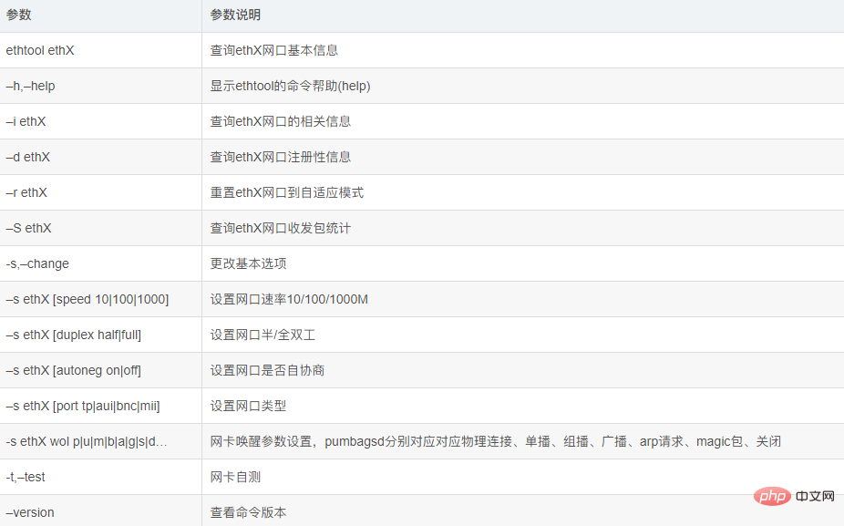
参数说明
ethtool的参数有很多,下面只列举主要和常用的进行介绍,更多的详细说明可以通过–help帮助获取。另外虽然ethtool命令支持的功能很多,有些参数命令是需要网卡支持的。

示例如下:

举例:
[root@hvrhub
~]#
ethtool
eth0
settings
for
eth0:
supported
ports:
[
tp
mii
]
supported
link
modes:
10baset/half
10baset/full
100baset/half
100baset/full
supports
auto-negotiation:
yes
advertised
link
modes:
10baset/half
10baset/full
100baset/half
100baset/full
advertised
auto-negotiation:
yes
speed:
100mb/s
------------------------------------>网卡速度
duplex:
full
port:
mii
phyad:
0
transceiver:
internal
auto-negotiation:
on
supports
wake-on:
pumbg
wake-on:
g
current
message
level:
0x00000033
(51)
link
detected:
yes
登录后复制推荐学习:Linux视频教程
以上就是linux怎么判断网络是百兆还是千兆的详细内容,更多请关注靠谱客其它相关文章!

最后
以上就是潇洒宝马最近收集整理的关于linux怎么判断网络是百兆还是千兆的全部内容,更多相关linux怎么判断网络是百兆还是千兆内容请搜索靠谱客的其他文章。
本图文内容来源于网友提供,作为学习参考使用,或来自网络收集整理,版权属于原作者所有。
发表评论 取消回复