公司的FastDFS配置在阿里云ESC的服务器上,忽然发现一个很严重的问题就是tracker_server=公网ip:22122竟然启动失败
寻找啦很久才找到的解决方案,所以记录一下
修改storage.conf的配置
tracker_server=公网IP:22122
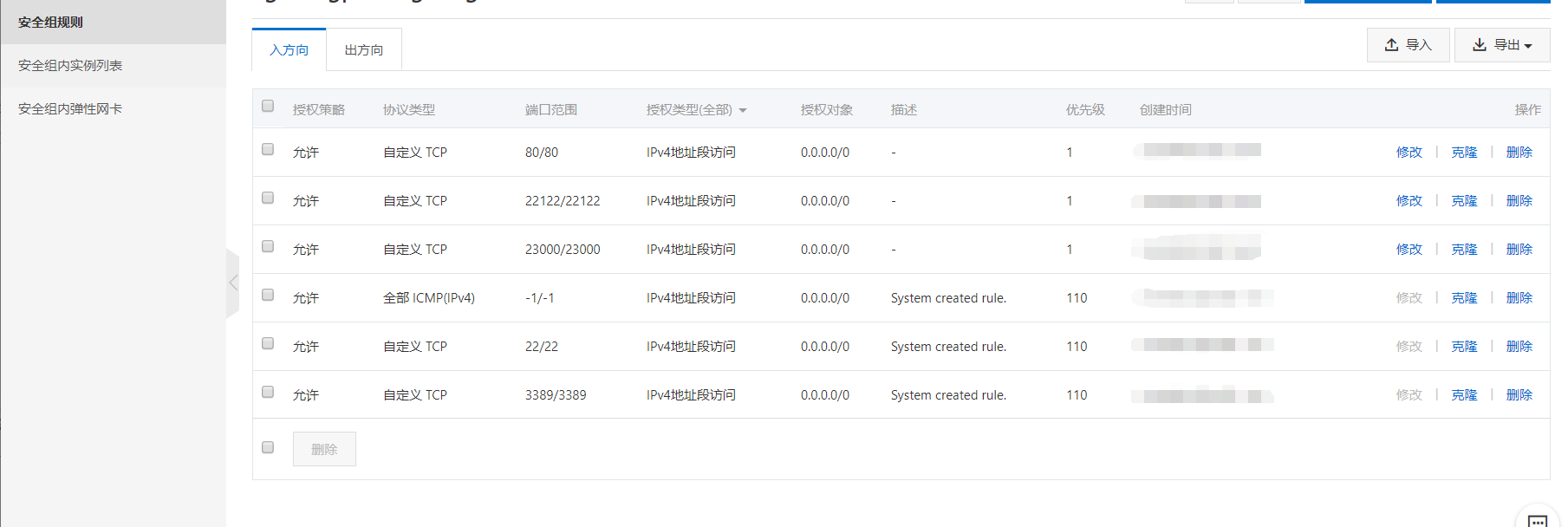
firewall-cmd --permanent --zone=public --add-port=23000/tcp
firewall-cmd --permanent --zone=public --add-port=80/tcp
在阿里云配置端口开放

最后
以上就是昏睡流沙最近收集整理的关于FastDFS公网不能连接客户端的困扰解决方案的全部内容,更多相关FastDFS公网不能连接客户端内容请搜索靠谱客的其他文章。
本图文内容来源于网友提供,作为学习参考使用,或来自网络收集整理,版权属于原作者所有。
发表评论 取消回复