写在文章之前:现在Nginx已经成为很多公司作为前端反向代理(proxy pass)服务器的首选,在实际工作中往往会遇到很多跳转(重写URL)的需求。
比如:更换域名后需要保持旧的域名能跳转到新的域名上、某网页发生改变需要跳转到新的页面、网站防盗链等等需求。如果在后端使用的 Apache服务器,虽然也能做跳转,规则库也很强大,但是用Nginx跳转效率会更高
一、Rewrite的介绍
和apache等web服务软件一样,rewrite的组要功能是实现RUL地址的重定向。Nginx的rewrite功能需要PCRE软件的支持,即通过perl兼容正则表达式语句进行规则匹配的。默认参数编译nginx就会支持rewrite的模块,但是也必须要PCRE的支持
rewrite是实现URL重写的关键指令,根据regex(正则表达式)部分内容,重定向到replacement,结尾是flag标记。
二、rewrite在企业里的应用场景

三、nginx rewrite 基础知识
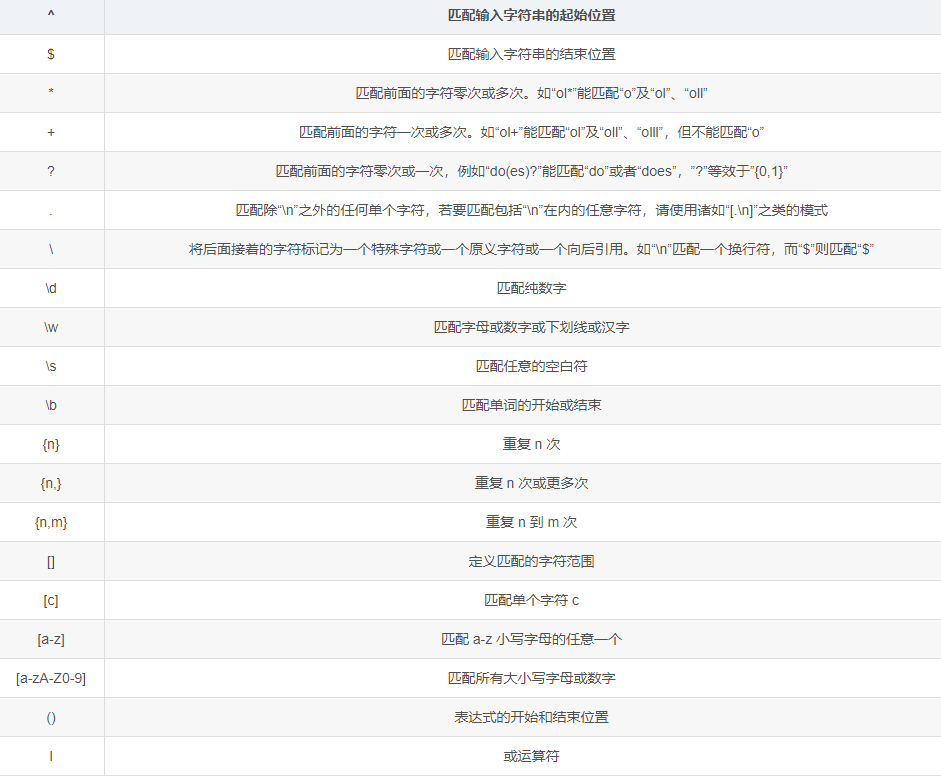
3.1 nginx里常用的正则表达式元字符

3.2 rewrite基本用法
语法:rewrite regex replacement [flag];
PS:
<regex>:匹配正则
<replacement>:跳转后的内容
[flag]:rewrite支持的flag标记
flag标志位:
last : 相当于Apache的[L]标记,表示完成rewrite
break : 停止执行当前虚拟主机的后续rewrite指令集
redirect : 返回302临时重定向,地址栏会显示跳转后的地址
permanent : 返回301永久重定向,地址栏会显示跳转后的地址
last与break的区别:
last: 适用场景,一般写在server和if中
URL匹配,不终止重写后的url匹配
break: 适用场景,一般使用再location中
URL匹配, 终止重写后的url、匹配
3.3 rewrite执行顺序
①执行server块里面的rewrite指令。
②执行选定的location中的rewrite指令。
③执行选定的location中 if 中的rewrite指令
四、location跳转
4.1 location跳转分类

4.2 location常用的匹配规则

4.3 location匹配优先级
首先精确匹配 =
其次前缀匹配 ^~
##匹配到后不再往下匹配##
其次是按文件中顺序的正则匹配 ~或~*
然后匹配不带任何修饰的前缀匹配
最后是交给 / 通用匹配
示例:
(1)location = / {}
=为精确匹配 / ,主机名后面不能带任何字符串,比如访问 / 和 /data,则 / 匹配,/data 不匹配
再比如 location = /abc,则只匹配/abc ,/abc/或 /abcd不匹配。若 location /abc,则即匹配/abc 、/abcd/ 同时也匹配 /abc/。
(2)location / {}
因为所有的地址都以 / 开头,所以这条规则将匹配到所有请求 比如访问 / 和 /data, 则 / 匹配, /data 也匹配,
但若后面是正则表达式会和最长字符串优先匹配(最长匹配)
(3)location /documents/ {}
匹配任何以 /documents/ 开头的地址,匹配符合以后,还要继续往下搜索其它 location
只有其它 location后面的正则表达式没有匹配到时,才会采用这一条
(4)location /documents/abc {}
匹配任何以 /documents/abc 开头的地址,匹配符合以后,还要继续往下搜索其它 location
只有其它 location后面的正则表达式没有匹配到时,才会采用这一条
(5)location ^~ /images/ {}
匹配任何以 /images/ 开头的地址,匹配符合以后,停止往下搜索正则,采用这一条
(6)location ~* .(gif|jpg|jpeg)$ {}
匹配所有以 gif、jpg或jpeg 结尾的请求
然而,所有请求 /images/ 下的图片会被 location ^~ /images/ 处理,因为 ^~ 的优先级更高,所以到达不了这一条正则
(7)location /images/abc {}
最长字符匹配到 /images/abc,优先级最低,继续往下搜索其它 location,会发现 ^~ 和 ~ 存在
(8)location ~ /images/abc {}
匹配以/images/abc 开头的,优先级次之,只有去掉 location ^~ /images/ 才会采用这一条
(9)location /images/abc/1.html {}
匹配/images/abc/1.html 文件,如果和正则 ~ /images/abc/1.html 相比,正则优先级更高
location优先级总结:
(location =) > (location 完整路径) > (location ^~ 路径) > (location ~,~* 正则顺序) > (location 部分起始路径) > (location /)
4.4 实际网站使用中,至少有三个匹配规则定义
第一个必选规则
直接匹配网站根,通过域名访问网站首页比较频繁,使用这个会加速处理,比如说官网。
这里是直接转发给后端应用服务器了,也可以是一个静态首页
location = / {
proxy_pass http://tomcat_server/;
}
第二个必选规则
处理静态文件请求,这是nginx作为http服务器的强项
有两种配置模式,目录匹配或后缀匹配,任选其一或搭配使用
location ^~ /static/ {
root /webroot/static/;
}
location ~* .(html|gif|jpg|jpeg|png|css|js|ico)$ {
root /webroot/res/;
}
第三个必选规则
比如用来转发带.php、.jsp后缀的动态请求到后端应用服务器
非静态文件请求就默认是动态请求
location / {
proxy_pass http://tomcat_server;
}
五、具体操作
5.1 基于域名的跳转
[root@server ~]# systemctl stop firewalld
[root@server ~]# systemctl disable firewalld
[root@server ~]# setenforce 0
[root@server ~]# systemctl status firewalld
● firewalld.service - firewalld - dynamic firewall daemon
Loaded: loaded (/usr/lib/systemd/system/firewalld.service; disabled; vendor preset: enabled)
Active: inactive (dead)
Docs: man:firewalld(1)
[root@server ~]# vim /etc/resolv.conf
nameserver 114.114.114.114
[root@server ~]#
[root@server ~]# vim /etc/hosts
192.168.152.130 www.1.com www.2.com
[root@server ~]# mkdir -p /var/log/nginx/
[root@server ~]# vim /usr/local/nginx/conf/nginx.conf
#gzip on;
server {
listen 80;
server_name www.1.com;
#域名修改
charset utf-8;
access_log /var/log/nginx/www.1.com-access.log;
#取消注释,开启并对日志保存路径进行修改
location / {
#在原有location位置添加内容
if ($host ='www.1.com') {
rewrite^/(.*)$ http:// www.2.com/$1 permanent;
}
root html;
index index.html index.htm;
}
[root@server ~]# nginx -t
nginx: the configuration file /usr/local/nginx/conf/nginx.conf syntax is ok
nginx: configuration file /usr/local/nginx/conf/nginx.conf test is successful
[root@server ~]#
[root@server ~]#
[root@server ~]# systemctl restart nginx
访问www.1.com自动跳转www.2.com


5.2 基于IP地址的跳转
[root@server ~]# vim /usr/local/nginx/conf/nginx.conf
#gzip on;
server {
listen 80;
server_name www.1.com;
charset utf-8;
access_log /var/log/nginx/www.1.com-access.log;
set $rewrite true;
if ($remote_addr = "192.168.152.130") {
set $rewrite false;
}
if ($rewrite = true){
rewrite (.+) /weihu.html;
}
location = /weihu.html {
root /var/www/html;
}
location / {
root html;
index index.html index.htm;
}
#error_page 404 /404.html;
error_page 500 502 503 504 /50x.html;
location = /50x.html {
root html;
}
}
[root@server ~]# mkdir -p /var/www/html
[root@server ~]# echo '<h1> this is weihu web! </h1>' > /var/www/html/weihu.html
[root@server ~]#
[root@server ~]# nginx -t
nginx: the configuration file /usr/local/nginx/conf/nginx.conf syntax is ok
nginx: configuration file /usr/local/nginx/conf/nginx.conf test is successful
[root@server ~]# systemctl restart nginx


5.3 基于旧域名跳转到新域名后面加目录
[root@server ~]# mkdir -p /usr/local/nginx/html/bbs/post
[root@server ~]# echo "<h1> this is 1.html </h1>" >> /usr/local/nginx/html/bbs/post/1.html
[root@server ~]#
[root@server ~]# echo "192.168.152.130 bbs.1.com" >> /etc/hosts
[root@server ~]# vim /etc/hosts
127.0.0.1 localhost server localhost4 localhost4.localdomain4
::1 localhost localhost.localdomain localhost6 localhost6.localdomain6
192.168.152.130 bbs.1.com www.1.com www.2.com
[root@server ~]# vim /usr/local/nginx/conf/nginx.conf
#gzip on;
server {
listen 80;
server_name bbs.1.com;
charset utf-8;
access_log /var/log/nginx/www.1.com-access.log;
location /post {
rewrite (.+) http://www.1.com/bbs$1 permanent;
}
location / {
root html;
index index.html index.htm;
}


5.4 基于参数匹配(多余的)的跳转
[root@server html]# vim /usr/local/nginx/conf/nginx.conf
server {
listen 80;
server_name www.1.com;
charset utf-8;
access_log /var/log/nginx/www.1.com-access.log;
if ($request_uri ~ ^/100-(100|200)-(d+).html$) {
rewrite (.*) http://www.1.com permanent;
}
location / {
root html;
index index.html index.htm;
}


5.5 基于目录下所有php结尾的文件跳转
[root@server ~]# vim /usr/local/nginx/conf/nginx.conf
#gzip on;
server {
listen 80;
server_name www.1.com;
charset utf-8;
access_log /var/log/nginx/www.1.com-access.log;
location ~* /upload/.*.php$ {
rewrite (.+) http://www.1.com permanent;
}
location / {
root html;
index index.html index.htm;
}
[root@server ~]# nginx -t
[root@server ~]# systemctl restart nginx


5.6 基于最普通一条url请求的跳转
[root@server ~]# vim /usr/local/nginx/conf/nginx.conf
#gzip on;
server {
listen 80;
server_name www.1.com;
charset utf-8;
access_log /var/log/nginx/www.1.com-access.log;
location ~* /abc/123.html {
rewrite (.+) http://www.1.com permanent;
}
location / {
root html;
index index.html index.htm;
}
[root@server ~]# nginx -t
[root@server ~]# systemctl restart nginx


最后
以上就是顺利微笑最近收集整理的关于小葵花妈妈课堂之Nginx Rewirte一、Rewrite的介绍二、rewrite在企业里的应用场景三、nginx rewrite 基础知识四、location跳转五、具体操作的全部内容,更多相关小葵花妈妈课堂之Nginx内容请搜索靠谱客的其他文章。
发表评论 取消回复